[11] Методы Выращивания Кристаллов В Электронной Технике (987513), страница 15
Текст из файла (страница 15)
11.1.3.5. Гидротермальный синтез кристаллов методом температурного перепада
Из существующих разновидностей гидротермального синтеза для выращивания лазерных монокристаллов используются: метод температурного перепада и метод "метастабильной фазы". Выращивание монокристаллов по первому методу производится следующим образом (рис. 11.1.3.5): исходный материал (шихту) помещают в нижнюю часть автоклава, заполняемого на 50-70% водой вместе с минерализаторами типа Na2ОН, Na2CO3 , КОН и К2СО3. Давление в автоклаве создается за счет расширения водяного пара. В верхней части автоклава подвешиваются один или несколько затравочных кристаллов. Между нижней и верхней частью автоклава помещается перегородка с отверстиями, которая в конечном счете препятствует быстрому выравниванию температуры между верхней и нижней частью, т. е. сохраняет температурный градиент и создает определенным образом направленный конвективный поток.
Р
ис. 11.1.3.4. Индивидуальная печь сопротивления: 1 - корпус печи: 2 - местонахождение термопар, 3 - нагреватель, 4 - автоклав, 5 - термоизоляционная засыпка
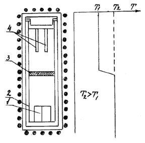
Герметически закрытый автоклав помещается в двухзонную печь так, чтобы нижняя часть его была нагрета до температуры 360 -550°С, а температура верхней меньше на 20 - 50°. В этих условиях в нижней части образуется насыщенный раствор, находящийся в контакте с исходными материалами. Путем конвекции вещество переносится в верхнюю часть автоклава к затравке, где при более низкой температуре раствор становится перенасыщенным. Избыток растворенного вещества осаждается на затравочных кристаллах. Обедненный раствор возвращается к нерастворенному холодному материалу в нижнюю часть автоклава и цикл повторяется.
П
о существу речь идет о транспортных реакциях, при которых введенный в систему минерализатор является составной частью транспортирующего агента. Перенос вещества, как правило, происходит с участием химических реакций. Одним из основных условий переноса является градиент концентраций, создаваемый температурным градиентом по длине автоклава.
Рис. 11.1.3.5. Схема выращивания монокристаллов гидротермальным методом:1 - исходный материал, 2 - автоклав, 3 - перегородка с отверстиями, 4 - затравочные кристаллы
Рост кристаллов при методе температурного перепада определяется, с одной стороны, молекулярно-кинетическими и физико-химическими процессами на границе раздела растущий кристалл - раствор, а с другой - явлениями, протекающими в объеме внешней по отношению к этой границе среды. Объемные процессы включают растворение вещества и перенос его в растворенном состоянии к кристаллической поверхности. Поступление вещества к растущему кристаллу обеспечивается конвекционным движением раствора и последующей диффузией вещества непосредственно к кристаллическим граням. Диффузия часто играет важную роль при росте кристаллов из многокомпонентных систем. Диффундирующий к растущей кристаллической грани материал может быть усвоен ею или отторгнут. Растущая поверхность служит оттоком для компонента, образующего кристалл. Процессы на границе раздела фаз включают элементарные акты роста кристаллов, поверхностную диффузию и физико-химические явления, обусловленные наличием раствора и взаимодействием его с поверхностью. Таким образом, у поверхности раздела возникает такой градиент концентрации, что с удалением от границы раздела концентрация возрастает для вещества, усваивающегося растущим кристаллом и убывает для отталкиваемых компонентов, не участвующих в построении кристалла.
Варьируя геометрию системы, можно подобрать такие условия, при которых влияние растворения на скорость роста перестает быть существенным. В ряде случаев для этого достаточно сильно увеличить площадь поверхности растворяющейся твердой фазы. Выращивание кристаллов методом температурного перепада связано с перемещением твердого вещества из "горячей" части автоклава в более "холодную". Это перемещение материала в автоклаве можно наблюдать в процессе опыта как перемещение массы, центра тяжести системы или объема твердой фазы. Таким образом, в специально оборудованных установках появляется возможность следить за кинетикой процесса перекристаллизации вещества, а следовательно, и управлять ею в течение опыта, варьируя, например, разность температур между зонами роста и растворения кристаллов.
11.1.3.6. Гидротермальный синтез кристаллов методов "метастабильной фазы"
Метод "метастабильной фазы" базируется на различии растворимостей двух фаз - фазы, которую нужно вырастить, и фазы, которая служит исходной шихтой. В качестве последней используют соединения (либо полиморфные модификации кристаллизуемого вещества), термодинамически неустойчивые в условиях эксперимента. В случае существования полиморфных модификаций растворимость метастабильной фазы всегда будет выше, чем у стабильной, последняя и будет кристаллизоваться за счет растворения метастабильной фазы. Этот метод обычно используют в комбинации с методом температурного перепада. Примером гидротермального выращивания кристаллов по методу метастабильной фазы может служить рост кристаллов корунда -Al2O3. В качестве шихты использовали гиббсит Al(OH)3затравками служили кристаллы -Al2O3. В этом случае растворимость метастабильной фазы выше, чем стабильной, а раствор, насыщенной AL3+ по отношению к Al2O3 и избыточный AL3+, обеспечивает рост кристаллов корунда.
Метод "метастабильной фазы" применяют обычно для выращивания соединений с очень низкой растворимостью.
Для гидротермального выращивания кристаллов необходимо:
1) подобрать растворитель, давление и температуру, при которых кристалл термодинамичеcки устойчив и достаточно растворим, чтобы получить нужные пересыщения, обеспечивающие заметные скорости роста, при этом должно быть конгруэнтное растворение кристаллизуемого вещества и предельно малое эародышеобразование на стенках или в объеме контейнера;
2) образование в растворе подвижных комплексов, легко разлагающихся при изменении температуры;
3) обеспечить достаточно большое отношение полной площади поверхности растворяемой шихты к полной площади поверхности затравок с тем, чтобы растворение не ограничивало скорости роста;
4) обеспечить значительную величину температурного коэффициента плотности раствора при его постоянной средней плотности, которая при соответствующем температурном переходе обеспечит такую величину конвекции раствора, что она не будет лимитировать скорость роста;
5) подобрать необходимую величину температурного коэффициента растворимости, которая при соответствующем температурном перепаде обеспечит получение нужных пересыщений;
6) проводить процесс роста в герметических и не поддающихся коррозии автоклавах, выдерживать повышенные температуры и давления. Конструкция автоклава должна быть удобной в обращении и безопасной в эксплуатации и простой в изготовлении.
Выращивание крупных монокристаллов желательно осуществлять путем непосредственной перекристаллизации шихты того же состава, что и требуемый кристалл. В условиях непрерывного равномерного поступления питательного раствора в зону роста, кристалл растет на затравку с определенной скоростью, постоянной для данных условий кристаллизации. Рассмотрим основные параметры, влияющие на скорость роста кристалла на затравку.
1. Кристаллографическая ориентация и форма затравки, причем желательно использовать затравки, полученные в условиях, соответствующие условиям их разращивания. С уменьшением размера затравочного кристалла ослабевает его влияние на качество выращиваемых кристаллов.
2. Величина пересыщения, температура, давление, природа и концентрация минерализатора.
3. Значение температурного коэффициента растворимости.
4. Отношение площади поверхности шихты к площади поверхности затравки.
5. Величина и расположение отверстий во внутренней перегородке автоклава.
6. Степень заполнения автоклава при комнатной температуре.
D=Vраств./Vсвоб. (11.1.3.4)
Где Vраств – объем раствора при комнатной температуре, Vсвоб.- свободный объем автоклава, т.е.
Vсвоб. =V0-Vi (11.1.3.5)
где V0 - внутренний объем автоклава, Vсвоб. - суммарный объем всех твердых материалов в автоклаве (затравки, рамки, перегородки, шихты и т.д.) Процент заполнения
f=100d (11.1.3.6)
7. Разность температур между зонами растворения и кристаллизации.
8. Расстояние между шихтой и растущим кристаллом. В гидротермальных процессах трудно подавить турбулентную конвекцию, так как для получения необходимого при росте пересыщения нужна достаточно большая разность температур между дном и верхней частью автоклава, которая и приводит к возникновению конвекционных потоков. Эта конвекция нерегулярна, хотя она убыстряет рост, но обычно, не способствует однородному росту. При выращивании кристаллов в гидротермальных условиях нас интересуют системы А-В-Н2О, где А - соединение, которое необходимо получить в виде монокристаллов, В - основной компонент растворителя (минерализатор). Многочисленные исследования и термодинамические расчеты показали, что чистая вода не может служить оптимальным транспортирующим агентом в условиях гидротермального синтеза, поскольку растворимость большинства тугоплавких соединений в воде мала и весьма незначительно повышается с ростом температуры (в ряде случаев понижается). Для увеличения растворимости необходимо вводить в систему минерализатор, образующий легко подвижные комплексные соединения с растворяемым веществом, играющие роль транспортирующего агента. Образование комплексов и их устойчивость зависят от состава системы, температуры, давления и ряда других факторов. Реакция минерализатора с растворяемым веществом должна быть обратимой.
Чтобы процесс выращивания монокристаллов в гидротермальных условиях проходил непрерывно во времени, необходим постоянный приток питательного вещества в зону роста в количестве, обеспечивающем определенную скорость роста на затравку
=K*(∆C m)/S (11.1.3.7)
где ∆C - пересыщение, m - массообмен между зонами Т1 и Т2 (рис. 11.1.3.5), S - площадь растущих граней, К - коэффициент пропорциональности
1/K=1/K0+1/Kp (11.1.3.8)
где K0- коэффициент диффузии, Кp - коэффициент скорости акта кристаллизации.
Если K0>>Kp, то уравнение (11.1.3.7) примет вид
=Kp*(∆C m)/S (11.1.3.9)
Скорость роста кристалла в зоне Т1 (рис. 11.1.3.5) будет лимитироваться скоростью поверхностных процессов (или химической реакцией на границе кристалл - раствор). Если K0<<Kp, уравнение (11.1.3.7) принимает вид
=K0*(∆C m)/S (11.1.3.10)
В этом случае скорость роста кристалла будет лимитировать диффузионные процессы.
Величина пересыщения в зоне роста, необходимая для получения качественного кристалла, зависит от свойств как растворителя, так и кристаллизуемого вещества и связана с возникновением центров кристаллизации в зоне роста, поверхностными явлениями на затравке, скорость конвекции и другими факторами,
Управляемое выращивание кристаллов, в гидротермальных условиях возможно, когда при взаимодействии кристаллизуемого вещества с растворителем обеспечивается выполнение следующих условий:
1) конгруэнтность растворения кристаллизуемого вещества;
2) высокое значение растворимости кристаллизуемого вещества, необходимое для роста кристалла с заметной скоростью;
3) достаточно резкое изменение растворимости кристаллизуемого соединения с изменением температуры или давления;
4) образование в растворе подвижных комплексов, легко разлагающихся при изменении температуры;
5) создание необходимого окислительно-восстановительного потенциала, обеспечивающего существование ионов в требуемой валентности.
Окислительный потенциал при температуре, отличной от комнатной (25°С), определяется выражением
E=E0+RT/(neF)*LnQ (11.1.3.11)
где Е - стандартный электродный потенциал, R - газовая постоянная, Т - абсолютная температура; F - изохорно-изотермический потенциал или свободная энергий; ne- число электронов, участвующих в реакции; Q- частное от деления произведения активностей продуктов реакции на произведение активностей реагентов (величина каждой активности возведена в степень, показатель которой равен коэффициенту соединения в данной реакции). Если раствор достаточно разбавлен, то в уравнении вместо активностей можно использовать концентрации компонентов. Значительное повышение температуры прежде всего сказывается на изменении соотношения активностей компонентов, что может привести к сильному изменению величины окислительно-восстановительного потенциала. Величина Е тесно связана с изменением рН раствора. Обычно с увеличением рН величина Е уменьшается. Конкретные условия выращивания лазерных кристаллов гидротермальным методом, приведены в табл. 11.1.3.1.
Таблица 11.1.3.1
Сводная таблица диэлектрических лазерных монокристаллов, синтезированных гидротермальным методом
| Вещество | Автоклав | Раствор, исходное вещество степень заполнения | Температура 0С град | Давление ат. | Продолжительность опыта(сутки) | Кристаллы |
| CaWO4 | А-гильза | NaCl,LiCl LiOH(60-70%) | 350-500 40-50 | 300-320 | 2 | Прозрачные, с превдооктаэдрическим габитусом, до 0,3-0,5 мм, более 20 г |
| CaWO4 | Pt-футеровка | LiCl, pH=6-7 (80-82%) | 380-450 (10-40) | 150-250 | 50 | >20г |
| CaWO4 | 2HNaOH | 500 | 2000 | 7 | 1мм полиэдрические, более 1мм с гранями (101),(103) | |
| CaWO4 | 10-14 м. LiCl | 350 | 1300 | 7 | до 1мм с гранями (101),(112),(103) | |
| LiNbO3 | Au-ампула | Раствор 3Li2O Nb2O5 | 500-600 | До 1000 | 60-90 | 1-3 мм |
| Al2O3 | Ag-футеровка | Гиббсит или корунд 1-2 моль NaOH или Na2CO3 (70-85) | 400-450 (30) эффективное отверстие 10% | >2040 | 30 | Затравки (Вернейль)-круглые диски , поверхность оси”c”, 0,05-0,25 мм/сутки спонтанно возникшие кристаллы обычно имеют (0001) и (1120), длина 10 мм в направление "с", 2 мм-в "а", увеличение, толщины 6 мм в направлении "с" и 7,5—в "а"; при добавке 100мг бихромата Na на 1 л раствора в кристалл встраивается около 1 масс% Cr2 окраска кр оваво-красная |
| Y3Al5O12 | Ti-футировка | Y2O3+Al2O3 раствор FeCl2+FeCl3+AlCl3 (40-60) | 550 | 2000 | 5-15 | Прозрачные, бесцветные, зелено-желтые и желтые, до 0,5 мм |
| Y3Al5O12 | Pt-капсула | Y2O3+Al2O3 8 моль K2CO3 | 500 | 1000 | 0,5 мм; при применении затравок роста 0,03 мм/сутки в направлении (100) | |
| Y3Ga5O12 | Au-ампула | Y2O3+Ga2O3 1 моль Na2CO3 | 360 | 1500 | До 2мм | |
| CaF2 | Pt или Ti-футировка | 21%LiCl (80-95) | 400 | 250-300 | 2,5 | Затравка: наросший слой 2,5 мм |
| CaF2 | 4HNH4Cl | 400-450 | 2000-2800 | Октаэдры, 1.5 мм |
















