Диффузия (987306), страница 11
Текст из файла (страница 11)
Дефекты упаковки на поверхности эпитаксиального слоя образуют плоские фигуры: равносторонние и равнобедренные треугольники, квадраты, прямые линии, незамкнутые треугольники и квадраты. Форма дефектов упаковки зависит от кристаллографической ориентации эпитаксиального слоя. Например, в слоях, которые выращены на подложках, ориентированных в плоскости (111), дефекты упаковки проявляются в виде равносторонних треугольников и отдельных углов. На слоях с ориентацией (110) возникают равнобедренные треугольники, на плоскости (100)—квадраты и их комбинации.
11.6.7. Выращивание эпитаксиальных пленок полупроводниковых соединений типа АIIIBV
Выращивание эпитаксиальных пленок соединений АIIIBV является одной из наиболее актуальных проблем технологии современной микроэлектроники. Решение этой задачи неразрывно связано с прогрессом в областях создания оптоэлектpoнныx систем, включающих полупроводниковые лазеры, приемники излучения, быстродействующие компьютеры и т. д.
Для получения эпитаксиальных слоев арсенида галлия из парогазовой смеси используют реакции с водородом газообразных хлоридов и гидридов:
4GaCl3+As4+6H2↔4GaAs+12HCJ;
2Ga+2HC1↔2GaClпap+H2;
3GaClnap+6AsCl3+3H2↔3GaAs+12HCl;
2Ga+2AsH3↔2GaAs+3H2.
Наряду с летучими соединениями мышьяка в систему может подаваться и ряд других соединений элементов, которые могут легировать образующиеся эпитаксиальные слои. В случае использования, например, гидрида фосфора, возможно получение пленок состава GaAs1-хРх,. В настоящее время предпринимаются интенсивные усилия для реализации гетероэпитаксиальных структур, т. е. использования иных, нежели арсенид галлия GaAs, подложек, что особенно важно для получения оптоэлектронных интегральных схем. Для получения легированных пленок n-типа в качестве доноров применяют серу или теллур, для р-типа.—пары цинка. Сера или теллур вводятся в систему в виде сернистого водорода и диэтилтеллура. Обычно для каждого вида газообразного агента имеется ввод в реактор.
Д
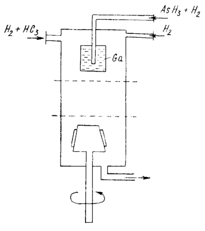
остоинством системы Ga—AsCl3—Н2 для получения эпитаксиальных пленок арсенида галлия GaAs является возможность использования реагентов, которые сравнительно просто с помощью опробованных и налаженных методик можно очистить от посторонних примесей до требуемого уровня чистоты. Галлий очищается ректификацией металла или хлорида, вытягиванием кристаллов из расплава или зонной плавкой. AsCl3 для удаления примесей подвергают ректификации, причем высокая чистота этого продукта обеспечивает соответственно отсутствие примесей образовавшихся в системе НСl и As. Схема установки, применяемой для получения эпитаксиальных слоев арсенида галлия, приведена на рис. 11.6.14.
Рис. 11.6.14. Схема установки для получения эпитаксиальных пленок GaAs в системе Ga—AsCl3—H2: 1— зона мышьяка 425° С; 2 — лодочка с галлием 800° С; 3 — держатель с подложкой 750 или 900° С; 4 — выход водорода с продуктами реакции; 5 — вход чистого водорода; 6 — барботер с AsCl3
Процесс проводят в реакторе, имеющем три температурные зоны, создаваемые внешним резистивным нагревателем. В первой зоне при Т=425°С идет восстановление мышьяка по реакции
4АsС13+6Н2→12НС1+Аs4.
Во второй зоне пары мышьяка взаимодействуют с расплавом галлия до полного насыщения. Критерием насыщения служит появление на поверхности расплава галлия пленки арсенида галлия, а избыточные пары мышьяка выводятся ич нагретой части реактора. Процессы, происходящие в этой зоне при T=800°С можно описать следующими уравнениями:
2Ga+2HCl→2GaCl+H2;
4Ga+As4→4GaAs.
После достижения состояния насыщения галлия мышьяком во второй зоне в третью зону, где температура может поддерживаться в интервале от 750°С (рост пленки) до 900°С (травление пленки), вводятся подложки арсенида галлия GaAs. Именно насыщенный расплав галлия обеспечивает постоянный состав паровой фазы в зоне осаждения пленки арсенида галлия GaAs, где протекают следующие реакции:
6GaCl+As4→4GaAs+2GaCl3;
3GaAsTB+AsCl3→3GaCl+As4.
Изменяя температуру в третьей зоне можно осуществить процесс травления подложек непосредственно перед нанесением слоя. Скорость травления при Т==900°С порядка 1 мкм/мин, скорость роста пленки при T=750° С — 0,5 мкм/мин.
Особенностью системы, включающей гидрид мышьяка, является тот факт, что при комнатной температуре гидрид мышьяка AsGa находится в газообразом состоянии, что позволяет легко обеспечить постоянство газовой фазы в зоне осаждения и легкость регулирования этого состава. Более того, гибкость регулирования состава в этом случае допускает получение монокристаллических пленок состава GaAs1-xPx, GaAs1-xSbx, Ga1-xInxAs, Ga1-xAlxAs и, что еще более важно, многослойных структур, включая р—n-переходы.
К принципиальным технологическим преимуществам гидридов, обусловливающих их применение в технологии микроэлектроники, можно отнести;
1. Возможность получения летучих гидридов большинства элементов, применяющихся в полупроводниковой микроэлектронике.
2. Удачное сочетание свойств гидридов, способствующих их сравнительно легкой очистке от примесей, основанной на фазовых переходах жидкость—пар, твердое тело—пар и твердое тело—жидкость.
3. Наибольшее, по сравнению с любым другим химическим соединением, содержание основного компонента.
4. Малая реакционная способность гидридов по отношению к конструкционным материалам технологической аппаратуры, что резко снижает вероятность загрязнения исходной смеси.
В то же время высокая токсичность гидридов, их взрывоопасность, склонность к спонтанному распаду в газовой фазе при определенных условиях значительно усложняют аппаратуру, в которой они используются.
Схема выращивания арсенида галлия GaAs по гидридному методу приведена на рис. 11.6.15. В зонах 1 и 2 происходит смешение реагентов в парогазовой смеси, причем газообразный реагент, содержащий, галлий, образуется при пропускании соляной кислоты НС1 через жидкий галий по реакции
2Ga+2HCl→2GaCl+H2.
Эпитаксиальный слой образуется в зоне 3 по реакции
12GaCl+4AsH3+2As2+As4→12GaAs+12HCl
Р
ис.11.6.15 Схема выращивания SaAs по гидридному методу.
В реактор могут одновременно вводиться легирующие добавки. В случае необходимости получения гетеропереходов одновременно с арсенидом может вводиться фосфин (РН3), обеспечивая получение состава, отвечающего формуле AsxP1-xGa, где х может меняться от 0 до 1. В реальных структурах, используемых для микроэлектроники обычно наносится минимум два авто- или гетероэпитаксиальных слоя. Скорость роста твердых растворов GaP1-xAsх на подложках из арсенида галлия GaAs обычно лежит в интервале 0,1—10 мкм, причем состав твердого раствора изменяется для подложек, находящихся при различных температурах.
Весьма интересен для получения эпитаксиальных слоев метод малых промежутков или сэндвич-метод. Основной идеей метода является близкое расположение источника и подложки (порядка 0,1 диаметра источника) с заполнением промежутка газовой смесью (транспортным агентом), обеспечивающим протекание процесса в условиях, близких к равновесным. Малый промежуток, на практике обычно не превышающий 1 мм, затрудняет попадание в него посторонних примесей, т. е. практически исключается взаимосвязь между реакционным пространством и окружающей средой. Квазиравновесные условия переноса вещества и осаждение пленки обеспечивают нужный состав последней при правильном выборе источника и транспортного агента. Обычно в качестве последнего при росте эпитаксиальных слоев арсенида галлия используются парогазовые смеси (Н2О+Н2), (HCl+H2) и др., в которых арсенид галлия выступает в обратимые реакции с образованием летучих соединений, например:
2GaAs+H20↔Ga2O+As2+H2.
Градиент температур в зазоре обычно находится в диапазоне 100—500° С/см, что обеспечивает высокие скорости роста благодаря малой величине зазора. Скорость роста зависит от ориентации пластин источника и подложки и не пропорциональна величине зазора, поскольку определяется не только параметрами молекулярной диффузии, но и наличием конвективных потоков и влиянием условий на границах системы подложка—источник. Хотя сэндвич—метод в настоящее время еще не получил должного развития, хотелось бы сформулировать его основные достоинства.
1. Возможность получения эпитаксиальных и гетероэни-таксиальных слоев заданного состава при малых давлениях ларогазовой смеси.
2. Возможность селективного нанесения эпитаксиальных и гетероэпитаксиальных слоев на заданных участках будущей микросхемы, воспроизведение контура рисунка на пластине источника.
3. Возможность легирования пленки может осуществляться как путем подбора состава парогазовой смеси, так и состава источника.
4. Возможность резкого уменьшения загрязнений растущей пленки материалами технологической аппаратуры системы.
Развитие микроэлектроники потребовало создания технологии наращивания эпитаксиальных слоев в строго определенных местах подложки — селективного наращивания — с последующим получением объемных твердых схем. Для успешного проведения этого процесса необходимо, во-первых, чтобы энергия образования зародыша на подложке была меньше, чем аналогичная величина на материале маски, и. во-вторых, необходимо создание условий, при которых число зародышей пропорционально величине пересыщения в системе. Было показано, что при небольших величинах пересыщения (порядка 0,2) рост пленки арсенида галлия GaAs происходит только на подложке арсенида галлия GaAs, причем степень структурного совершенства пленки увеличивается с уменьшением величины пересыщения. С целью получения пленок в заданных местах на предварительно полированную подложку арсенида галлия GaAs наносится маскирующая пленка окиси кремния SiO2, в которой методами литографии вскрывают окна нужной конфигурации. Обнажившуюся поверхность кристалла протравливают непосредственно в системе выращивания пленок, после чего наносятся эпитаксиальные слои, например из системы (Ga—AsCl3—Н2). Условия выращивания зависят от ориентации подложки, причем установлено, что влияние границ окон минимально при ориентации поверхности подложки (100).
Важнейшей проблемой любой технологической операции с арсенидом галлия GaAs является обеспечивание отсутствия загрязнений материала во время технологического процесса, поскольку лишь при высокой чистоте кристаллов арсенида галлия GaAs (99,99999) обеспечивается проявление его уникальных свойств. Особые меры должны предприниматься к устранению источников загрязнения арсенида галлия GaAs кремнием. При контакте арсенида галлия GaAs с кварцем возможна суммарная реакция
2Gaж+SiО2тв↔Ga2Ог+SiО2г
'
Однако и в условиях отсутствия прямого контакта, т. е. при обработке арсенида галлия GaAs на подложках из нитрида алюминия, стеклографита или нитрида бора, загрязнение кремнием все-таки происходит через газовую фазу за счет летучих оксидов галлия и паров самого галлия. Причиной загрязнения может быть и вода, содержащаяся в кварце в связанном виде, которая при нагревании может выделяться и взаимодействовать с галлием в расплав. Источником воды может быть и реакция водорода с оксидами на поверхности арсенида галлия. Особенно сильно влияет на свойства арсенида галлия медь. Следует отметить, что медь не используется для данного материала в качестве активатора, а попадает в арсенид галлия из изделий аппаратуры и, обладая большим коэффициентом диффузии в этом материале, сравнительно быстро легирует его, образуя как дефекты внедрения, так и дефекты замещения. Медь в арсениде галлия способна вступать во взаимодействие практически со всеми видами дефектов в этом материале и сильно влияет на основные электрофизические параметры арсенида галлия GaAs.
11.6.8. Молекулярно-лучевая эпитаксия
















