Диффузия (987306), страница 12
Текст из файла (страница 12)
Описание процесса
Молекулярно-лучевая эпитакция (МЛЭ) представляет собой процесс получения эпитаксиальных пленок методом конденсации молекулярных пучков на подложке в вакууме. Источником молекулярных пучков является полупроводниковый материал, в основном кремний. Испарение материала происходит в результате воздействия на полупроводник сфокусированного электронного пучка или в результате прямого разогрева электрическим током кремниевой пластины. В последнем случае образец (источник) не плавятся, а осуществляется возгонка (сублимация) и перенос вещества на подложку.
Наиболее важными требованиями, предъявляемыми к молекулярным источникам, являются следующие: высокая чистота создаваемых молекулярных пучков; высокая чистота поверхности источника; стабильная скорость испарения в рабочем режиме; большой запас рабочего вещества; возможность нагрева испаряемого вещества в широком интервале температур.
Процесс МЛЭ происходит в глубоком вакууме при давлении 1,33*10-6-1,33*10-8Па, и при температуре 400— 800° С. Скорость роста эпитаксиального слоя при этих условиях составляет 0,01—0,03 мкм/мин и практически сравнима со скоростью роста пленки, получаемой в процессе эпитаксии из парогазовой фазы. В то же время молекулярно-лучевая эпитаксия обладает рядом преимуществ по сравнению с процессом эпитаксии из парогазовой фазы, основными из которых являются следующие.
1. Более низкая температура технологического процесса при МЛЭ уменьшает диффузию примесей из подложки и авто-легирование.
2. Получаемый в результате МЛЭ слой обладает высоким удельным сопротивлением, так как вероятность попадания посторонних примесей на подложку в вакуумной камере мала.
3. Отсутствие промежуточных химических реакций и диффузионных эффектов, малая вероятность столкновения частиц в высоком вакууме дают возможность точно управлять процессом МЛЭ путем изменения параметров источника, например температуры и времени испарения вещества.
Процесс роста пленки начинается с появления в различных точках поверхности подложки скоплений атомов набегающего пучка. Поперечные размеры этих скоплений составляют величину, порядка десятков ангстрем. В ходе процесса растет как количество этих скоплений, так и их величина. В результате они смыкаются, образуя первичный слой пленки. Таким образом, первичная непрерывная пленка уже имеет минимальную толщину около 20—100А, а не является одноатомной. Это приводит к тому, что источниками дефектов в ней могут быть как дефекты, существующие в зародыше, так и дефекты, образовавшиеся в результате слияния разросшихся зародышей.
Для получения совершенных монокристаллических пленок важнейшей проблемой является получение одинаково ориентированных зародышей, равномерно распределенных по подложке. Разориентация зародышей даже на малые углы вызывает значительное возрастание концентрации дефектов. Как показали исследования, существует вполне определенная температура эпитаксии, выше которой образуются зародыши одной ориентации, причем значение этой температуры зависит от большого числа параметров, которые можно разделить на три группы.
1. Параметры, характеризующие свойства атомного пучка—химический состав, плотность, значение энергии, набегающих на подложку частиц, геометрия пучка.
2. Параметры, характеризующие свойства подложки — чистота поверхности, степень ее структурного совершенства, ориентация подложки по отношению к молекулярному пучку, совокупность химических, физико-химических и физических свойств подложки.
3. Параметры, характеризующие технологический процесс напыления — температура подложки, концентрация и природа примесей в атмосфере над подложкой, величина вакуума, продолжительность технологических операций.
В результате взаимодействия атомов, попадающих на подложку, с атомами последней происходит захват атомов атмосферы (т. е. ансамбля атомов набегающего пучка) поверхностью подложки. Этот процесс называют адсорбцией, при этом различают хемосорбцию и физическую адсорбцию. При хемосорбции энергия взаимодействия составляет величину порядка одного электрон-вольта на атом, т. е. она приблизительно равна энергии протекания химической реакции. Физическая адсорбция обусловлена слабыми взаимодействий-ми атомов пучка с атомами подложки за счет сил Ван-дер-Ваальса.
Адсорбированный атом, иначе адатом, находясь в возбужденном состояний, мигрирует по поверхности подложки, попадая из одной потенциальной ямы в другую. Через некоторое время он может либо задержаться в одной из таких потенциальных ям, либо провзаимодействовать с другими атомами, образовав устойчивые комплексы на поверхности (кластеры), либо покинуть поверхность, т.е. десорбироваться. Вероятность того, что попавший на поверхность атом будет захвачен ею, характеризуется коэффициентом конденсации. Величину этого коэффициента определяют по отношению числа атомов, сконденсировавшихся на поверхности, к общему числу атомов, достигших поверхности из пучка.
Наряду с коэффициентом конденсации важным параметром, характеризующим свойства поверхности адсорбировать атомы из атмосферы, является коэффициент аккомодации.
Пусть идеальный одноатомныи газ, характеризуемый температурой T1 и энергией частиц E1, находится в контакте с поверхностью, температура которой Т2 а энергия частиц— E2.Атом газа, ударившийся о поверхность подложки, приобретает среднюю энергию 2К(Т2—С1)=Е2—Е1. Если атом сразу после соударения отражается, то средний прирост энергии обычно очень мал, т. е. отразившиеся атомы не приходят в равновесие с атомами поверхности. В этом случае средняя энергия десорбированного атома равна Е′2, а соответствующая ей температура—T′1), но такая, что выполняется условие T2>T′1>T1. Тогда величина α, равная
α =(Е'2—Е1)/(Е2—Е1)
характеризует среднюю долю энергии, которой обмениваются при одном столкновении между собой атомы набегающего пучка и подложки. Эта величина называется коэффициентом аккомодации.
Если часть атомов задержалась на поверхности в результате процессов адсорбции, вошла в равновесие с атомами подложки и затем только десорбировалась с энергией ЕД(ТД), то для такой системы коэффициент аккомодации равен
αТ =(Т1—Тот)/(Т1—ТД)= (Е1—Еот)/(Е1—ЕД)
где Тот и Еот—температура и энергия атомов в отраженной части пучка.
Описанный выше случай наиболее вероятен для процессов напыления, так как обычно температура поверхности подложки меньше усредненной температуры атмосферы. Коэффициент аккомодации зависит от массы налетевшего и ударяемого атомов, причем, если эти массы сравнимы, то захваченный атом теряет свою энергию за время нескольких колебаний атомов подложки.
Легирование пленок в процессе МЛЭ
Легирование в процессе МЛЭ осуществляется двумя различными способами. Первый основан на испарении легирующей примеси и встраивании ее в кристаллическую решетку по механизму, аналогичному процессу роста кремния.
В качестве источников примеси используют сурьму Sb, галлий Ga или алюминий Аl. Имеются данные о получении уровня легирования в диапазоне 1013—1019см-3 с однородностью на подложке ±1%. При выборе легирующих примесей в этом случае определяющими являются значения скорости осаждения атомов и значения коэффициента аккомодации. Малые значения коэффициента аккомодации свидетельствуют о высокой вероятности процесса десорбации примеси с подложки и, следовательно, о трудности образования зародышей на ее поверхности. Наличие температурной зависимости коэффициента аккомодации вызывает необходимость точного поддержания температуры подложки.
При другом способе легирования используется процесс ионной имплантации. В этом случае для легирования растущего слоя применяют слаботочные (1 мкА) ионные пучки с малой энергией (0,1—3,0 кэВ). Низкая энергия имплантации обеспечивает введение примеси на небольшую глубину под поверхность растущего слоя и встраивание ее в кристаллическую решетку. При этом способе легирования наряду с сурьмой, галлием и алюминием возможно использование таких примесей как бор, фтор и мышьяк.
П
рименение ионного внедрения в процессе МЛЭ позволяет получать сложные профили легирования, что практически невозможно осуществить, используя методы эпитаксии из парогазовой фазы (рис. 11.6.16). В то же время внедрение МЛЭ в технологический процесс изготовления интегральных схем и полупроводниковых кремниевых приборов долгое время сдерживалось отсутствием необходимого промышленного оборудования. В последние годы налажен выпуск систем для проведения процесса МЛЭ, которые, однако, отличаются высокой стоимостью и сложностью.
Рис. 11.6.16. Распределение примесей при ионной имплантации
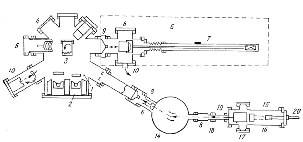
Описание установки для выращивания пленок в процессе МЛЭ
Одна из возможных схем современной установки для осуществления процесса молекулярно-лучевой эпитаксии кремния представлена на рис. 11.6.17. Основой ее является вакуумная камера 1, в которой расположены источники молекулярных пучков кремния и легирующей примеси 2, направленные к нагретой подложке 3. Материал тигля, в котором находится кремний, должен быть термически стойким и химически инертным. В качестве такого материала применяют пиролитический нитрид бора или графит, максимальные рабочие температуры которых составляют соответственно 1800 и 2000° С.
Для нагрева кремния используются два электронно-лучевых испарителя мощностью 14 кВт каждый. Постоянная интенсивность потока атомов обеспечивается строгим контролем температуры испарения. Для более равномерного нагрева подложки должны быть расположёны как можно ближе к нагревателю.
Р
ис. 11.6.17. Установка молекулярно-лучевой эпитаксии.
Контроль температуры процесса осуществляется различными методами (с помощью Термопар, ИК-датчиков, оптических параметров). С целью очистки поверхности образца используют поток ионов инертного газа небольшой мощности, источником которых является ионная пушка 10. Контроль структуры и чистоты как исходной подложки, так и формируемого слоя осуществляют с помощью весьма сложных и информативных устройств. Например, чистота поверхности, ее элементный состав определяются методом ожеспектроскопии, чувствительность, которого составляет величину, равную, примерно, 1012ат/см2).
Кристаллографический анализ подложек и пленок проводят методом дифракции электронов. Пучок электронов, направляемый на подложку под углом, близким к 1°, образует дифракционную картину (электронограмму), по виду которой можно определить параметры элементарной ячейки, выявить в процессе роста слоев нежелательные ростовые структуры и откорректировать в связи с этим рабочие параметры процесса. Для анализа выращиваемых слоев применяют дифракцию быстрых электронов (ускоряющее напряжение 30— 50 кВ), а для анализа выращенных слоев—дифракцию медленных электронов (ускоряющее напряжение от нескольких вольт до 1 кВ), Для химического анализа поверхности используют метод рентгеноэлектронной спектроскопии с разрешением по глубине до 5нм и чувствительностью до 1013 ат/см2 моноатомного слоя. Окна 4, 5 предусмотрены для визуального наблюдения за процессом. В установках МЛЭ помимо основных технологических операций (очистки поверхности подложки, эпитаксиального осаждения, анализа осажденного слоя) выполняются также вспомогательные операции: ввод подложки в зону осаждения; транспортировка подложки из одной камеры в другую; юстировка подложи относительно технологических и контролирующих средств.
Для предотвращения многократных и продолжительных контактов высоковакуумной системы с воздухом предусмотрено использование загрузочного шлюзового устройства 6, в состав которого входят два вакуумных сорбционных насоса и один ионный насос производительностью 30 л/с, устройство для магнитного перемещения загрузочной штанги 7, загрузочное окно 8, клапан 9.
В отличие от эпитаксии из парогазовой фазы использование МЛЭ не связано с принятием особых мер по технике безопасности. Метод МЛЭ является весьма перспективный методом в производстве высокочастотных и оптоэлектронных приборов.
















