Пини_Игорь_записка (987110)
Текст из файла
Содержание:
-
Введение 3
-
Станок мод. РТ725Ф301 5
-
Техническая характеристика станка 5
-
Устройство ЧПУ 6
-
Основные узлы и движения в станке 7
-
Кинематика станка 8
-
Командоаппарат резцедержателя станка 12
-
Заготовка и деталь 14
-
Способ получения заготовки 14
-
Базирование и закрепление заготовки на станке 14
-
Чертеж заготовки 15
-
Чертеж детали 16
Транспортно-накопительная система 17
-
Описание тактового стола 17
Напольный промышленный робот 18
-
Техническая характеристика робота 18
-
Основные механизмы робота 19
-
Захватное устройство робота 22
Выбор инструмента 24
Расчетная часть 25
-
Расчет режимов резания 25
-
Расчет шпинделя на прочность и жесткость 28
-
Расчет схвата руки ПР 30
Список литературы 33
Графическая часть:
-
Лист 1. Компоновка РТК.
-
Лист 2. Шпиндельный узел станка.
-
Лист 3. Технологические наладки.
-
Лист 4. Схват руки ПР.
1. Введение
Автоматизация производства в машиностроении представляет собой самостоятельную комплексную проблему. Ее решение направлено на создание нового совершенного оборудования, технологических процессов и систем организации производства, функционирование которых неразрывно связано с улучшением условий труда, ростом качества продукции, сокращением потребности в рабочей силе и с систематическим повышением прибыли.
Эффективность автоматизации прямо зависит от того, насколько рационально организован производственный процесс в целом, как комплексно и полно на всех звеньях технологической цепочки внедрены средства автоматизации, от того, насколько принятая система организации и управления производством позволяет принимать решения на низшем уровне (в целях ликвидации внеплановых простоев). Автоматизация требует рассматривать производственный процесс как единую систему.
Отработка технических решений по созданию автоматизированных технологических комплексов, по-видимому, должна вестись, прежде всего, применительно к серийному производству (оно составляет до 40 % общемашиностроительного производства), поскольку они могут быть применены также в массовом и крупносерийном производстве. Очевидно, что по мере совершенствования технических решений, разработанных для условий серийного производства, внедрения новых исходных средств автоматизации и элементной базы, появится возможность их использования и для автоматизации мелкосерийного производства. Таким образом, принятое направление на развитие автоматизации в серийном производстве не только будет способствовать подъему производительности труда в этой области, но и окажет существенное влияние на уровень мелкосерийного и массового производства.
Появление и развитие промышленных роботов, безусловно, явились одним из крупнейших достижений науки и техники последних лет. Они позволили расширить фронт работ по автоматизации технологических и вспомогательных процессов, открыли широкие перспективы создания автоматических систем машин для гибкого, переналаживаемого производства.
Одной из основных причин разработок и внедрения роботов является экономия средств. По сравнению с традиционными средствами автоматизации применение роботов обеспечивает большую гибкость технических и организационных решений, снижение сроков комплектации и запуска в производство автоматизированных станочных систем. По предварительным данным, использование роботов для автоматической установки и снятия деталей позволяет рабочему обслуживать от четырех до восьми металлорежущих, станков.
С экономическими вопросами, возникающими при применении роботов, тесно связан и социальный аспект их использования. При определении целесообразности применения роботов в том или ином случае (особенно при необходимости замены рабочего на участках с опасными, вредными для здоровья условиями труда) превалирующими должны быть интересы человека, его безопасность и удобство работы. Необходимо также учитывать и фактор непрерывного роста уровня общеобразовательной и специальной подготовки трудящихся. Роботы должны освободить человека от выполнения бездумной механической работы и скомпенсировать потребность в низкоквалифицированном труде. Таким образом, применение роботов в дальнейшем должно оказать существенное влияние (в числе прочих факторов научно-технической революции) на социальную структуру общества.
2. Станок мод. РТ725Ф301
Станок предназначен для обработки цилиндрических, конических и фасонных поверхностей деталей типа дисков, фланцев и колец, наибольшая длина которых равна около 1/4 их наибольшего диаметра. На станке возможна обработка наружных, торцевых и внутренних поверхностей по замкнутому автоматическому циклу за один или несколько рабочих ходов. Класс точности станка Н.
2.1. Техническая характеристика станка
| Наибольший диаметр устанавливаемой над станиной детали | 400 мм |
| Наибольшая длина устанавливаемой детали | 180 мм |
| Число инструментов | 6 |
| Число частот вращения шпинделя (общее / по программе) | 21/7 |
| Пределы частот вращения шпинделя | 5–1000 об/мин |
| Число подач | 32 |
| Пределы подач: продольных и поперечных | 2,92–642 мм/мин |
| Величина ускоренного перемещения | 4400 мм/мин |
2.2. Устройство ЧПУ
В станке используется ЧПУ контурного типа – «Контур 2ПТ-71/2». По программе, записанной на перфоленте, происходит автоматическое изменение частот вращения шпинделя, управление продольными и поперечными движениями инструмента, выбор подач, нарезание резьб, установка инструмента в нулевое положение, коррекции и смена инструмента, включение и выключение охлаждения. Число управляемых осей координат (всего/одновременно) 2/2. Дискретность отсчета по осям координат: X – 0,01 мм; Z – 0,01 мм. Считывающее устройство фотоэлектрическое.
2.3. Основные узлы и движения в станке
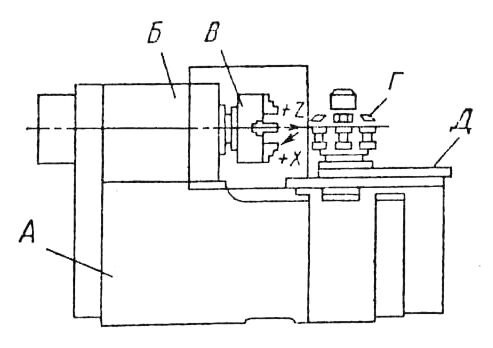
На станине А (рис. 1) установлена шпиндельная бабка Б. Деталь, закрепляемая в пневмопатроне В, получает главное движение. Каретка Д перемещается по плоским направляющим станины (поперечная подача по оси X), а по направляющим каретки типа ласточкин хвост движется ползушка с шестипозиционным резцедержателем Г (продольная подача по оси Z). В каретке размещен привод продольных подач для быстрых и рабочих перемещений ползушки вдоль оси Z.
Рис. 1. Общий вид станка
2.4. Кинематика станка
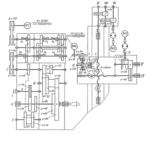
Главное движение осуществляется от электродвигателя М1 (N = 13 кВт; n = 1460 об/мин) (рис. 2). Движение передается клиноременной передачей со шкивами D = 150 мм и D = 216 мм на входной вал АКС, а с выходного вала АКС через передачу зубчатым ремнем D = 230–360 мм на входной вал I шпиндельной бабки. АКС обеспечивает девять переключаемых по программе частот вращения шпинделя, которые утрачиваются вследствие переключения блоков Б1 и Б2.
Рис. 2. Кинематическая схема станка
Диапазон I частот вращения (n = 5 – 63 об/мин) получают при выключенном блоке Б1 и включенном блоке Б2 (это положение показано на рис. 2), тогда движение с вала I на вал IV передается через зубчатые пары z = 22–88, 24–96. Диапазон II (n = 20 – 250 об/мин) соответствует такому положению блока Б2, когда в зацеплении находятся колеса z = 22–88, 60–60. Диапазон III (n = 80 – 1000 об/мин) получают при включенном блоке Б1 и выключенном блоке Б2. В этом случае с вала I на шпиндель IV движение передается через передачи z = 48–48, 48–48. Блоки Б1 и Б2 переключают вручную. Если учесть, что выходной вал АКС имеет пределы частот вращения 125 – 1600 об/мин, то можно записать уравнение кинематического баланса для минимальной частоты вращения шпинделя:
Всего имеется 27 теоретических и 21 практических значений частот вращения от 5 до 1000 об/мин. Торможение и реверсирование вращения осуществляются электромагнитными муфтами, находящимися в АКС. Смазка шпиндельной бабки осуществляется централизованно от шестеренчатого насоса. Датчик нарезания резьбы 1 на валу V кинематически связан со шпинделем через беззазорную передачу 90–90.
Продольная подача осуществляется от шагового двигателя М2 типа ШД 5-Д1 с гидроусилителем Э32Г18-22 через безлюфтовый редуктор с передаточным отношением
и шариковый винт с шагом P = 10 мм и диаметром 50 мм. Редуктор обеспечивает величину перемещения на один ипульс.
где
соответствует повороту ротора ШД на 1,5°.
Поперечная подача осуществляется от шагового двигателя М3 типа ШД5-Д1 через гидроусилитель моментов Э32Г18-23, беззазорный редуктор z = 25–50, 24–50 и шариковую винтовую пару с шагом P = 10 мм и диаметром винта 60 мм.
Характеристики
Тип файла документ
Документы такого типа открываются такими программами, как Microsoft Office Word на компьютерах Windows, Apple Pages на компьютерах Mac, Open Office - бесплатная альтернатива на различных платформах, в том числе Linux. Наиболее простым и современным решением будут Google документы, так как открываются онлайн без скачивания прямо в браузере на любой платформе. Существуют российские качественные аналоги, например от Яндекса.
Будьте внимательны на мобильных устройствах, так как там используются упрощённый функционал даже в официальном приложении от Microsoft, поэтому для просмотра скачивайте PDF-версию. А если нужно редактировать файл, то используйте оригинальный файл.
Файлы такого типа обычно разбиты на страницы, а текст может быть форматированным (жирный, курсив, выбор шрифта, таблицы и т.п.), а также в него можно добавлять изображения. Формат идеально подходит для рефератов, докладов и РПЗ курсовых проектов, которые необходимо распечатать. Кстати перед печатью также сохраняйте файл в PDF, так как принтер может начудить со шрифтами.
















