Пини_Игорь_записка (987110), страница 2
Текст из файла (страница 2)
Цена импульса поперечного перемещения:
Устранение зазора в редукторах подач происходит при осевом смещении разрезных косозубых зубчатых колес с помощью подшлифовывания компенсаторов, находящихся между торцами колес. При отсутствии давления в гидроусилителях оба механизма привода можно провернуть от руки.
Устройство установки нулевого положения. Перед началом обработки резец в продольном и поперечном направлениях занимает определенное (нулевое) положение относительно заготовки. В продольном направлении резец устанавливают от торца кулачков патрона, а в поперечном направлении – от оси шпинделя станка. После окончания обработки каретка с резцом должна возвратиться в нулевую позицию, что будет свидетельствовать о правильности цикла. Точный возврат обеспечивают датчики нулевого положения, состоящие из датчиков грубого и точного отсчетов. Конечный выключатель вместе с переставной планкой, скрепленной с неподвижной частью суппорта, используется в качестве датчика грубого отсчета. Точная установка нулевого положения производится с помощью бесконтактного датчика, основанного на индуктивном методе. На оси ходовых винтов закрепляют диэлектрический диск с сектором из цветного металла, который входит в прорезь бесконтактного датчика при определенном их положении дает команду на отключение привода подач. Датчик используется как для продольного, так и для поперечного перемещений. Перестройка с одного нулевого положения на другое осуществляется перестановкой упорной планки и поворотом диэлектрического диска.
Шестипозиционный резцедержатель с электромеханическим приводом на 12 позиций поворота состоит из корпуса резцедержателя, механизма поворота, фиксирующего устройства, электропривода, сменных блоков и блокировки. Поворот резцедержателя осуществляется вручную или по программе от электродвигателя (N = 0,5 кВт, n = 1420 об/мин) через колеса z = 8–54 и червячную пару z = 1–38. В начале движения происходит поворот верхней полумуфты М7, что дает возможность корпусу резцедержателя за счет четырех пружин 2 разъединяться с торцовым зубчатым колесом 3, фиксирующим резцедержатель. Поворот до заданного положения контролируется конечными выключателями, после чего происходит реверс электродвигателя и прижим корпуса резцедержателя к основанию.
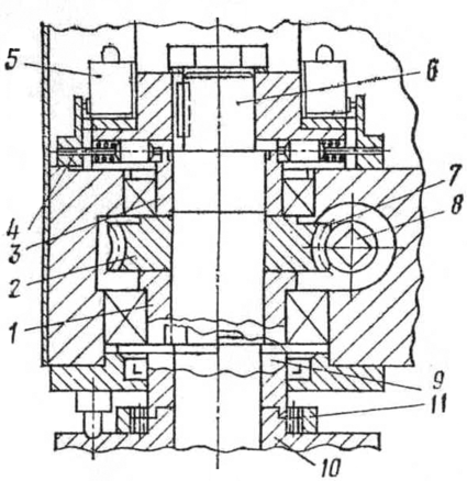
2.5. Командоаппарат резцедержателя станка
Рассмотрим принцип работы командоаппарата резцедержателя (рис. 3). Микропереключатели 5 срабатывают при совпадении толкателей 4 с лунками на втулке 3 при ее вращении вокруг оси 6 резцедержателя. Гильза 1 получает вращение от электродвигателя через зубчатую пару (на схеме не показана) и червячную пару 7 и 2. Гильза 1 в нижней части выполнена в виде двухзубой торцовой муфты, сопрягающейся с другой торцовой муфтой 9, имеющей зубчатый венец. Такой венец имеет втулка 10, соединенная шпонкой с корпусом резцедержателя. Таким образом, через эти венцы с помощью кольца 11 с внутренним зубчатым венцом движение поворота передается корпусу резцедержателя (на схеме не показан).
Рис. 3. Командоаппарат резцедержателя станка
При достижении заданной позиции командоаппарат даст команду на реверс электродвигателя, произойдет поворот в обратную сторону и опускание резцедержателя вниз в фиксированное положение. Четкая работа резцедержателя зависит от регулировки командоаппарата. Для обеспечения срабатывания микропереключателей толкатели 4 при регулировке смещают вдоль оси и затем фиксируют винтами.
Специальной регулировкой достигается минимальный перебег поворотной части после ее останова перед реверсом двигателя на зажим. Этого можно достигнуть регулированием усилия четырех пружин 2 (рис. 2), а также регулированием торцовой зубчатой муфты 9, 10 (рис. 3). Для этого следует вывести из зацепления кольцо 11 с двумя полумуфтами 9 и 10, а затем полумуфту 9 повернуть против часовой стрелки, вращая квадратом 8 червяк 7. Поворот на один зуб обеспечивает уменьшение перебега на 4–5°. После регулировки две половины зубчатой муфты 9 и 10 соединяют вновь кольцом 11 и вращают червяк 7 в обратном направлении до полного зажима резцедержателя.
Базирование резцовых блоков происходит по призматическим направляющим, блоки к корпусу резцедержателя прижимают винтами через прокладку.
3. Заготовка и деталь
3.1. Способ получение заготовки
Поскольку материал обрабатываемой детали – серый чугун (СЧ20), выберем литье в песчаную форму как способ получения заготовки. При отливке заготовка получает некоторые уклоны (≈3°) и припуски (2–4 мм), однако выбранный способ более экономичен в данном случае и не требует сложных операций.
3.2. Базирование и закрепление заготовки на станке
Для закрепления заготовки на станке используется трехкулачковый пневмопатрон.
Рис. 4. Схема закрепления заготовки в патроне на станке
4. Транспортно-накопительная система
Для накопления заготовок и позиционирования их пол захват роботом с учетом достаточно большой длительности цикла обработки заготовок выбираем тактовый стол. Тактовый стол является одной из разновидностей тележечных грузонесущих конвейеров. Широкое разнообразие их использования обусловило большое число их конструктивных разновидностей.
4.1. Описание тактового стола
Т
Рис. 5. Схема расположения заготовок на паллете тактового стола
актовый стол, используемый в данном РТК, представляет собой горизонтально замкнутый тележечный грузонесущий конвейер с настольным пульсирующим (тактовым) перемещением платформ, предназначенный для подачи заготовок и приема готовых деталей. Габаритные размеры тактового стола (длина5. Напольный промышленный робот
Многоцелевые промышленные роботы (ПР) типа «Универсал-20» применяются для автоматизации погрузочно-разгрузочных работ, обслуживания различного технологического оборудования, межоперационного и межстаночного транспортирования объектов обработки и выполнения других вспомогательных операций.
5.1. Техническая характеристика робота
| Грузоподъемность | 20 кг |
| Число степеней подвижности | 6 |
| Наибольшая величина перемещения: | |
| – вокруг вертикальной оси I–I | 340 |
| – вдоль оси I-I | 400 мм |
| – вдоль горизонтальной оси III–III | 630 мм |
| – вокруг вертикальной оси II–II | 240 |
| – вокруг оси III–III | 180 |
| – вокруг оси IV–IV | 180 |
| Наибольшая скорость: | |
| – вокруг оси I–I поворота. | 84 град/с |
| – вертикального хода руки вдоль оси I–I | 0.27 м/с |
| – выдвижение руки вдоль оси III–III | 1.08 м/с |
| – поворота руки вокруг оси II–II | 132 град/c |
| Точность позиционирования | 1 мм |
| Масса | 630 кг |
5.2. Основные механизмы робота
Рис. 6. Общий вид промышленного робота «Универсал-20»
Общий вид робота приведен на рисунке 6. Исполнительным механизмом ПР является манипулятор, который обеспечивает установку в пределах рабочей зоны захватного механизма схвата. Манипулятор имеет четыре степени подвижности руки 1 в сферической системе координат, которые реализуются механизмами: поворота 2 относительно оси II–II, выдвижения руки 3 вдоль оси III–III, поворота руки 4 относительно вертикальной оси I–I, подъема руки 5 вдоль оси I–I. Две ориентирующие степени подвижности рабочего органа-схвата 7 создают механизмы вращения кисти руки 6 относительно ее продольной оси III–III и поперечной оси IV–IV. Подвижные механизмы манипулятора защищены от попадания пыли, грязи и масла ограждением 8.
Установочные перемещения руки осуществляются с помощью электромеханических следящих приводов, а ориентирующие движения кисти руки и зажим-разжим схвата – пневмоцилиндрами.
Пневмоблок 9, которым комплектуется ПР, предназначен для подготовки, регулирования подачи сжатого воздуха из заводской сети и блокирования работы манипулятора при падении давления ниже допустимого.
Блок тиристорных электроприводов 10 формирует управляющие напряжения в якорной цепи электродвигателей постоянного тока.
Устройство программного управления 11 позиционного типа имеет возможность записи программы в режиме обучения (по первому циклу) и формирует управляющие сигналы на блок 10, а также технологические команды управления циклом работы манипулятора и обслуживаемого оборудования.
Блоки тиристорного электропривода ЭПТ6-У20 обеспечивают управление в следящем режиме электродвигателями постоянного тока типа СЛ-569 и СЛ-661, установленными в механизмах четырех программируемых степеней подвижности манипулятора.
Механизмы электроприводов включают в себя зубчатые или червячные редукторы, параметры которых, даны в кинематической схеме. Обратная связь исполнительных механизмов манипулятора по положению, и скорости осуществляется потенциометрическими датчиками типа ППМЛ, приводящимися с помощью зубчатых редукторов и тахогенераторов типа СЛ-121, которые приводятся в движение специальными зубчатыми или ременными механизмами.
Также пневмоблок предназначен для циклового управления двумя ориентирующими движениями кисти руки и захватным устройством. Приводы этих движений осуществляются от пневмоцилиндров. Для преобразования поступательного перемещения поршня во вращательное движение кисти руки используются винтовой копир (в приводе поворота кисти руки относительно ее продольной оси) и передача рейка-шестерня (в приводе качания кисти относительно поперечной оси). Привод зажима и разжима губок схвата осуществляется рычажным механизмом, присоединенным к штоку пневмоцилиндра. Соединение механизмов манипулятора между собой и устройством аналогового позиционного программного управления типа АПС-1 производится в соответствии с принципиальной электрической схемой.
















