Фрезерование (970869)
Текст из файла
Московский ордена Ленина, ордена Октябрьской Революции
и ордена Трудового Красного Знамени.
ГОСУДАРСТВЕННЫЙ ТЕХНИЧЕСКИЙ УНИВЕРСИТЕТ им. Н. Э. БАУМАНА
Кафедра ”Оптические приборы научных исследований” (РЛ 3)
Родионов Е.М.
Технологические основы конструирования элементов и функциональных устройств оптических приборов
ЧастьI. Основы конструирования деталей
Обработка плоскостей
Строгание, долбление, фрезерование, шлифование
Учебное пособие
Москва
2010
ГЛАВА
Плоские поверхности определяют конфигурацию большой группы деталей оптических приборов: корпусов, кронштейнов, платин и др. Поверхности этих деталей обрабатывают следующими основными способами: строганием, долблением, фрезерованием, протягиванием, точением и шлифованием.
Строгание и долбление. Строгание и долбление наиболее применимо в мелкосерийном и индивидуальном производствах, так как для работы на строгальных и долбежных станках не требуется сложных приспособлений и инструментов. Однако эти виды обработки малопроизводительны. Низкая производительность объясняется тем, что обработку ведут чаше всего одним резцом с потерями времени на обратные холостые ходы. В приборостроении эти операции почти совершенно вытеснены более производительным фрезерованием.
ФРЕЗЕРОВАНИЕ
Фрезерование - наиболее распространенный метод обработки плоскостей многолезвийным режущим инструментом - фрезой. Оно выполняется на горизонтально-, вертикально- и продольно-фрезерных станках, а также на карусельно-фрезерных, барабанно-фрезерных и других станках фрезерной группы.
Процесс фрезерования осуществляется в результате сложения двух движений главного движения - вращения фрезы и движения подачи (заготовка или фреза).
-
Оборудование
Конструкции фрезерных станков многообразны: вертикальные и горизонтальные консольные, непрерывные, копировальные и др.
Ниже дано краткое описание двух наиболее распространенных станков в оптическом приборостроении. Движение подачи может выполняться вручную, механизмом подачи станка (на автомате), так и по программе (станки с ЧПУ).
Горизонтально-фрезерные станки
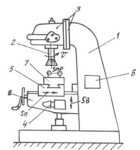
| Н а рис.1 приведен общий вид горизонтально-фрезерного, станка. В станине 1 размещена коробка скоростей 2. По вертикальным направляющим станины перемещается консоль 9. Заготовка, устанавливаемая на столе 7 в тисках или приспособлении, получает подачу в трех направлениях: продольном (перемещение стола по направляющим салазок 8), поперечное (перемещение салазок по направляющим консоли) и вертикальном (перемещение консоли по направляющим, станины). Главным движением является вращение шпинделя. Коробка подач 10 размещена внутри консоли. В верхней части станины расположен хобот 3. По его направляющим перемещается подвеска 6 с подъемником для поддержания второго конца длинной оправки с фрезой. | ||
| Горизонтально-фрезерные станки, имеющие поворотную плиту, которая позволяет поворачивать рабочий стол в горизонтальной плоскости, устанавливать его на требуемый угол, называются универсальными. | Рис.1. Общий вид горизонтально-фрезерного станка: 1 – станина; 2 – коробка скоростей; 3 – хобот; 4 – шпиндель; 5 – фреза; 6 – подвеска; 7 – продольный стол; 8 – поперечный стол; 9 – консоль; 10 – коробка подач; 11 – стойка |
Вертикально-фрезерные станки
Эти станки имеют много общих унифицированных деталей и узлов с горизонтально-фрезерными станками.
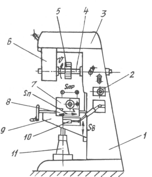
Рис.2. Общий вид вертикально-фрезерного станка: 1 – станина; 2 – шпиндель; 3 – шпиндельная головка; 4 – коробка подач; 5 – поперечный стол; 6 – коробка скоростей; 7 – продольный стол;
8 – консоль
В станине 1 рис.2 размещена коробка скоростей 6. Шпиндельная головка 3 смонтирована в верхней части станины и может поворачиваться в вертикальной плоскости. При этом ось шпинделя 2 можно поворачивать под углом к плоскости рабочего стола 7. Главным движением является вращение шпинделя. Стол, на котором закрепляют заготовку, имеет продольное перемещение по направляющим салазок 5. Салазки имеют поперечное перемещение по направляющим консоли 8, которая перемещается по вертикальным направляющим станины. Таким образом, заготовка, установленная на столе 7, может получать подачу в трех направлениях. В консоле смонтирована коробка подач 4.
2. Инструмент
| Элементы и геометрия фрезы. На рис.3 показана цилиндрическая фреза с винтовыми зубьями. Она состоит из корпуса 1 и режущих зубьев 2. Зуб фрезы имеет следующие элементы: переднюю поверхности 3, заднюю поверхность 6, спинку зуба 7, ленточку 5 и режущие лезвия 4. У цилиндрических фрез различают углы: передний γ, измеряемый в плоскости А-А, перпендикулярной к режущему лезвию; главный задний α, измеряемый в плоскости, перпендикулярной к оси фрезы; угол наклона зубьев ω. Передний угол γ облегчает образование и сход стружки. Главный задний угол α обеспечивает благоприятные условия перемещения задней поверхности зуба относительно поверхности резания и уменьшает | ||
| трение на этих поверхностях. | Рис.3. Элементы и геометрия фрезы |
Угол наклона зубьев ω обеспечивает более спокойные (без рывков) условия резания по сравнению с прямым зубом и придает направление сходящей стружке.
У зуба торцевой фрезы (рис.3б) режущее лезвие имеет более сложную форму. Оно состоит из главного режущего лезвия 8, переходного лезвия 9 и вспомогательного лезвия 10. Зуб торцевой фрезы имеет главный угол в плане φ, измеряемый между проекцией главного режущего лезвия на осевую плоскость и направлением подачи. Вспомогательный угол в плане φ1, составляет 5-10°. Чем меньше этот угол, тем ниже шероховатость обработанной поверхности. Угол в плане на переходном режущем лезвии φ0 = φ/2. Величины углов фрезы влияют на качество обработки и выбираются по справочным материалам в зависимости от материала фрезы и заготовки, требований к качеству обрабатываемой поверхности и другим данным.
Типы фрез. В зависимости от назначения и вида обрабатываемых поверхностей различают следующие типы фрез: цилиндрические (рис.4а), торцевые (рис.4,б), дисковые (рис4,в), концевые (рис.4,г), угловые (рис4,д), шпоночные (рис. 4,е), фасонные (рис.4,ж).
Фрезы изготовляют цельными (рис. 4,б) или сборными с напайными и вставными ножами (рис.4,в). Режущие лезвия могут быть прямыми" (рис.4,д) или винтовыми (рис.4,а). Фрезы имеют остроконечную (рис.4,з) или затылованную (рис.4,и) форму зуба. У фрез с остроконечными зубьями передняя и задняя поверхности плоские. У фрез с затылованными зубьями передняя поверхность плоская, а задняя выполнена по спирали Архимеда, при переточке по передней поверхности профиль зуба фрезы сохраняется.
Цельные фрезы изготовляют из инструментальных сталей, корпуса напайных фрез - из конструкционных сталей; на рабочие части зубьев фрез припаивают пластинки из быстрорежущих сталей и твердых сплавов. У сборных фрез зубья (ножи) выполняют из быстрорежущих сталей или оснащают пластинками из твердых сплавов и закрепляют в корпусе фрезы различными механическими способами.
Рис.4. Типы фрез: а – цилиндрические; б – торцевые; в – дисковые; г – концевые; д – угловые; е – шпоночные; ж – фасонные; з – остроконечная; и – затылочная форма зуба
3. Виды и схемы фрезерования
Различают фрезерование цилиндрическое (осевое) рис.5,а и торцовое рис.5,б. При цилиндрическом фрезеровании работу выполняют зубья, расположенные на цилиндрической поверхности фрезы. При торцевом фрезеровании в работе участвуют зубья, расположенные на цилиндрической и торцевой поверхностях фрезы.
Рис.5 Схемы фрезерования: а – цилиндрическое; б – торцевое
Для цилиндрического фрезерования желательно, а при большой ширине обработки – обязательно, горизонтальное положение плоскости с тем, чтобы использовать для операции горизонтально-фрезерный станок, допускающий двустороннее закрепление инструмента.
Фрезерование цилиндрическими, а также дисковыми фрезами может быть выполнено по двум схемам:
1) движение подачи направлено против вращения фрезы (рис.6,а)
2) движение подачи совпадает с направлением вращения фрезы I (рис.6,б).
Рис.6 Схемы работы фрез: а – встречное фрезерование цилиндрической фрезой; б – попутное фрезерование цилиндрической фрезой; в – работа торцевой фрезы
Фрезерование но первой схеме называется встречным, а по второй схеме - попутным.
При встречном фрезеровании сечение среза и нагрузка на зуб увеличиваются постепенно - от нуля при врезании зуба до максимума при выходе его из контакта с деталью. Горизонтальная составляющая усилия резания направлена в сторону, противоположную подаче. Преодоление этой составляющей в процессе работы приводит к устранению зазора, имеющегося в механизме подачи, и резание проходит плавно и спокойно.
При попутном фрезеровании зуб фрезы начинает работу со срезания слоя наибольшей толщины, которая в конце работы уменьшается до нуля. Горизонтальная составляющая совпадает по своему направлению с подачей и стремится затянуть обрабатываемую деталь под фрезу.
При обработке заготовок с черной поверхностью попутное фрезерование применять не следует, так как при врезании зуба фрезы в твердую корку происходит преждевременный износ и выход их строя фрезы.
При обработке заготовок с чистыми поверхностями попутное фрезерование имеет преимущества перед встречным в отношении как стойкости инструмента, так и шероховатости поверхности. При попутном фрезеровании необходимо, чтобы станок был в хорошем состоянии и имел устройство для устранения зазора в механизме подачи.
Характеристики
Тип файла документ
Документы такого типа открываются такими программами, как Microsoft Office Word на компьютерах Windows, Apple Pages на компьютерах Mac, Open Office - бесплатная альтернатива на различных платформах, в том числе Linux. Наиболее простым и современным решением будут Google документы, так как открываются онлайн без скачивания прямо в браузере на любой платформе. Существуют российские качественные аналоги, например от Яндекса.
Будьте внимательны на мобильных устройствах, так как там используются упрощённый функционал даже в официальном приложении от Microsoft, поэтому для просмотра скачивайте PDF-версию. А если нужно редактировать файл, то используйте оригинальный файл.
Файлы такого типа обычно разбиты на страницы, а текст может быть форматированным (жирный, курсив, выбор шрифта, таблицы и т.п.), а также в него можно добавлять изображения. Формат идеально подходит для рефератов, докладов и РПЗ курсовых проектов, которые необходимо распечатать. Кстати перед печатью также сохраняйте файл в PDF, так как принтер может начудить со шрифтами.
















