Резьбы исправлено 2010 (970868)
Текст из файла
Глава ОБРАЗОВАНИЕ РЕЗЬБОВЫХ ПОВЕРХНОСТЕЙ
1. Общие сведения о резьбах
В деталях приборов имеются различные наружные и внутренние резьбовые поверхности. Резьбовая поверхность – это канавка, прорезанная на наружной или внутренней поверхности определенным образом. В зависимости от формы профиля канавки различают резьбы треугольные (рис. 1,а), трапецеидальные (рис.1,б), прямоугольные (рис.1,в) и др. По направлению витков резьбы делятся на правые (винт ввинчивается в гайку при вращении по часовой стрелке) и левые; резьбы бывают однозаходные (рис.2,а) и многозаходные (рис.2,б, в). Многозаходные резьбы имеют несколько параллельно идущих витков; на торце детали с такой резьбой видно несколько равномерно расположенных начал витков (заходов).
по форме профиля: а – треугольная, Рис. 2.б – трапециидальная, Резьбы по числу заходов:
в – прямоугольная (ленточная), а – однозаходная,
г – упорная, д – круглая. б – двухзаходная,
в – трехзаходная.
Элементы резьбы.
Ш а г о м р е з ь б ы S называется расстояние между одноименными точками двух соседних витков, измеренное параллельно оси резьбы (рис.3).
У г о л п о д ъ е м а резьбы - угол между направлением витка и плоскостью, перпендикулярной к оси цилиндра.
У г о л п р о ф и л я - это угол между боковыми сторонами профиля, измеренный в осевом сечении (рис.3).
Резьба треугольного профиля с углом = 600 называется м е т р и-
ч е с к о й р е з ь б о й. Для соединения деталей между собой в приборостроении чаще всего используется метрическая резьба.
При рассмотрении резьбового соединения пользуются термином внутренняя резьба или ’’гайка’’, когда резьба нарезана на внутренней поверхности, наружная резьба или ’’винт’’ – на наружной поверхности (рис.3).
Нарезание наружных резьб производится резцами, гребенками, плашками, резьбонарезными головками, фрезами, резцовыми головками (вихревой метод), шлифовальными кругами на токарных, револьверных, болторезных, резьбонарезных, резьбошлифовальных, токарных автоматах и других станках.
Внутренние резьбы нарезаются резцами, гребенками, метчиками, резьбонарезными головками, фрезами на токарных, револьверных, сверлильных, гайконарезных, фрезерных, токарных автоматах и других станках.
Ниже рассматриваются способы нарезания резьб, наиболее часто применяемые в оптическом приборостроении.
Метод получения резьб выбирают, учитывая габариты деталей, размеры резьбы, требуемую точность обработки и объем выпуска.
Рис.3 Резьбовое соединение «винт-гайка»
2. Нарезание внутренней резьбы метчиками
Внутренние резьбы диаметром до 20 мм нарезают на станках токарной группы метчиками (рис.4). Метчик представляет собой винт того же диаметра, шага и угла профиля резьбы, что и нарезаемая им резьба, изготовляется из инструментальной стали и имеет продольные стружечные канавки. На пересечении канавок с нитками резьбы образуются резьбовые гребенки. Работа резания выполняется заборной, т.е. конической, частью метчика, у которой высота режущих зубцов гребенки постепенно повышается. По мере ввинчивания метчика в отверстие заборная часть прорезает резьбовые канавки: каждый зубец срезает небольшую часть припуска, и после прохода заборной части резьба приобретает полный профиль. Зубья на заборной части метчика затылованы, т. е. имеют заднюю (затылочную) поверхность, выполненную по архимедовой спирали, благодаря чему образуется задний угол ( = 6-120), облегчающий процесс резания. За заборной частью метчика расположена калибрующая часть, не имеющая затыловки ( = 0), она служит для направления метчика по резьбе и для зачистки (калибрования) профиля резьбы.
Рис. 4 Метчик.
После затупления метчик можно затачивать по передним поверхностям режущих сторон, т. е. по дну стружечной канавки. Т. к. на калибрующей части не имеется заднего угла, то после переточек диаметр резьбы метчика не изменяется.
По числу перьев различают трехперые и четырехперые метчики. Метчики бывают ручные (слесарные) и машинные (станочные). Метчики обычно применяются комплектом из двух или трех штук, между которыми распределен припуск на обработку. Например, для комплекса из двух метчиков 70% приходится на первый метчик и 30% - на второй. Возможно нарезание резьбы на полный профиль и одним машинным метчиком. Для отличия первого, второго и третьего метчиков комплекта на хвостовике метчика нанесено соответствующее количество кольцевых рисок.
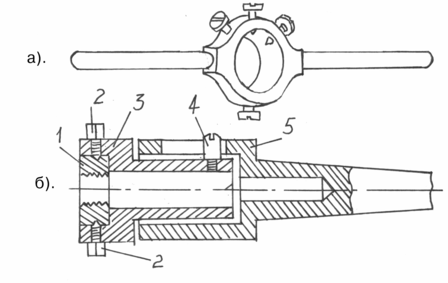
Чтобы метчик направлялся точно по оси обработанного отверстия, его закрепляют в качающуюся самовыдвижную оправку (рис. 5).
Рис.5 Качающаяся самовыдвижная оправка (метчикодержатель).
1 – корпус с хвостовиком, 2 – штифт, 3 – подвижная оправка, 4 – метчик.
Оправка устанавливается конусным хвостовиком корпуса 1 в пиноль задней бабки токарного станка или в шпиндель сверлильного, а метчик 3 вставляется хвостовиком в квадратное гнездо подвижной части 2 оправки. При вращающейся заготовке метчик вводится в отверстие и легко
подается. Как только заборный конус нарежет две-три нитки, дальнейший поджим метчика не требуется – он будет сам ввинчиваться в резьбу, и подвижная часть 2, следуя за метчиком, будет выдвигаться из корпуса 1. При отсутствии специальной оправки можно пользоваться слесарным
в
оротком, который насаживается на квадратный хвостовик метчика. Схема работы по нарезанию резьбы при помощи воротка показана на рис. 6.
Р
ис. 6 Нарезание резьбы метчиком при помощи воротка.
1 – вороток, 2 – державка с центром, 3 – упорная планка
При нарезании резьбы метчиком некоторый слой металла выдавливается из впадины резьбы и уменьшает диаметр отверстия. Это затрудняет нарезание резьбы. Поэтому диаметр отверстия под резьбу делают чуть больше внутреннего диаметра резьбы.
Метчиками нарезают резьбу в отверстии, применяя один из следующих методов:
1)Нарезание вручную комплектом ручных метчиков;
2)Нарезание на станке машинным метчиком;
3)Нарезание на станке с последующей калибровкой ручным метчиком.
Нарезание вручную допускается при небольшом выпуске деталей. Число метчиков в комплекте (два-три) зависит от размера резьбы (диаметр, шаг), характера отверстия (сквозное или глухое) и от материала детали. Обычно при диаметре резьбы в глухом отверстии свыше 10 мм и в сквозном – свыше 14 мм, предусматривают нарезание в три прохода (три метчика).
С увеличением выпуска деталей нарезание переводят на станок. машинные метчики отличаются от ручных в основном несколько большей длиной заборной части и формой хвостовика. Поэтому иногда на станках пользуются ручными метчиками. В один проход (одним метчиком) нарезают резьбу диаметром до 24 мм.
Нарезание резьбы на станке требует обеспечивать условия для совпадения оси метчика с осью отверстия, для чего применяют плавающее крепление метчика (рис. 5). Жесткое закрепление метчика допускают на автоматах и револьверных станках, где отверстие под резьбу и резьба получаются в одной операции при одной установке детали.
Скорость резания при нарезании резьбы метчиком принимается 7-15 м/мин.
Нарезание метчиком дает резьбу не выше 2-го класса точности. Получение большей точности требует особых мер. Надежным средством получения стабильного качества резьбы является калибровка после нарезания. В качестве калибровочного обычно берут новый метчик, а нарезание ведут метчиком, изношенным при калибровке (этим обеспечивается малый припуск на калибровку).
3. Нарезание наружной резьбы круглыми плашками
Плашки применяются для нарезания на наружной поверхности резьбы треугольного профиля с шагом до 2 мм. Иногда плашки применяют для калибрования резьбы круглого шага, предварительно нарезанной резцом. Плашка (рис. 7) представляет собой гайку, изготовленную из
и
нструментальной стали и имеющую такую резьбу, для нарезания которой она предназначена.
а-ручной; б-самоустанавливающийся,машинный.
1-плашка, 2-винт, 3-подвижная оправка,4-штифт,5-корпус с хвостовиком
В этой гайке в зависимости от ее размеров просверлено 3-8 осевых отверстий, пересекающих резьбу. На пересечении поверхностей отверстий с поверхностью резьбы образуются режущие гребенки, за счет фасок на
гребенках под углом формируется заборный конус А, который выполняет работу резания. Цилиндрическая часть резьбы – калибрующая часть Б плашки (5-6 ниток), которая калибрует резьбу по размеру и шероховатости. Плашки используют с двух сторон: после износа заборного конуса с одной стороны плашку поворачивают в плашкодержателе и работу ведут другой стороной.
Плашка крепится в ручном плашкодержателе – воротке (рис. 8, а) или в самоустанавливающемся плашкодержателе (рис. 8, б), который вставляется в пиноль задней бабки, в головку револьверного станка или другое устройство.
В зависимости от износа плашки и вязкости металла заготовки размер резьбы можно регулировать по диаметру, для чего в плашке делают прорезь и регулируют винтами 1 и 2 плашкодержателя (см. рис. 7, в).
При нарезании резьбы плашкой, закрепленной в воротке, плашку подводят к заготовке, поджимая вороток 1 торцом пиноли задней бабки или упором 2, закрепленным в резцедержателе, а рукоятку воротка упирают в планку 3, которая также закреплена в резцедержателе (рис. 9). После нарезания резьбы на всю длину плашка свинчивается с заготовки при реверсировании вращения шпинделя.
Нарезание резьбы плашками выполняется со скоростью резания 2-4 м/мин по стали и до 10 м/мин по цветным металлам.
Характеристики
Тип файла документ
Документы такого типа открываются такими программами, как Microsoft Office Word на компьютерах Windows, Apple Pages на компьютерах Mac, Open Office - бесплатная альтернатива на различных платформах, в том числе Linux. Наиболее простым и современным решением будут Google документы, так как открываются онлайн без скачивания прямо в браузере на любой платформе. Существуют российские качественные аналоги, например от Яндекса.
Будьте внимательны на мобильных устройствах, так как там используются упрощённый функционал даже в официальном приложении от Microsoft, поэтому для просмотра скачивайте PDF-версию. А если нужно редактировать файл, то используйте оригинальный файл.
Файлы такого типа обычно разбиты на страницы, а текст может быть форматированным (жирный, курсив, выбор шрифта, таблицы и т.п.), а также в него можно добавлять изображения. Формат идеально подходит для рефератов, докладов и РПЗ курсовых проектов, которые необходимо распечатать. Кстати перед печатью также сохраняйте файл в PDF, так как принтер может начудить со шрифтами.
В деталях приборов имеются различные наружные и внутренние резьбовые поверхности. Резьбовая поверхность – это канавка, прорезанная на наружной или внутренней поверхности определенным образом. В зависимости от формы профиля канавки различают резьбы треугольные (рис. 1,а), трапецеидальные (рис.1,б), прямоугольные (рис.1,в) и др. По направлению витков резьбы делятся на правые (винт ввинчивается в гайку при вращении по часовой стрелке) и левые; резьбы бывают однозаходные (рис.2,а) и многозаходные (рис.2,б, в). Многозаходные резьбы имеют несколько параллельно идущих витков; на торце детали с такой резьбой видно несколько равномерно расположенных начал витков (заходов).
ис 1.Резьбы:
















