11 (970784)
Текст из файла
Билет № 11
31. Свариваемость металлов, определение свариваемости, особенности способа сварки титановых сплавов.
Свариваемость — свойство металлов или сочетания металлов образовывать при установленной технологии сварки соединение, отвечающее требованиям, обусловленным конструкцией и эксплуатацией изделия.
Определение свариваемости по ГОСТ 29273-92: металлический материал считается поддающимся сварке до установленной степени при данных процессах и для данной цели, когда сваркой достигается металлическая целостность при соответствующем технологическом процессе, чтобы свариваемые детали отвечали техническим требованиям, как в отношении их собственных качеств, так и в отношении их влияния на конструкцию, которую они образуют.
Физическая свариваемость подразумевает возможность получения монолитных сварных соединений с химической связью. Такой свариваемостью обладают практически все технические сплавы и чистые металлы, а также ряд сочетаний металлов с неметаллами.
Технологическая свариваемость — это характеристика металла, определяющая его реакцию на воздействие сварки и способность образовывать сварное соединение с заданными эксплуатационными свойствами. В этом случае свариваемость рассматривается как степень соответствия свойств сварных соединений одноименным свойствам основного металла или их нормативным значениям.
С
пособы сварки: Автоматическая дуговая сварка в защитной атмосфере аргона высшего сорта. При этом дополнительно защищают струями 1 и 2 аргона корень шва и еще не остывший до t=350 участок шва 3. Перед сваркой проволоку, и основной металл дегазируют путем отжига в вакууме. Допустимое количество газа в швах составляет H2 <0.01% O2 <0.1% N2 <0.05%. При большем содержании газов снижается пластичность металла сварных соединений, кроме того, титановые сплавы становятся склонными к образованию холодных трещин. Ответственные узлы сваривают в камерах с контролируемой аргонной атмосферой, в том числе и обитаемых, в который сварщики работают в скафандрах. Так же применяют плазменную, электронно-лучевую, диффузионную сварку (нагрев до 800…1100⁰ С, время 1…10 мин).
Дефекты: Наблюдается увеличение роста зерна, уменьшается пластичность, образование холодных трещин.
Способы уменьшения деформации: Тщательная очистка, обезжиривание NaOH 70-80⁰ С; т.о.: отжиг и отпуск (250⁰ С 0,5-1 ч) Tпл=1668 ⁰ С
32. Сущность, схемы, технологические возможности и области применения ультразвуковой сварки.
В ультразвуковой сварке используют давление и взаимное трение в свариваемых поверхностях. Силы трения возникают в результате действия на заготовки, сжатые осевой силой Р, механических колебаний с ультразвуковой частотой. Для получения механических колебаний высокой частоты используют магнитострикционный эффект, основанный на изменении размеров некоторых материалов под действием п
еременного магнитного поля (Ni, Fe+Co: K49, K65). Магнитострикционный пакет набирают из пластин 65х65. Свариваемые заготовки 5 размещают на опоре 6. Наконечник 4 рабочего инструмента 3(сечение уменьшается по экспоненте) соединен с магнитострикционным преобразователем 1 через трансформатор 2 продольных упругих колебаний, представляющих собой вместе с рабочим инструментом волновод. Нормальная сжимающая сила Р создаются моментом М в узле колебания. В результате ультразвуковых колебаний в тонких слоях контактирующих поверхностей создаться сдвиговые деформации, разрушающие поверхностные пленки. Тонкие поверхностные слои металла нагреваются, металл в этих слоях немного размягчается и под действием силы Р пластически деформируется. У.З. генератор работает от частоты тока на 20…25 кГц. Чтобы увеличить амплитуду колебаний, к пакету припаивают волновод.
Этой сваркой можно получать точечные и шовные соединения внахлестку, а также соединения по замкнутому контуру.
Ультразвуковой сваркой можно сваривать заготовки толщиной 0,001…1 мм, а также приваривать тонкую фольгу к массивным деталям. Ультразвук активно разрушает поверхностную пленку, что позволяет получать качественные соединения окисленных или покрытых лаком поверхностей без их предварительной очистки. Способ позволяет получать соединения разнородных материалов, например алюминия с медью, меди со сталью. Применяют в приборостроении, радиоэлектроники, авиационной промышленности, наиболее широко при сварке пластмасс.
3
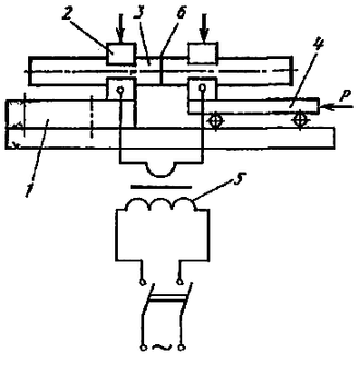
3. Выбрать способ сварки, нарисовать схему выбранного способа сварки рельса, площадь сечения которого равна 3000 мм2 (сварка стыковая оплавлением).
1 неподвижная плита; 2 зажимы (электроды); 3 заготовки; 4 подвижная плита; 5 сварочный трансформатор; 6 контакт. Количество выделяемой теплоты Q, Дж определяется законом Джоуля-Ленца: Q = I2Rt, где I - сварочный ток; R - сопротивление контакта; t - время протекания тока.
Характеристики
Тип файла документ
Документы такого типа открываются такими программами, как Microsoft Office Word на компьютерах Windows, Apple Pages на компьютерах Mac, Open Office - бесплатная альтернатива на различных платформах, в том числе Linux. Наиболее простым и современным решением будут Google документы, так как открываются онлайн без скачивания прямо в браузере на любой платформе. Существуют российские качественные аналоги, например от Яндекса.
Будьте внимательны на мобильных устройствах, так как там используются упрощённый функционал даже в официальном приложении от Microsoft, поэтому для просмотра скачивайте PDF-версию. А если нужно редактировать файл, то используйте оригинальный файл.
Файлы такого типа обычно разбиты на страницы, а текст может быть форматированным (жирный, курсив, выбор шрифта, таблицы и т.п.), а также в него можно добавлять изображения. Формат идеально подходит для рефератов, докладов и РПЗ курсовых проектов, которые необходимо распечатать. Кстати перед печатью также сохраняйте файл в PDF, так как принтер может начудить со шрифтами.















