Глава6-n_123 (967710), страница 2
Текст из файла (страница 2)
Абсолютная магнитная проницаемость m1 , m2 и m3 определяются с помощью кривой намагничивания рис. 1.9
Выражение 1.9 как и формулу 1.6 называют законом Ома для магнитной цепи.
1.2.Прямая задача при расчете разветвленных цепей
1.2.1.Симметричная магнитная цепь (рис. 1.10)
В этой цепи l1=l3 и S1=S3. Трехстержневой магнитопровод изготовлен из однородного ферромагнитного материала (кривая намагничивания известна). Магнитные сопротивления стержней 1 и 3 одинаковы. Поток Ф2, возникающий в среднем стержне, разделяется в т. а на две равные части Ф1=Ф3=Ф2 /2.
Пусть задано значение магнитного потока Ф3, требуется определить МДС w×I намагничивающей обмотки.
Рис. 1.10
Структуру решения можно представить так:1.2.2.Несимметричная магнитная цепь (рис. 1.11).
Здесь S1=S3 и l3=2l1. Задан поток Ф3, определить МДС w×I.
Схема решения:
Рис. 1.11
1.2.3.Несимметричная магнитная цепь с двумя намагничивающими обмотками (рис. 1.12).
Расчет подобных магнитных цепей производят, используя законы Кирхгофа для магнитных цепей. Перед записью уравнений произвольно намечают направления потоков в стержнях (Ф1 , Ф2 и Ф3) и выбирают направления обхода контуров. На рис. 1.12 направления потоков Ф1 и Ф2 приняты совпадающими с МДС w1I1 и w2I2.
Условимся со знаком «+» записывать потоки, направленные к узлу а, иначе – со знаком «-».
Со знаком «+» записывать магнитные напряжения, если направление потока на участке цепи совпадет с направлением обхода контура, иначе – со знаком «-».
Со знаком «+» записывать МДС, положительное направление которых совпадает с направлением обхода, иначе – со знаком «-».
Для цепи (рис.1.12) можно записать следующие уравнения по законам Кирхгофа:
Рис. 1.12
примечание: вместо одного из двух последних уравнений можно записать уравнение для левого контура:
Пусть требуется определить МДС w2I2, чтобы магнитная индукция в воздушном зазоре третьего стержня имела заданное значение В0.
Решение:
-
S0=S3, имеем В3=В0, тогда поток Ф3=В3S3=В0 S0
-
По кривой намагничивания определим напряженность Н3
-
В4=Ф3 / S4 и по кривой намагничивания определим Н4
-
Напряженность поля в зазоре Н0=В0/m0
-
Из уравнения 1.12 определим напряженность Н2 и по кривой намагничивания находим В2 и поток Ф2=В2S2
-
Из уравнения 1.10 определяется поток Ф1=Ф3 – Ф2
-
Находим индукцию В1=Ф1/ S1 и далее Н1 – по кривой намагничивания
2.Решение обратной задачи.
2.1 Неразветвленная магнитная цепь (рис. 1.8)
Рис. 1.8
Задано значение МДС w×I, требуется определить магнитный поток Ф. Если известно, что магнитная цепь устройства в рабочих режимах не насыщена и можно считать магнитную проницаемость ферромагнитных участков 2.1.1. Задаются рядом значений потока Ф (Ф’, Ф’’ и т.д.), по которым к
аждый раз определяется МДС wI (wI’, wI’’ и т.д. ), т.е. несколько раз решается прямая задача.
2.1.2. Строится вспомогательная магнитная характеристика Ф(wI) рис. 1.13.
2.1.3. Используя построенную характеристику, по заданному значению МДС wIзадан. определяем искомое значение потока Фиск.
Примечание: учитывая, что для расчета нужна только часть характеристики в окрестности Фиск, рекомендуется вначале найти приближенное значение Фиск с помощью уравнения
(т. к. Н0 >> H1 , Н2 и Н3),
из которого определяется напряженность поля в зазоре Н0 и далее – В0 = m0S0 и приближенное значение потока Фиск=В0S0 , и далее выполняются 2.1.1 – 2.1.3 пункты расчета.
2.2. Разветвленная несимметричная магнитная цепь (рис. 1.14).
По заданному значению МДС w×I определить магнитные потоки Ф1 , Ф3 , Ф2 .
Магнитные сопротивления отдельных участков магнитопровода в общем случае нелинейные из–за нелинейной зависимости между магнитными потоками и током намагничивающей обмотки Ф(I).
Рис. 1.14
При решении задачи удобнее использовать схему замещения (рис. 1.15) магнитной цепи (рис. 1.14), подобную схеме нелинейной электрической цепи постоянного тока с той разницей, что ЭДС заменена на МДС w×I, токи в ветвях электрической цепи – потоками Ф1, Ф2 , Ф3 в ветвях магнитной цепи, нелинейные сопротивления R(I) – магнитными сопротивлениями RM(Ф).
Выделим ветвь с МДС w×I в активный двухполюсник. Второй двухполюсник, в составе которого две параллельные ветви с нелинейными магнитными сопротивлениями RM1 и RM3 – пассивный (рис 1.16).
Задача решается графоаналитическим методом.
Рис. 1.15
Вебер-амперная характеристика активного двухполюсника строится в соответствии с уравнением второго закона Кирхгофа для магнитной цепи:
Рис. 1.16
Для ее построения задаемся рядом значений потока Ф2 , определяем ряд значений индукции
Чтобы получить вебер-амперную характеристику пассивного двухполюсника, нужно сначала построить характеристики Ф1(UabM) и Ф3(UabM) по описанной выше методике с использованием зависимостей:
Так как ветви с потоками Ф1 , Ф3 соединены между собой параллельно и
, то для построения характеристики пассивного двухполюсника Ф1(UabM)+ Ф3(UabM) складываем ординаты характеристик ветвей при одних и тех же значениях UabM.
Поскольку двухполюсники соединены последовательно (рис. 1.16), то точка пересечения их вебер – амперных характеристик определит общий для обоих магнитный поток Ф2 и магнитное напряжение UabM.
Располагая значением UabM и вебер – амперными характеристиками Ф1(UabM) и Ф3(UabM) определяем по рис. 1.17 значения потоков Ф1 и Ф3.
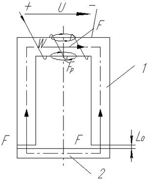
6.4.Расчет силы притяжения электромагнита.
Электромагниты в технических устройствах применяются для подъема г
рузов, переключения контактов реле магнитных пускателей, вентилей гидравлических систем, растормаживания механических тормозов и т. д.
На рис. 1.18 представлена схема магнитной цепи электромагнита.
I
Подвижная часть (якорь – 2, рис. 1.18) магнитопровода электромагнита отделена от его неподвижной части 1 рис. 1.18 воздушным зазором. При подключении намагничивающей обмотки к источнику электрической энергии возбуждается магнитное поле, возникает электромагнитная сила, действующая на якорь, и он, преодолевая силу тяжести, действие пружин и т. п., притягивается к неподвижной части магнитопровода.
Расчет силы притяжения электромагнита часто проводится приближенно, исходя из следующих соображений:
1. Ток I в обмотке имеет установившееся значение.
2. Сердечник 1 и якорь 2 не насыщены.
3. Потоком рассеяния Фр и выпучиванием магнитного поля в зазорах пренебрегают.
4. При изменении воздушного зазора на dl0 магнитная индукция В0 остается постоянной.
В таком случае можно считать, что механическая работа по перемещению якоря в направлении действия сил F на расстояние dl0 равна изменению энергии магнитного поля в воздушных зазорах, вследствие уменьшения их объемов.
С учетом двух воздушных зазоров имеем:
энергия магнитного поля в двух зазорах длиной dl0, где
– плотность электромагнитной энергии (энергия в единице объема зазора), S0 – площадь одного воздушного зазора. Приравняв dWмех и dWэм, получим расчетную формулу силы притягивания электромагнита
6.5.Об индуктивности намагничивающей обмотки.
Если катушка не имеет ферромагнитного сердечника, то зависимость потокосцепления y от тока катушки I линейная и индуктивность катушки
. Здесь индуктивность, как коэффициент пропорциональности между потокосцеплением и током катушки, является линейным параметром катушки. То же замечание относится и к намагничивающим обмоткам с ненасыщенным магнитопроводом (
).
Если поток Ф сцепляется со всеми w витками катушки (обмотки), то потокосцепление
, где
, тогда индуктивность
















