Глава2-n_123 (967706)
Текст из файла
Глава 2.
Электрические цепи однофазного синусоидального тока.
2.1. Синусоидальный ток и основные характеризующие его величины.
Синусоидальным током называют ток, изменяющийся во времени по синусоидальному закону (рис. 2.1):
Ток i(t) называют мгновенным. Максимальное значение тока называют амплитудой и обозначают
. Период Т – это время, за которое совершается одно полное колебание. Частота равна числу колебаний в секунду
, единица частоты
- герц (Гц).
Угловая частота
, единица угловой частоты рад/с или
.Аргумент синуса, т.е.
, называют фазой. Фаза характеризует состояние колебания в данный момент времени t.
Любая синусоидальная функция характеризуется тремя величинами: амплитудой, угловой частотой и начальной фазой.
Синусоидальные токи и ЭДС сравнительно низких частот, до нескольких килогерц, получают с помощью синхронных генераторов (их изучают в курсе электрических машин). Синусоидальные токи и ЭДС высоких частот получают с помощью ламповых и полупроводниковых генераторов, подробно рассматриваемых в разделе – электроника.
2.2. Среднее и действующее значение синусоидальных тока и ЭДС.
Принято среднее значение функции времени определять за период
Для синусоидальной функции среднее значение за период равно нулю.
Используется также понятие среднего значения синусоидальной функции за полпериода:
Аналогично, среднее значение ЭДС за полпериода
.
Действующим значением синусоидальной функции называется ее среднеквадратичное значение за период
Большинство измерительных приборов амперметров и вольтметров показывают действующее значение измеряемой величины.
2.3. Сложение синусоидальных функций времени. Векторные диаграммы. Основы символического метода расчета.
Пусть требуется сложить два тока:
Тригонометрическому уравнению (1) можно дать геометрическую интерпретацию, если каждому синусоидальному значению поставить в соответствие вектор на плоскости в координатах x, y, рис. 2.2а. Длиной вектора будет амплитуда тока, а фазой – начальная фаза синусоиды
. Совокупность векторов, соответствующая уровням токов или напряжений, называется векторной диаграммой.
Уравнению (1) можно поставить в соответствие другое уравнение, в котором каждая синусоида будет представлена в виде комплексного числа.
Ток
можно записать по формуле Эйлера:
С учетом (2) уравнение (1) примет вид:
Уравнение (3) содержит два типа комплексных чисел:
Прямые:
и сопряженные:
и может быть записано для каждой группы в отдельности, например,
Исключая общие множители
и
, получим:
или
Комплексное число
называется током в комплексной форме или комплексом тока по максимальному значению. Здесь
- модуль комплекса по максимальному значению, а
- фаза комплекса.
Если за модуль комплекса принять не амплитудное, а действующее значение, то получим комплекс по действующим значениям
или просто комплекс тока.
Уравнение (5) для комплексов тока примет вид:
Геометрическая интерпретация уравнения (6) на комплексной плоскости приведена на рис. 2.2.б. Это так называемая комплексная векторная диаграмма является с учетом масштаба точным аналогом векторной диаграммы, приведенной на рис.2.2.a.
Комплекс тока
называют символом мгновенного тока i(t), а метод составления уравнений в комплексной форме – комплексным или символическим.
Забегая вперед, отметим, что расчет цепей комплексным методом имеет значительные преимущества перед методом расчета по мгновенным значениям.
2.4. Пассивные элементы электрической цепи.
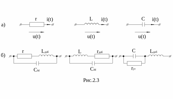
Резистор r , индуктивность L и емкость C являются пассивными элементами электрической цепи. Резистор r или активное сопротивление цепи – это элемент, в котором происходит рассеивание энергии в виде тепла или превращение электрической энергии в другой вид энергии: в световую, химическую или механическую.
Индуктивность L и емкость C называются реактивными элементами цепи, в них происходят накапливание энергии в виде магнитного или электрического поля. Рассеивание энергии в таких элементах отсутствует. Идеальные элементы r, L, C на схеме обозначаются так, как это показано на рис. 2.3а.
Реальные катушки индуктивности и конденсаторы рассеивают часть энергии. Этот факт учитывается с помощью добавочных сопротивлений
для катушки и
для конденсаторов, рис. 2.3б. В проволочных сопротивлениях и катушках индуктивности учитывают также межвитковую емкость
, рис 2.3б.; в реальном конденсаторе можно учесть паразитную индуктивность подводящих контактов
, рис. 2.3б.
Рассматривая пассивные элементы цепи r , L, C ответим на следующие вопросы:
-
Каково соотношение между мгновенным значением тока и напряжения на каждом элементе? Каков вид векторов тока и напряжения?
-
Каковы мгновенная мощность p(t) и накопленная энергия магнитного или электрического полей?
-
Каково соотношение тока и напряжения на элементе в комплексной форме, как изображаются вектора тока и напряжения на комплексной плоскости.
Под мгновенным значением мощности p(t) понимают произведение мгновенного значения напряжения u(t) на элементе цепи на мгновенное значение протекающего по элементу тока i(t):
2.5. Резистивный элемент.
2.5.1. Пусть ток в резисторе:
Мгновенное значение напряжения на резисторе:
Векторы тока и напряжения на резисторе приведены на рис. 2.4б. Закон Ома для резистора имеет вид:
2.5.2. Мгновенная мощность p(t) равна:
Временные диаграммы i(t), u(t), p(t) приведены на рис.2.4в. Мощность р(t) имеет постоянную составляющую или среднее значение, называемое активной мощностью Р:
Активная мощность Р измеряется в ваттах (Вт).
2.5.3. В комплексной форме напряжение на резисторе записывается в виде
Векторы тока и напряжения на комплексной плоскости приведены на рис. 2.4г.
2.6. Индуктивный элемент в цепи синусоидального тока.
Индуктивный элемент учитывает явления накапливания энергии магнитного поля и характеризуется зависимостью потокосцепления
от тока i:
2.6.1. Мгновенное значение напряжения на индуктивности:
Здесь
- ЭДС, наводимая изменяющимся во времени магнитным потоком.
Если принять ток в катушке
, то напряжение запишется в виде:
Векторы тока и напряжения показаны на рис. 2.5б. Напряжение опережает ток в катушке на угол
. Закон Ома для индуктивности:
где
- индуктивное сопротивление катушки, измеряется в Омах (Ом). Сопротивление
- частично зависимая величина, увеличивается с ростом частоты, рис. 2.5в.
2.6.2. Мгновенная мощность:
Мощность
называется реактивной и измеряется в вольт-амперах реактивных (ВАр). Временные диаграммы w(t), i(t) и p(t) для катушки приведены на рис. 2.5г. Средняя мощность равна нулю, т.е. рассеивание мощности или потери отсутствуют. Энергия магнитного поля катушки равна:
Временная диаграмма W(t), приведена на рис. 2.5д. Максимальная энергия магнитного поля катушки:
2.6.3. Напряжение на индуктивности в комплексной форме.
Так как напряжение на катушке:
Здесь
- индуктивное сопротивление в комплексной форме.
Оператор
отражает дифференцирование напряжения на индуктивности.
Закон Ома в комплексной форме:
Вектора тока и напряжения на комплексной плоскости приведены на рис. 2.5е.
2.7. Емкостный элемент в цепи синусоидального тока.
Емкость отражает явление накапливания электрического поля и характеризуется зависимостью заряда q от напряжения u :
2.7.1. Мгновенное значение напряжения на конденсаторе:
Пусть
, тогда напряжение на конденсаторе:
Это напряжение отстает от тока на угол
.
Векторы тока и напряжения приведены на рис.2.6б.
Закон Ома для емкости:
где
- емкостное сопротивление, измеряется в омах (Ом).
Емкостное сопротивление уменьшается с ростом частоты. Зависимость
от частоты приведена на рис. 2.6.в.
2.7.2. Мгновенная мощность на конденсаторе:
Q – реактивная мощность конденсатора. Временные диаграммы
, i (t), p (t) приведены на рис. 2.6г.
Среднее значение мощности равно нулю, т.е. рассеивание мощности или потери отсутствуют. Энергия электрического поля в конденсаторе равна:
Максимальная энергия электрического поля равна:
2.7.3. Напряжение на емкости в комплексной форме.
Характеристики
Тип файла документ
Документы такого типа открываются такими программами, как Microsoft Office Word на компьютерах Windows, Apple Pages на компьютерах Mac, Open Office - бесплатная альтернатива на различных платформах, в том числе Linux. Наиболее простым и современным решением будут Google документы, так как открываются онлайн без скачивания прямо в браузере на любой платформе. Существуют российские качественные аналоги, например от Яндекса.
Будьте внимательны на мобильных устройствах, так как там используются упрощённый функционал даже в официальном приложении от Microsoft, поэтому для просмотра скачивайте PDF-версию. А если нужно редактировать файл, то используйте оригинальный файл.
Файлы такого типа обычно разбиты на страницы, а текст может быть форматированным (жирный, курсив, выбор шрифта, таблицы и т.п.), а также в него можно добавлять изображения. Формат идеально подходит для рефератов, докладов и РПЗ курсовых проектов, которые необходимо распечатать. Кстати перед печатью также сохраняйте файл в PDF, так как принтер может начудить со шрифтами.
или 















