Глава 8 Элементы конструкции и механические расчеты (967520), страница 13
Текст из файла (страница 13)
здесь
— толщина миканитовой прокладки;
— число коллекторных пластин;
— размеры, м, по рис. 8.57.
Центробежная сила
, Н, определяется по формуле
, (8.116)
где
— радиус инерции консольной части, м;
— масса выступа (консольной части), кг:
— площадь боковой поверхности выступа, м2.
Радиальная составляющая силы арочного распора, Н,
Давление между пластинами
выбирают таким, чтобы обеспечить сжатие миканитовых прокладок, при котором они не имели бы возможности перемещаться радиально. Это давление может быть определено по эмпирической формуле, Па,
Для сечения II—II напряжение подсчитывают аналогично (с учетом петушков). При расчете напряжения от растягивающих и сжимающих сил в сечении III—III, Па, уголок хвоста рассматривают как балку, заделанную в этом сечении и нагруженную сосредоточенной силой:
где
— толщина пластины в средней части хвоста, м:
Центробежную
, и радиальную
составляющие силы арочного рассчитывают по (8.116) и (8.117). При этом вместо массы
должна быть взята полная масса коллекторной пластины и вместо
— расчетная площадь боковой поверхности пластины. Радиус инерции берется равным
. Напряжения
, и
не должны превосходить 120 МПа. Напряжение сжатия в миканитовых манжетах, отнесенное к 1 м2 площади прилегания манжеты к конусу с углом
, находят по формуле
Напряжение сжатия не должно превосходить 50 МПа.
Сжатые болты рассчитывают, исходя из осевого давления, которое должны создать нажимные шайбы.
Напряжение в болтах на растяжение, Па,
где
— диаметр болта, м;
— число болтов.
Значение не должно превышать 300 МПа.
Когда фланцы стягивают кольцевой гайкой, проверяют напряжение на срез витков резьбы гайки от силы запрессовки, Па:
Напряжение не должно быть более 80 МПа.
При нагреве коллектора возникают дополнительные напряжения вследствие неодинакового расширения меди и стали. Эти напряжения учитывают путем умножения найденных выше напряжений и коэффициент 1,1...1,2.
Пример. Исходные данные:
м,
м,
м,
м,
м,
м, 58
м,
м,
м,
м,
м2,
м2,
м2,
м2,
об/мин,
м,
м
Из (8.118)
Сечение I—I:
из (8.117)
масса консольной части
радиус инерции консольной части
центробежная сила по (8.116)
напряжение изгиба по (8.115)
Сечение II—II (с учетом петушков, рис. 8.58):
центробежную силу определяем для двух участков консольной части (А и
на рис. 8.58):
где
м — радиус центра тяжести петушков; напряжение изгиба по (8.115)
Сечение III—III: из (8.117)
центробежная сила по (8.116)
напряжение сжатия в манжетах по (8.120)
напряжение на срез резьбы гайки по (8.122)
Коллектор имеет достаточную механическую прочность.
8.8.2. Механический расчет коллектора на пластмассе
При механическом расчете коллектора на пластмассе определяют напряжение в кольце из пластмассы, удерживающем пластину. Давление на кольцевой выступ пластмассового кольца, Па (рис. 8.59), определяется по формуле
где
— толщина миканитовой прокладки, м;
кг/м3;
кг/м3;
кг/м3 — плотности миканита, пластмассы и меди;
— диаметр окружности по центру тяжести коллекторных пластин, м;
— коэффициент трения меди по миканиту:
;
— радианная мера толщины прокладок, рад;
— площадь поперечного сечения пластмассового кольца, м2;
— боковая площадь коллекторной пластины, м2;
— приведенная площадь пластмассового кольца с учетом стальных колец, м2;
— ширина кольцевого выступа, м:
— площадь поперечного сечения армирующего кольца, м2;
Па;
Па;
Па — модули упругости миканита, пластмассы и стали; т — коэффициент, равный отношению испытательной частоты вращения коллектора к максимальной частоте вращения якоря
, принимают
;
— коэффициент заполнения коллектора медью:
Напряжение растяжения всего кольца, вызванное радиальной деформацией, Па,
Рис. 8.59. К расчету коллектора на пластмассе
Предел прочности при растяжении составляет 20 МПа пластмассы К6 и 80 МПа для пластмассы АГ-4.
Прочность коллекторных пластин проверяется на напряжение в них от арочного распора
и центробежной силы С.
Консольные части пластин проверяют, так же как и в предыдущем случае, по (8.115). Кроме того, проверяется напряжение в сечениях
и
(рис. 8.59).
Напряжение растяжения пластины в сечении
, Па,
где
— толщина коллекторной пластины в сечении
и длина хвостовой части пластины в этом сечении, м.
Силы
и
определяют по (8.116) и (8.117) соответственно для части пластины, расположенной выше линии
.
Напряжение среза в сечении
. Па,
где
— средняя толщина и высота пластины в сечении
, м.
Силы
и
определяют для всей пластины.
Среднее давление между пластинами, обеспечивающее необходимый арочный распор, Па, определяют по формуле
Пример. Исходные данные:
м,
м,
м,
м2,
м2,
м2,
м,
м,
об/мин,
м.
Коэффициент заполнения коллектора медью
Приведенная площадь пластмассового кольца
Из (8.123)
Из (8.124)
Давление между пластинами по (8.127)
Из (8.117)
Средняя толщина коллекторной пластины
Средняя толщина пластины в сечении
(рис. 8.59)
Масса пластины
Из (8.116)
Напряжение среза в сечении
по (8.126)
Коллектор имеет достаточную механическую прочность.
8.9. КОНТАКТНЫЕ КОЛЬЦА
Контактные кольца применяют в синхронных машинах и асинхронных двигателях с фазным ротором. Они располагаются на валу машины, и к ним подсоединяют обмотку ротора. У синхронных машин устанавливают два кольца, а у асинхронных — три. К контактным кольцам синхронных машин через неподвижные щетки подсоединяют источник питания для обмотки возбуждения, а в асинхронных двигателях пусковой или регулировочный резистор. Контактные кольца или располагают между магнитопроводом ротора и подшипниковым щитом, или выносят за подшипниковый щит. Наиболее часто применяют последнюю конструкцию, так как в этом случае можно выполнять оба подшипниковых щита одинаковыми, кроме того, устраняется опасность попадания на обмотки щеточной пыли.
Материалом для колец служат сталь, чугун, латунь или медь. На 9.5 показана конструкция узла контактных колец для асинхронных двигателей. На рис. 10.2 приведена конструкция узла колец для синхронных двигателе СДН2.
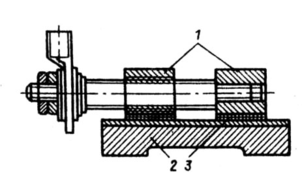
У машин относительно небольшой мощности контактные кольца 1 в холодном или горячем состоянии напрессовывают на втулку 2, расположенную на валу (рис. 8.60). Для изоляции колец от втулки применяют наложенный в несколько слоев формовочный миканит 3 толщиной 0,5...0,7 мм. При внешнем диаметре до 100 мм контактные кольца иногда выполняют на пластмассе.
Рис. 8.60. Контактные кольца на втулке
Для машин большой мощности применяют кольца с болтовым креплением (рис. 8.61). Контактные кольца 1 изолированы друг от друга и от болтов 3 изоляционными трубками 2. Весь узел прикрепляют к торцу вала 4. Эта конструкция имеет сравнительно небольшую массу, хорошее охлаждение колец, но она менее надежна в отношении прочности крепления и биения.
Рис. 8.61. Контактные кольца с болтовым креплением
Механический расчет контактных колец производят в целях определения напряжения в них от действия центробежной силы. Расчет производится для колец после их предельного износа. Предельный диаметральный износ принимают: 8 мм для колец диаметре до 100 мм, 12 мм для диаметров 100...250 мм и 16 мм для диаметров свыше 250 мм.
Центробежная сила кольца, Н,
, (8.128)
где
— масса кольца, кг;
— средний радиус кольца, м;
— максимальная частота вращения, об/мин.
Напряжение на растяжение в опасном сечении (сечение кольца ослабленное отверстием для контактной шпильки), Па,
где
— площадь сечения кольца, м2:
, (8.130)
— внешний диаметр кольца после износа, м;
— внутренний диаметр кольца и диаметр отверстия под шпильку, м;
— ширина кольца, м.
Напряжения в контактных кольцах, напрессованных на втулку, должны быть рассчитаны с учетом натяга при прессовой посадке по (8.97). Допускаемые напряжения не должны превышать 150 МПа для стальных колец и 75 МПа для латунных.
8.10. ТОКОСЪЕМНЫЙ АППАРАТ
Токосъемный аппарат, предназначенный для съема тока с коллектора или с контактных колец, состоит из щеток, щеткодержателей, щеточных пальцев и траверсы. На рис. 8.62 показаны некоторые из возможных конструкций щеткодержателей.
Щетки для электрических машин прессуют из угольных и графитных порошков. Электрические свойства щеток и стандартизованные их размеры приведены в приложении 5. Для отвода тока в щетки заделываются гибкие плетеные канатики 4, которые вторыми своими концами посредством припаянных к ним наконечников соединяют к неподвижной части щеткодержателя. Щетки 2 устанавливают в обойму щеткодержателя 1. Щеткодержатели выполняют из латуни литыми или штампованными. Для того чтобы осуществить плотный контакт с коллектором или контактными кольцам на щетки с помощью пружины 3 осуществляется давление, которое выбирается равным 0,02...0,04 МПа. Щеткодержатели укрепляют на щеточных пальцах с помощью колодок 5. На щеточном пальце обычно размещают несколько щеткодержателей. Наиболее распространенным видом щеткодержателей являются радиальные (рис. 8.62, а), у них направление щетки совпадает с продолжением радиуса коллектора. Такие щеткодержатели применяют для реверсивных машин, так как условия работы щеток не зависят от направления вращения. На рис. 8.63 показана еще одна конструкция радиального щеткодержателя.
Для машин одностороннего вращения чаще находят применение реактивные щеткодержатели (см. рис. 8.62, 6), достоинство которых заключается в том, что при определенном нажиме и угле наклона щетка не упирается в обойму и скользит в ней без трения.
















