MY_CUR1 (954181)
Текст из файла
Московский государственный технический университет им Н.Э.Баумана.
РАСЧЕТНО-ПОЯСНИТЕЛЬНАЯ ЗАПИСКА ПО КУРСОВОЙ РАБОТЕ ПО КУРСУ
«РАСПРЕДЕЛЕННЫЕ БАЗЫ ДАННЫХ В
ИНТЕРСЕТЯХ»
ВЫПОЛНИЛ
Петров Д., ИУ5-92, Вариант №17 .
ПРОВЕРИЛ
Постников В.М. .
Москва - 2000 г.
-
Введение. 4
-
1. Техническое задание. 5
1.1. Наименование. 5
1.2. Основание для разработки. 5
1.3. Назначение разработки. 5
1.4. Цель разработки. 5
1.5. Содержание работы. 5
1.5.1. Задачи, подлежащие решению. 5
1.5.2. Требования к составу технических средств. 5
1.5.3. Требования к составу программных средств. 6
1.6. Этапы разработки. 6
1.7. Техническая документация, предъявляемая по окончании работы. 6
1.8. Порядок приема работы. 6
1.9. Дополнительные условия. 6
-
2. Построение интерсети фирмы. 7
2.1. Блок-схема распределенной сети обработки данных. 7
2.2. Центральный офис фирмы. 8
2.2.1. Структурная схема локальных вычислительных сетей центрального офиса фирмы. 8
2.2.2. Выбор оборудования и правила построения локальных вычислительных сетей. 8
2.2.3. Серверы локальной вычислительной сети центрального офиса. 10
2.3. Удаленный офис №1. 12
2.3.1. Структурная схема локальной вычислительной сети удаленного офиса № 1. 12
2.3.2. Выбор оборудования и правила построения локальной вычислительной сети. 13
2.3.3. Серверы локальной вычислительной сети удаленного офиса № 1. 13
2.4. Удаленный офис № 2. 14
2.4.1. Структурная схема локальной вычислительной сети удаленного офиса № 2. 14
2.4.2. Выбор оборудования и правила построения локальной вычислительной сети. 14
2.4.3. Серверы локальной вычислительной сети удаленного офиса № 2. 15
-
3. Методы создания отказоустойчивых 15
-
и высокопроизводительных серверов. 15
3.1. Методы увеличения производительности. 15
3.2. Методы увеличения отказоустойчивости. 16
3.2.1.Выбор дисковой подсистемы. 16
3.3. Выбор источников бесперебойного питания. 19
3.3.1. Причины необходимости установки ИБП. 19
3.3.2.Способы подключения источников бесперебойного питания. 19
3.4. Сравнительный анализ источников бесперебойного питания. 20
-
4. Сравнительный анализ вариантов организации 21
-
удалённой связи. 21
4.1. Основные сведения о модемах. 21
4.1.1. Виды модемов. 21
4.1.2. Основные понятия. 22
4.1.3. Протоколы модемной связи. 23
4.1.4. Схема подключения модема. 24
4.1.5. Индикаторы состояний модема. 24
4.2. Технические данные выбранной модели. 24
4.3. Расчёт времени передачи файла. 26
4.3.1. Математическая модель канала связи. 26
4.3.2. Укрупненная модель оценки времени передачи данных по каналу связи. 27
-
5. Сравнительный анализ, установка и настройка 28
-
сетевых операционных систем. 28
5.1. Анализ сетевых операционных систем. 28
5.2. Сетевая операционная система OS/2 Warp 4. 29
5.2.1. Общие сведения. 29
5.2.2. Подготовка к инсталляции. 31
5.2.3. Установка операционной системы OS/2. 32
5.2.5. Настройка рабочих параметров операционной системы OS/2. 34
-
6. Сравнительный анализ систем управления базами данных. 38
6.1. Сравнительный анализ систем управления базами данных. 38
6.2. Система управления базами данных Oracle. 39
-
7. Распределение предметных баз данных по узлам сети. 42
-
8. Моделирование локальной вычислительной сети. 48
8.1. Аналитическое моделирование. 48
8.1.1. Математические модели, используемые для оценки характеристик 48
функционирования ЛВС и их компонентов. 48
8.1.2. Аналитическое моделирование системы. 52
8.2. Моделирование с помощью языка GPSS. 57
8.2.1. Преимущества имитационного моделирования. 57
8.2.2. Моделирование. 57
8.2.3. Результаты моделирования. 60
8.3. Сравнение результатов моделирования с результатами аналитического расчёта. 62
-
Заключение. 63
-
Приложение 1. Реферат на тему: Архитектура Sybase System 11 64
-
Приложение 2. Расчет затрат на создание системы распределенной обработки данных в сети. 74
2.1. Смета затрат на создание проектного решения интерсети. 74
2.2. Расчет и обоснование сметы затрат на создание проектного решения интерсети. 74
2.2.1. Материалы. 74
2.2.2. Оборудование. 74
2.2.3. Услуги сторонних организаций. 75
2.2.4. Заработная плата. 75
2.2.5. Отчисления на социальные нужды. 76
2.2.6. Накладные расходы. 76
2.2.7. Себестоимость. 76
2.2.8. Прибыль. 76
2.2.9. Цена. 76
2.2.10. Продажная цена. 76
2.3. Смета капитальных затрат на создание интерсети. 76
-
Приложение 3. Аналитическая модель оценки характеристик функциональной локальной вычислительной сети с распределённой 78
-
базой данных. 78
-
Литература 1
Введение.
Данный документ представляет собой расчетно-пояснительную записку по курсовой работе по курсу “Распределенные базы данных в интерсетях”.
Целью курсовой работы является разработка проектного решения на интерсеть фирмы, объединяющую все подразделения фирмы: центральный офис и два удаленных офиса.
В процессе выполнения курсовой работы были решены следующие задачи:
-
Выбор сетевого, телекоммуникационного оборудования и соответствующего программного обеспечения для центрального и удаленных офисов фирмы.
-
Расчёт времени передачи данных через модемы и телефонные линии связи.
-
Выбор сетевой ОС.
-
Выбор СУБД.
-
Распределение предметных баз данных (ПБД) по узлам сети.
-
Расчёт затрат на создание распределенной системы обработки данных.
-
Аналитическое моделирование распределенной системы обработки данных.
-
Имитационное моделирование распределенной системы обработки данных.
Расчетно - пояснительная записка по курсовой работе включает в себя следующие документы:
-
Техническое задание.
-
Обоснование выбора аппаратно – программных средств для построения распределенной системы обработки данных.
-
Текст программы имитационной модели на языке GPSS.
-
Текст программы аналитической модели на языке Delphi.
-
Приложения к расчетно - пояснительной записке (3 листа формата А3).
-
Техническое задание.
1.1. Наименование.
Проектное решение на интерсеть, объединяющую все подразделения фирмы.
1.2. Основание для разработки.
Основанием для разработки является учебный план кафедры АСОИУ МГТУ им. Н.Э.Баумана.
1.3. Назначение разработки.
Проектное решение на интерсеть предназначено для объединения подразделений фирмы, состоящей из центрального офиса и двух удаленных офисов, в интерсеть.
1.4. Цель разработки.
Целью разработки является создание проектного решения на интерсеть, объединяющую все подразделения фирмы, состоящей из центрального и двух удаленных офисов.
1.5. Содержание работы.
1.5.1. Задачи, подлежащие решению.
В процессе проектирования сети корпоративной информационной системы должны быть решены следующие задачи:
-
Выбор сетевого, телекоммуникационного оборудования и соответствующего программного обеспечения для центрального и удаленных офисов фирмы.
-
Расчёт времени передачи данных через модемы и телефонные линии связи.
-
Выбор сетевой ОС.
-
Выбор СУБД.
-
Распределение предметной базы данных (ПБД) по узлам сети.
-
Расчёт затрат на создание распределенной системы обработки данных.
-
Выполнение аналитического моделирования распределенной системы обработки данных.
-
Выполнение имитационного моделирования распределенной системы обработки данных.
1.5.2. Требования к составу технических средств.
Центральный офис фирмы: сети 100VSAnyLAN на базе оборудования фирмы Allied Telesyn, 10BaseT на базе оборудования фирмы SVEC. В каждой сети имеется по одному файловому серверу и по 20 рабочих станций.
Удаленный офис № 1: сеть 10BaseT. В сети имеется по одному файловому серверу и по 20 рабочих станций. Сеть построена на базе оборудования фирмы Allied Telesyn.
Удаленный офис № 2: сеть ArcNet (шина). В сети имеется один файловый сервер и 20 рабочих станций. Сеть построена на базе оборудования фирмы D-Link.
Локальные сети центрального офиса соединены с локальными сетями удаленных офисов с помощью маршрутизаторов фирмы Cisco.
В сетях используются серверы фирмы HP.
1.5.3. Требования к составу программных средств.
В сетях установлена сетевая ОС OS/2 и РБД под управлением СУБД Oracle.
1.6. Этапы разработки.
-
Выбор оборудования - 1.11.99.
-
Выбор программного обеспечения - 8.11.99.
-
Моделирование работы сети - 10.12.99.
-
Оформление документации - 25.12.99.
1.7. Техническая документация, предъявляемая по окончании работы.
По окончании работы должна быть предъявлена следующая документация:
-
Техническое задание.
-
Текст программы имитационной модели на языке GPSS.
-
Пояснительная записка.
-
Графические приложения к пояснительной записке (3 листа формата А3).
Пояснительная записка должна включать материалы, описывающие выбор сетевого телекоммуникационного оборудования и соответствующего программного обеспечения для центрального и удаленных офисов фирмы, анализ и выбор сетевой ОС, анализ и выбор СУБД, описание методики генерации и настройки выбранных пакетов на выбранных аппаратных платформах, выполнение аналитического моделирования системы, выполнение имитационного моделирования системы.
Вся документация может быть представлена в виде единого документа “Курсовая работа по курсу “Распределенные базы данных”.
1.8. Порядок приема работы.
Прием работы осуществляется путем проверки соответствия выполненной работы пунктам технического задания.
1.9. Дополнительные условия.
Данное техническое задание может уточняться в установленном порядке.
2. Построение интерсети фирмы.
2.1. Блок-схема распределенной сети обработки данных.
Центральный офис
Филиал № 1 Филиал № 2
2.2. Центральный офис фирмы.
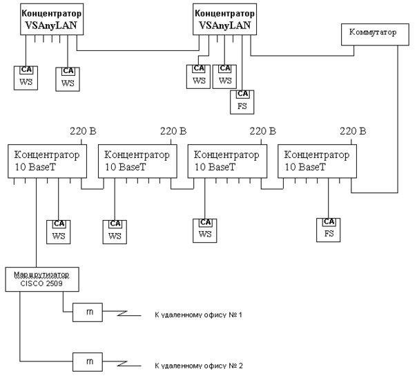
2.2.1. Структурная схема локальных вычислительных сетей центрального офиса фирмы.
2.2.2. Выбор оборудования и правила построения локальных вычислительных сетей.
2.2.2.1. Локальная вычислительная сеть 100VSAnyLAN.
2.2.2.1.1. Правила установки и монтажа.
| Тип кабеля - | UTP3, UTP4, UTP5 |
| Топология - | звезда |
| Максимальное число узлов на сегменте - | 1024 |
| Максимальное колличество сегментов - | 4 (последовательно) |
| Максимальная длина кабеля между концентраторами - | 5 м |
| Максимальная длина сегмента (только для оборудования HP) - | 225 м |
| Максимальная длина сети - | 1100 м |
| Способ подсоединения узла - | RJ-45 |
| Колличество используемых пар кабеля - | 4 |
2.2.2.1.2. Выбор сетевого оборудования.
Согласно условию технического задания, сетевое оборудование должно быть фирмы Allided Telesyn:
-
сетевые адаптеры AT-2400 (с разъемами Rj-45) для шины PCI;
-
неэкранированная витая пара 5-й категории, волновое сопротивление 100 Ом;
-
концентраторы AT-MR904TX.
Поскольку в сети находится 20 рабочих станций и один сервер, целесообразно реализовать ее в виде одного сегмента.
2.2.2.2. Локальная вычислительная сеть 10BaseT.
2.2.2.2.1. Правила установки и монтажа.
Основные компоненты сети:
-
неэкранированная витая пара 3-й категории, волновое сопротивление 100 Ом;
-
сетевые адаптеры Ethernet с разъемом Rj-45;
-
терминаторы с сопротивлением 50 Ом;
-
повторители (устройства, предназначенные для усиления сигнала, проходящего по кабелю).
Правила:
-
длина луча сети не должна превышать 100 м;
-
концентраторы могут иметь 8, 12, 24, 48 или 72 порта с разъемом Rj-45. К порту концентратора может быть подключен либо узел сети (сервер или рабочая станция), либо соседний концентратор;
-
в сети должно быть не более четырех последовательно соединенных концентраторов (или четырех стеков концентраторов);
-
в сети должно быть не более 1024 узлов;
-
между любыми двумя удаленными узлами сети не должно быть более пяти лучей. Поэтому длина сети не должна превышать 500 м;
-
между любыми двумя узлами (компьютерами) в сети должно быть не более 5 концентраторов.
2.2.2.2.2. Выбор сетевого оборудования.
Согласно условию технического задания, сетевое оборудование должно быть фирмы SVEC:
-
сетевые адаптеры FD700 USB (с разъемами Rj-45);
-
неэкранированная витая пара 3-й категории, волновое сопротивление 100 Ом;
-
концентраторы FD510.
Поскольку в сети находится 20 рабочих станций и один сервер, целесообразно реализовать ее в виде одного сегмента.
2.2.2.3. Связь сетей.
Для подключения сети 100BaseTX к сети 10BaseT используется коммутатор 10/100 Fast Eternet Switch FS708 фирмы Allided Telesyn, который имеет 1 скоростной порт 100Мбит/с и 4 порта по 10Мбит/с.
Коммутатор соединяется с концентратором и конвертором через порты Rj-45.
Характеристики
Тип файла документ
Документы такого типа открываются такими программами, как Microsoft Office Word на компьютерах Windows, Apple Pages на компьютерах Mac, Open Office - бесплатная альтернатива на различных платформах, в том числе Linux. Наиболее простым и современным решением будут Google документы, так как открываются онлайн без скачивания прямо в браузере на любой платформе. Существуют российские качественные аналоги, например от Яндекса.
Будьте внимательны на мобильных устройствах, так как там используются упрощённый функционал даже в официальном приложении от Microsoft, поэтому для просмотра скачивайте PDF-версию. А если нужно редактировать файл, то используйте оригинальный файл.
Файлы такого типа обычно разбиты на страницы, а текст может быть форматированным (жирный, курсив, выбор шрифта, таблицы и т.п.), а также в него можно добавлять изображения. Формат идеально подходит для рефератов, докладов и РПЗ курсовых проектов, которые необходимо распечатать. Кстати перед печатью также сохраняйте файл в PDF, так как принтер может начудить со шрифтами.
















