Задачи (950008)
Текст из файла
Решение задач
По второму этапу курсовой работы
по курсу МЖГ
ВАРИАНТ 5-3-3
ТЕМА
Гидравлический расчет гидросистемы
деривационной гидроэлектростанции
Выполнил студент группы Э5-51
Подпись, дата сдачи на проверку
Д
опустил к защите Кузнецов В.С.
Подпись, дата допуска к защите
Задача 7.11.
По трубопроводу диаметром
, в котором установлена труба Вентури с горловиной диаметром
, вода сливается под постоянный уровень, расположенный ниже оси расходомера на
. Коэффициент потерь в диффузоре расходомера
и коэффициент сопротивления угольника
.
Какой наибольший расход
воды можно пропускать по трубопроводу при полностью открытом вентиле (
), чтобы вакуумметрическая высота в горловине расходометра не превышала
?
Каким должен быть коэффициент сопротивления
вентиля, чтобы при найденном выше расходе абсолютное давление в горловине расходомера равнялось атмосферному?
Потерями на трение по длине пренебречь.
Решение.
Запишем уравнение Бернулли для первого и второго сечений:
. Предположим, что течение жидкости турбулентное, т.е.
. Высоту будем отсчитывать от поверхности жидкости (сечение 2-2). Так как вода сливается под постоянный уровень, то
. В сечении 1-1 вакуумметрическая высота равна
, т.е.
. Поскольку сечение 2-2 совпадает с поверхностью жидкости, то
.
Распишем потери на трубопроводе
:
- потери в диффузоре, где
- скорости при входе и на выходе из диффузора соответственно.
Запишем соотношение постоянства расхода:
,
или в итоге получаем
. С учетом этого уравнение Бернулли перепишется в следующем виде:
. Найдем
:
.
Убедимся в том, что данное течение жидкости на самом деле турбулентное:
,
- вязкость воды.
Выразим коэффициент потер на вентиле из уравнения при условии что
(давление в горловине равно атмосферному):
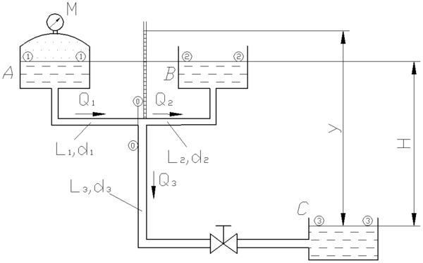
Задача 9.9.
Вода подается в открытый верхний бак по вертикальной трубе (
;
;
) за счет избыточного давления
в нижнем замкнутом баке.
Определить давление
при котором расход
.
Коэффициент сопротивления полностью открытого вентиля
. Коэффициент сопротивления трения определить по заданной шероховатости трубы
.
Построить график напоров по высоте трубы.
Решение.
Определим режим течения жидкости:
.
Запишем уравнение Бернулли для первого и второго сечений:
. Поскольку
, что течение жидкости турбулентное. Высоту будем отсчитывать от сечения 1-1. Так как сечения 1-1 и 2-2 совпадают с поверхностями жидкости то
. Распишем потери на трубопроводе
:
- потери на входе в трубу (
), где
- скорость жидкости в трубе
;
- потери по длине трубы.
- коэффициент сопротивления трения, зависящий от числа Рейнольдса, диаметра трубы и шероховатости. В нашем случае
(
,
).
В итоге уравнение Бернулли примет вид:
.
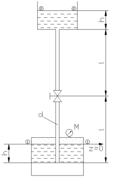
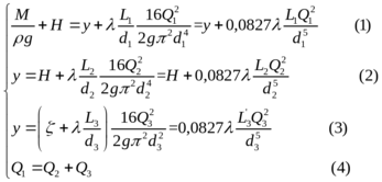
Задача 10.24.
Баки
,
,
соединены трубопроводами, имеющими размеры
,
и
,
. Напор
.
-
При каком избыточном давлении
на поверхности воды в баке
в бак
будет поступать расход
? -
Как нужно изменить давление
, чтобы вода не поступала в бак
?
Коэффициенты сопротивления трения во всех трубопроводах принять равным
, коэффициент сопротивления задвижки
.
Решение.
Запишем систему уравнений:
Потерями на вход и выход потока жидкости пренебрежем из-за их малости по сравнению с потерями в трубопроводе.
(1)- уравнение Бернулли для сечений 1-1 и 0-0.
- высота столба жидкости в воображаемом манометре (за начало отсчета высоты возьмем плоскость 3-3); (2)- уравнение Бернулли для сечений 0-0 и 2-2.
(3)- уравнение Бернулли для сечений 0-0 и 3-3.
- приведенная длина 3 участка.
(4)- уравнение баланса расходов в узлах.
Из уравнений (1) и (2) получаем:
(5).
Из уравнения (4) находим, что
.
Чтобы вода не поступала в бак
, необходимо чтобы
равнялось
. Перепишем систему уравнений с учетом этого.
10
Характеристики
Тип файла документ
Документы такого типа открываются такими программами, как Microsoft Office Word на компьютерах Windows, Apple Pages на компьютерах Mac, Open Office - бесплатная альтернатива на различных платформах, в том числе Linux. Наиболее простым и современным решением будут Google документы, так как открываются онлайн без скачивания прямо в браузере на любой платформе. Существуют российские качественные аналоги, например от Яндекса.
Будьте внимательны на мобильных устройствах, так как там используются упрощённый функционал даже в официальном приложении от Microsoft, поэтому для просмотра скачивайте PDF-версию. А если нужно редактировать файл, то используйте оригинальный файл.
Файлы такого типа обычно разбиты на страницы, а текст может быть форматированным (жирный, курсив, выбор шрифта, таблицы и т.п.), а также в него можно добавлять изображения. Формат идеально подходит для рефератов, докладов и РПЗ курсовых проектов, которые необходимо распечатать. Кстати перед печатью также сохраняйте файл в PDF, так как принтер может начудить со шрифтами.
















