Лекция_3_Лапцевич (945784)
Текст из файла
КРИТЕРИЙ РАСЧЕТА НЕОБХОДИМОЙ
ОЧИСТКИ ВОЗДУХА
Вредные вещества оказывают суммарное действие (аддитивное). Мы должны в этом случае учесть концентрацию каждого вещества в воздухе.
С1, С2, С3, … Сn - концентрации
С1/ПДК1 + С2/ПДК2 + … + Сn/ПДКn ≤ 1,
тогда на человека не оказывается вредного влияния.
Вещества не оказывают однонаправленного действия. Каждое вещество по своему вредит человеку. Тогда мы рассчитываем исходя из большего ПДК.
Классификация веществ:
| Показатель | I | II | III | IV |
| чрезвыч. опасн. | высоко опасные | умерено опасные | малоопасные | |
| 1. ПДК,мг/м3 | менее 0,1 | 0,1 – 1,0 | 1,1 – 10,0 | более 10 |
| 2. Средняя смертельная концентрация, мг/м3 | менее 500 | 500 - 5000 | 5000 - 50000 | более 50000 |
| Вещество | ПДК, мг/м3 | Агрегатное состояние | Класс опасности |
| Ацетон | 200 | пары | МО, IV |
| Ртуть | 0,01 | пары | ЧО, I |
| Свинец | 0,01 | аэрозоль | ЧО, I |
ЗАЩИТА АТМОСФЕРЫ
Выбросы ТЭЦ по России составляют 14,6 млн тонн в год. Из них:
4,6 млн тонн – зола,
4,7 млн тонн – сернистый ангидрид,
2,7 млн тонн – оксид азота.
Способы защиты атмосферы:
-
Технические устройства для очистки воздуха, выбрасываемого в атмосферу. Реализация: выброс грязи из труб ( пока дойдет до земли, уже очистится)
Токсикологические свойства пыли:
-
дисперсность пыли ( размер);
-
химические свойства (может быть токсичной);
-
сорбционные свойства;
-
электрозаряженность ( заряженная пыль более опасна);
-
форма пылинок (острые).
Размеры пыли:
| Крупная 10-20 мкм – задерживаются в носоглотке, в легкие не проходят 0,25-10 мкм – глубоко проникают в легкие. Наиболее опасны для человека. |
| Мелкая 0,25 мкм и менее – легко проникают в легкие и легко из них выходят. Долго содержатся в воздухе, практически не оказывают вредного действия на человека. |
ОЧИСТКА ВОЗДУХА ОТ ПЫЛИ
Пылеосадочные камеры
F = mg
m = ( π*(dп)3*ρп ) / G, где dп – диаметр пылинки;
ρп – плотность вещества, из которого
состоит пылинка.
Время выпадения пылинки на дно камеры:
t = H / Vп
За это время частица пройдет путь по горизонтали:
L = V*t
H/Vп = L/V
Эффективность очистки: η = [( Снач - Скон )/ Снач ]*100%
Для простых камер эффективность отчистки 50-60%, а для лабиринтных 85-90%.
Пылеосадочные камеры применяются для отчистки от крупной пыли с размером dп более 50 мкм.
ЦИКЛОНЫ
Пылинка, двигаясь по прямой переводится во вращательное движение и на неё будет действовать центробежная сила.
1 – патрубок, 2 – цилиндрическая часть, 3 – патрубок, 4 – коническая часть, 5 – пылесборник.
Воздух, попадая в 4 движется по спирали вниз, при этом пылинки прижимаются к стенкам циклона центробежной силой, теряют скорость и выпадают в пылесборник 5.
Обеспыленный воздух за счёт разности давлений поднимается вверх и выходит через патрубок 3.
η = 90%
Для эффективной отчистки также используются орошаемые циклоны, в которых вода подается на орошенные форсунки. Возможны 2 эффекта:
-
Соударение пыли с водой и выпадение в осадок
-
Смывание пыли со стенок циклона.
Орошаемые циклоны не пригодны для цементной пыли.
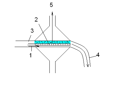
ПЕННЫЕ ПРОМЫВАТЕЛИ
1 – загрязненный воздух, 2 – сито, 3 – вода, 4 – шланг, 5 – патрубок.
Над поверхностью сита 2 имеется слой воды 3, проходя через который, содержащаяся в воздухе пыль, задерживается. Далее вода с пылью стекает через шланг 4 и обеспыленный
воздух выходит через патрубок 5.
Применяется для отчистки от мелкой пыли. η ≈ 95 %
Характеристики
Тип файла документ
Документы такого типа открываются такими программами, как Microsoft Office Word на компьютерах Windows, Apple Pages на компьютерах Mac, Open Office - бесплатная альтернатива на различных платформах, в том числе Linux. Наиболее простым и современным решением будут Google документы, так как открываются онлайн без скачивания прямо в браузере на любой платформе. Существуют российские качественные аналоги, например от Яндекса.
Будьте внимательны на мобильных устройствах, так как там используются упрощённый функционал даже в официальном приложении от Microsoft, поэтому для просмотра скачивайте PDF-версию. А если нужно редактировать файл, то используйте оригинальный файл.
Файлы такого типа обычно разбиты на страницы, а текст может быть форматированным (жирный, курсив, выбор шрифта, таблицы и т.п.), а также в него можно добавлять изображения. Формат идеально подходит для рефератов, докладов и РПЗ курсовых проектов, которые необходимо распечатать. Кстати перед печатью также сохраняйте файл в PDF, так как принтер может начудить со шрифтами.
















