lektsii (832569)
Текст из файла
Электронные устройства в станках
Мещерякова Вера Борисовна
Лекция 1
Основные понятия и классификация МП (микропроцессора) УЧПУ
Поколения устройств ЧПУ
| Поколения УЧПУ | Элементная база | Модель устройства | Приводы подач | Модель привода |
| I HNC (Hand numerical control) Ручное программное управление | Дискретные полупроводниковые элементы | Серия К (К2П; К3П; КПТ) | Электрогидравлические шаговые приводы | ШД 4М (пример) |
| II SNC (special numerical control) | Малая (серия 155) и средняя (серия 176) степень интеграции | Серия Н (Н22, Н33, Н55) Н55 – 5 координат и 5 одновременно управляемых Серия «Размер» («Размер -2М») | а) Электрогидравлические шаговые двигатели (до 16кГц) б) Следящий привод (индуктосин, резольвер) | а) ШД 5Д б) ЭТ 3 |
| III CNC (computer numerical control) | Микро-ЭВМ «Электроника-60», «Электроника-НЦ03» БИС (большая интегральная схема) (серия 589 и т.п.) | Серия 2С, 2М, 2Р (2С42 – управление токарными станками, 2Р35 – управление фрезерными станками, «Электроника-НЦ31» | Следящий, теристорный и транзисторный привод постоянного тока с ИП резольвер, индуктосин (линейный/круговой), оптические импульсные датчики | ЭТ6 ЭШИР ЭШИМ |
| IV DNC (Direct) | Мультипроцессорная структура построения «Электроника-МС2101», полузаказные БИС | серия 3С 3С140, 3С170 и т.д. | Управляемый привод как правило цифровой следящий постоянного и переменного тока с оптическими импульсными датчиками | 3С150 |
// HNC – ввод только с пульта ЧПУ (неудобно)
//SNC – есть блок памяти, который может хранить и вызывать управляющую программу. Для ввода управляющей программы появляется носитель (магнитная лента (бобина) или перфолента). Серия Н имеет фотосчитывающее устройство (которое считывает информацию с 8мидорожечной перфоленты). Магнитная лента имеет высокую плотность записи, но нужны спец условия хранения, спец приспособления для записи, поэтому перфоленты их вытеснили. Кроме постоянного использования носителя, можно программу занести в блок памяти.
Устройства ЧПУ классов HNC и SNC (аппаратные УЧПУ) имели жесткую структуру построения, при которой алгоритмы управления реализовывались схемным путем. Были построены эти УЧПУ по принципу цифровой модели, где все операции, составляющие алгоритм работы выполнялись параллельно с помощью отдельных электронных блоков, реализующих ту или иную функцию управления, т.е. имели агрегатно-блочное построение. Агрегатно-блочное построение позволяло модернизировать УЧПУ путем замены отдельных блоков, однако полная структура УЧПУ определялась постоянными схемами отдельных электронных панелей и межузловых соединений. Поэтому такая структура не могла быть полностью изменена после изготовления этой УЧПУ.
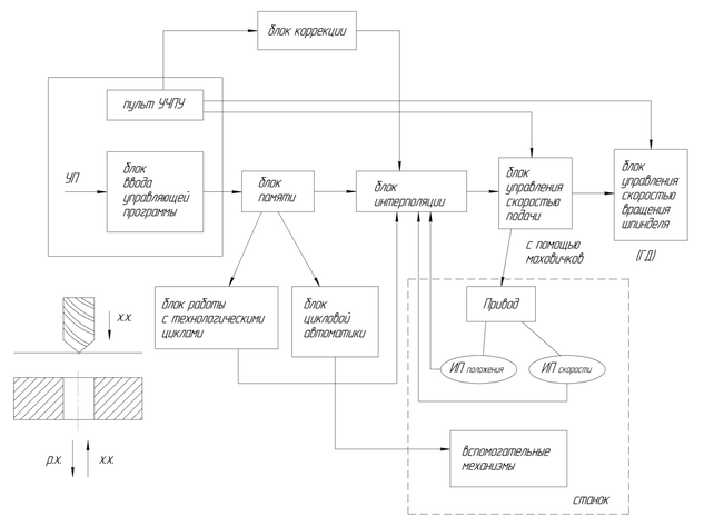
Общая схема УЧПУ
Рисунок 1
Станки с ЧПУ – автоматизация единичного и мелкосерийного производства (для переналадки).
Лекция 2
CNC – ввод программ с помощью разных носителей (перфолента, магнитная лента, магнитные диски, пульт) Особенность – ведение диалогового программирования (отвечая на вопросы ведется подготовка управляющей программы). Предназначена для управления высокоавтоматизированным объектом (многоцелевые станки с большим количеством координат)
DNC - Гибкие производственные модули и робото-технические комплексы. В блоках связи имеется интерфейс связи с ЭВМ верхнего уровня (главное отличие от CNC). Имеется мультипроцессорная структура построения (могут параллельно решаться отдельные задачи или функции).
Микропроцессорные УЧПУ (МП УЧПУ) класса CNC и DNC – это устройства ЧПУ с гибкой структурой построения. Принципиальным отличием этих ЧПУ от аппаратных является их структура, соответствующая структуре управляющей ЭВМ и включающая вычислительное устройство, блоки памяти, блоки ввода/вывода информации и т.п.. Объем функций, характер и последовательность проводимых операций, переработка УП определяется не специальными схемами (как в аппаратных УЧПУ), а специальными программами функционирования., которые вводятся в блок памяти УЧПУ и там храняться. Согласно этим же программам формируются, например, программы управления приводами подач станка, управление электроавтоматикой станка и т.д.
Микропроцессорное УЧПУ (DNC) имеет интерфейс, позволяющий подсоединить УЧПУ к локальной вычислительной сери всей гибкой производственной системы.
Микропроцессорным или программируемым УЧПУ называется устройство, алгоритмы работы которого реализуются с помощью программ, вводимых в его память и могут быть изменены после изготовления этого устройства.
Основные системы микропроцессорных УЧПУ, которые обуславливают возрастающую степень ее применения при управлении станками.
-
Гибкость, т.е. возможность модернизации или изменения назначения микропроцессора путем изменения программ в его запоминающем устройстве.
-
Надежность. В микропроцессорном УЧПУ время наработки на отказ составляет 10 000 часов (надежно)
-
Быстро возрастающие вычислительные возможности (объем памяти, скорость вычислений) – можно управлять все более и более сложными объектами.
-
Малые размеры и масса
-
Сравнительно низкая стоимость (по сравнению с аппаратными УЧПУ)
-
Малое время разработки (УЧПУ, которые могут быть построены на какой-то определенной микроЭВМ)
Микропроцессор – это функционально законченное электронное цифровое устройство, выполненное на одной или нескольких больших интегральных схемах (БИС) и предназначенная для работы в составе вычислителя путем исполнения определенного набора команд помимо отдельной памяти.
Микропроцессорные БИС – интегральные схемы, сочетающие в себе огромные функциональные возможности с высокой степенью интеграции. Достигается это тем, что в микропроцессорных БИС реализованы сложные устройства, позволяющие выполнять над исходными данными логические и арифметические операции при этом управление ведется программно.
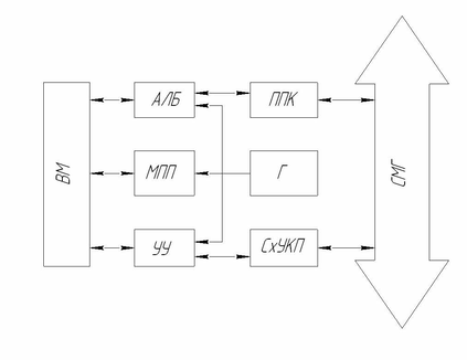
Основные компоненты микропроцессорной БИС (билет)
Рисунок 1
В составе микропроцессора можно выделить:
АЛБ – арифметическо-логический блок
МПП – микропрограммная память
УУ – устройство управления
ВМ – внутренняя магистраль для передачи микрокоманд, адресов и управляющих сигналов
ППК – приемо-передадчик общего канала
СхУКП – схема управления каналом и прерыванием
Г – генератор тактовых сигналов
СМГ – системная магистраль для передачи адресов, данных между подключенными к ней устройствами
Микропроцессорная система (МПС) – это вычислительная система, включающая в себя микропроцессор (МП), запоминающее устройство (ЗУ), расширитель арифметических функций (РА), и контролеры внешних устройств (КВУ)
Рисунок 2
Вычислитель МП системы будет решать определенные задачи, например, связи с пультом оператора.
ВУ – внешнее устройство (например, привод). Вычислитель управляет этим приводом через определенный контроль связи. Внешнее устройство получать данные от вычислителя и будет выставлять внешний сигнал, чтобы вычислитель срабатывал (стрелка от ВУ1 вниз туда-обратно)
Обмен информации между блоками микропроцессорной системы осуществляется по специальному каналу обмена с системной магистралью (СМГ). Микропроцессор, память, запоминающее устройство, расширитель арифметических функций, объединяемые системной магистралью составляют вычислитель (ВЧС) микропроцессорной системы, с которым сопрягаются внешние устройства (ВУ), необходимые для управления станком и связи с оператором, через контроллеры внешних устройств (КВУ).
Микропроцессор в микропроцессорной системе выполняет формирование синхронизирующих и управляющих сигналов для всех компонентов МПС; декодирование команд; арифметические, логические и другие операции, закодированные команды; управление передачей данных между регистрами микропроцессора и запоминающих устройств, а также между микропроцессором и внешними устройствами; осуществляет обработку данных от внешних устройств (стрелочка снизу вверх к ВУ).
Расширитель арифметических функций в МПС необходим для повышения производительности МПС при выполнении операций, входящих в базовый набор арифметических функций. Наиболее часто выполняемая арифметическая функция – умножение слов в длиной 16 и 32 разряда.
Контроллер внешнего устройства – это устройство, включающее в себя схемы сопряжения внешнего устройства с системной магистралью и схемы преобразования входных и выходных данных внешних устройств.
Названные устройства в МПС связаны друг с другом с помощью магистралей адресов (МА), данных МД и управляющей информацией (МУ).
Структура микропроцессорной системы определяется типом микропроцессора. Микропроцессоры могут быть специализированные или однокристальные. Специализированные микропроцессоры построены на нескольких БИС и используются для разработки специализированных микропроцессорных систем. Эти микропроцессоры имеют широкие возможности для наращивания разрядности, изменения системы команд и повышения быстродействия. Однокристальные микропроцессоры (ОМП) выполняются на одной БИС, имеют фиксированную разрядность и систему команд, применяются в качестве процессора в МПС и программируемых контроллерах с определенной разрядностью и производительностью. В ОМП цифровое управление должно выполняться с длительностью не более 16-32 миллисекунды, основные арифметические и логические операции должны выполняться с операциями, разрядность которых составляет: 24-32 для траекторных задач, 16-32 для задач воспроизведения движения.
Из выпускаемых промышленностью МП (однокристальных микропроцессоров) для ЧПУ используются микропроцессоры серии КР580, КР588 (система ЧПУ «2С48») КР1801 (для системы ЧПУ «Электроника МС2101»)
Лекция 3
Классификация микропроцессорных УЧПУ предназначена для управления металлообрабатывающими станками и дана в ГОСТ 21021-85. Эта классификация по совокупности признаков будет представлена в таблице (см. раздаточный материал).
////////////
Согласно ГОСТ 21021-85, характеристика микропроцессорных устройств ЧПУ, представленных для управления металлообрабатывающими станками, представлена в таблице.
Классификация микропроцессорных устройств ЧПУ по совокупности признаков
| Признак | Класс устройства | |||
| 1 | 2 | 3 | 4 | |
| Вид управляемого оборудования | Автоматизированные станки | Станки-полуавтоматы в условиях серийного производства | Станки-полуавтоматы в условиях мелкосерийного и единичного производства | Сложные уникальные станки и станочные модули |
| Число управляемых координатных перемещений (одновременно управляемых) | 1-3 (до 3) | 2-3 (2-3) | 2-5 (2-4) | 5-12 (до 12) |
| Основной способ подготовки УП | На пульте оператора станка | На специальных средствах вне станка | С помощью встроенных в станок средств программирования | Различный |
| Языки: | ||||
| Пользователя | ISO-7 бит, типовые макрокоманды, параметрическое программирование | ISO-7 бит, типовые макрокоманды, параметрическое программирование | ISO-7 бит и макрокоманды на уровне данных чертежа детали | Различный |
| Специальных программ и циклов | - | Имеется | Имеется | имеется |
| Форма ввода и редактирования УП | Диалоговая местная | Покадровая с элементами диалога | Диалоговая гибкая | Диалоговая гибкая |
| Встроенные средства сервиса | Цифровые линейки или магнитный алфавитно-цифровой дисплей | Алфавитно-цифровой дисплей | Графический дисплей | Графический дисплей |
| Внешний программоноситель | Перфолента или кассета | Перфолента или статическая память | Перфолента или статическая память | Перфолента или статическая память |
… Память для хранения СПО должна быть энергонезависимой. Для ввода СПО можно использовать различные носители: перфоленту, дисковые накопители, канал связи с ЭВМ верхнего уровня.
Характеристики
Тип файла документ
Документы такого типа открываются такими программами, как Microsoft Office Word на компьютерах Windows, Apple Pages на компьютерах Mac, Open Office - бесплатная альтернатива на различных платформах, в том числе Linux. Наиболее простым и современным решением будут Google документы, так как открываются онлайн без скачивания прямо в браузере на любой платформе. Существуют российские качественные аналоги, например от Яндекса.
Будьте внимательны на мобильных устройствах, так как там используются упрощённый функционал даже в официальном приложении от Microsoft, поэтому для просмотра скачивайте PDF-версию. А если нужно редактировать файл, то используйте оригинальный файл.
Файлы такого типа обычно разбиты на страницы, а текст может быть форматированным (жирный, курсив, выбор шрифта, таблицы и т.п.), а также в него можно добавлять изображения. Формат идеально подходит для рефератов, докладов и РПЗ курсовых проектов, которые необходимо распечатать. Кстати перед печатью также сохраняйте файл в PDF, так как принтер может начудить со шрифтами.















