lektsii (832569), страница 5
Текст из файла (страница 5)
P - нагнетание
Управление циклом автоматической смены заготовки
В рабочей зоне станка заготовка меняется посредством столов-спутников.
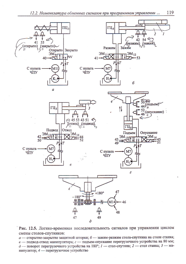
По сигналу функции М60 движение стола-спутника в рабочую зону или М62 – движение из рабочей зоны. Необходимые органы станка должны переместится в точку смены столов-спутников (см. ранее). При достижении точки М60 выдается сигнал 40, останавливающий привод М. Для движения стола-спутника из рабочей зоны станка по этому сигналу 40 (который видели на рабочей зоне) от концевого выключателя привода станка, приходящему на электромагнит 9 золотника электродвигателя золотника пневмоцилиндра ПЦ3, сжатый воздух подается в правую полость пневмоцилиндра 3, шток которой производит раскрытие защитной шторки. После раскрытие шторки выключатель подает сигнал 41. Сигнал 41 является входным для электромагнита 1 – является входным для гидрозолотника ГЦ4. Увеличение давления масла в правой полости гидроцилиндра 4 позволяет осуществить разжим стола-спутника. При достижении штоком положения расфиксации столов-спутников концевой выключатель выдает сигнал 42. Сигнал 42 является входным для электромагнита 13. Увеличение давления масла в левой полости гидроцилиндра 5 заставляет манипулятор перемещаться в направлении стола станка. Перемещение продолжается до момента срабатывания концевого выключателя, выдающего осведомительный сигнал 43. Этот сигнал появится на электромагните 15, происходит включение золотника гидроцилиндра 8. Под давлением масла в нижней полости гидроцилиндра 8 и осуществляется подъем перегрузочного устройства. Появится осведомительный сигнал 44, когда шток поднялся. По сигналу 44, приходящему на электромагнит 14 и масло подается в правую полость гидроцилиндра 5, шток которого вместе с манипулятором перемещается к перегрузочному устройству. Выдается осведомительный сигнал 45. Сигнал 45 поступает на электромагнит 16 золотника гидроцилиндра 8. Под давлением масла в верхней полости гидроцилиндра, осуществляется опускание перегрузочного устройства до момента срабатывания концевого выключателя, формирующего осведомительный сигнал 46. Этот сигнал 46 запускает двигатель привода вращательного движения перегрузочного устройства. Он появился на двигателе М14. Перегрузочное устройство поворачивается на минус 180 градусов до срабатывания концевика, подающего осведомительный сигнал 47 и он останавливает привод вращения перегрузочного устройства. По сигналу функции М60 движение стола-спутника в рабочую зону. Необходимые органы станка должны переместится в точку смены столов-спутников (см. ранее).
Лекция 9
При достижении точки М60 выдается сигнал 48 (управление приводом), сигнал 48 запускает двигатель М14 привода движения перегрузочного устройства (Д). Перегрузочное устройство поворачивается на +180 градусов до срабатывания концевого выключателя, формирующего осведомительный сигнал 49, останавливающий привод вращения. По сигналу 49, поступающему на электромагнит 15 происходит включение золотника гидроцилиндра ГЦ8 (рисунок г). Под давлением масла в нижней полости гидроцилиндра 8 осуществляется подъем перегрузочного устройства. Как только оно достигнет нужного положения, вырабатывается сигнал 50. Сигнал 50 является входным для ЭМ13 золотника ГЦ5 (рисунок в). Увеличение давления масла в левой полости гидроцилиндра 5 заставляет манипулятор перемещаться в направлении стола станка. Перемещение продолжается до момента срабатывания концевого выключателя, выдающего осведомительный сигнал 51. Сигнал 50 подается в левую полость на электромагнит 15. Осведомительный сигнал поступает на электромагнит 16 золотника ГЦ8 (рисунок б). Под давлением масла в верхней полости ГЦ8 осуществляется опускание перегрузочного устройства до срабатывания концевого выключателя, формирующего осведомительный сигнал 52. По сигналу 52, приходящему на электромагнит 14 золотника ГЦ5. Масло подается в правую полость ГЦ5, шток которого вместе с манипулятором перемещается к перегрузочному устройству. Перемещение происходит до момента срабатывания концевика, который выдает сигнал 53. Сигнал 53 поступит на электромагнит 12 ГЦ4, вызывая перемещение штока вправо, что позволяет осуществлять зажим стола-спутника в рабочей зоне стола станка (рисунок б). По достижении положения фиксации стола-спутника вырабатывается осведомительный сигнал 54. По сигналу 54 происходит снятие сигнала 40 с электромагнита 9 (рисунок а). Шток пневмоцилиндра ПЦ3 перемещается вправо и происходит закрытие защитной шторки (рисунок а). После закрытия концевой выключатель выдает осведомительный сигнал 55 (шторка закрыта). Цикл завершается.
Коррекция погрешности механических и измерительных устройств
Любой агрегат можно аттестовать с помощью измерительных средств. Результаты такой аттестации в виде таблиц погрешностей (например, накопленная ошибка шага винта, люфты, которые имеют место в приводах подач) заносят в память устройства ЧПУ. При работе текущее показание ИП положения привода корректируется данными из таблиц погрешностей. (для всех токарных станков)
Технологическая задача
В целях поддержания рабочего процесса и его оптимизации УЧПУ выполняет технологическую задачу, в которой можно выделить следующие функции:
-
Управление средствами контроля на станке. Как правило на станке имеются измерительные преобразователи, обеспечивающие дополнительные измерения параметров станка, инструмента, приспособления с заготовкой до процесса обработки, в процессе обработки и после нее. При этом микропроцессорная УЧПУ управляет специальными измерительными циклами, формируемыми подготовительными функциями, например, G65. При измерительном цикле с щуповой головкой Heidenhain TS640, на нее поступает сигнал соответствующей функции G55.
Рис. 12.7
До процесса обработки измерить диаметр инструмента, вылет, износ; померить приспособление с заготовкой. (касается в нескольких точках чистых баз приспособления и вводит коррекцию в УЧПУ)
Во время обработки – износ инструмента, толщину снимаемого припуска, линейные размеры обработанной поверхности и точность взаимного расположения поверхностей. (щуповая головка)
После обработки – то же самое, но без коррекции.
В измерительном цикле заложена траектория движения стола станка относительно щуповой головки, предварительно установленной в шпиндель станка. Сигнал G65 приходит на двигатель М1 привода подач станка. Стол с заготовкой начинает двигаться к измерительному щупу. Как только щуп касается заготовки, в устройство ЧПУ выдается сигнал 41 о ее положении и измеренное значение хизм сравниваетя с заданным хзад. После окончания цикла сигнал 42 поступает на двигатель М1 стола станка для его остановки.
Лекция 10
При измерительном цикли с датчика Heidenhain TL-micro или ЛИР
Рис 12.8
При измерительном цикле сигнал G65 приходит на датчик, включая его и на двигатель М3 привода подач.
Шпиндель с инструментом подъезжает к датчику, на двигатель поступает сигнал 42, инструмент медленно проходит через лазерный луч и по сигналу соответствующей функции М03 происходит включение вращения шпинделя с установленным инструментом. После окончания измерения выдается сигнал zизм, определяющий не сломан ли инструмент. Полученные данные формируются сигналом 43
2. Адаптивное управление механообработкой. Чаще всего адаптивное управление осуществляется изменением контурной скорости и скорости главного движения. Дополнительная информация берется с ИП (момента сопротивления, мощности привода ГД, ИП температуры, вибрации и т.д.). Блок схема как у Стародуба, но датчики все показать.
3. Функция накопления статистической информации. Как правило это функция, которая фиксирует текущее время обработки (машинное время) или время обработки полностью детали (включая вспомогательное время на вспомогательные операции). Также может быть учет коэффициентов загрузки оборудования, учет характера продукции и т.д.
Терминальная задача
а)
б) в)
г)
Рис. 5.10. Технические средства ведения диалогового программирования на станке с системой ЧПУ «HEIDENHAIN».
а) клавиатура ввода данных.
б) дисплей УЧПУ в режиме «алфавитно-цифровой клавиатуры».
в) дисплей УЧПУ в режиме «графической симуляции».
г) пульт управления станка.
Для связи микропроцессорной УЧПУ с оператором предусмотрены следующие аппаратно-программные средства (клавишный пульт оператора, дисплей УЧПУ, сигнальная индикация¸фотосчитывающие и другие устройства, размещенные на панели пульта оператора, обеспечивающие выбор задания, определение его задач, а также контроль за их исполнением. Общение оператора с УЧПУ происходит на нескольких языках, среди которых можно выделить язык заданий, язык задач, язык дисплея и индикации.
Язык заданий реализуется клавишными средствами панели оператора, при помощи которых оператор определяет режим работы устройства ЧПУ, проводит его настройку для выполнения заданий.
Язык заданий достаточно разнообразен, т.к. он отражает не только специфику УЧПУ. Язык заданий нашел свое отражение в выделении функциональных полей (зон) панелей оператора, пневманических (ГОСТ 24505-80) обозначениях функциональных клавиш и правил пользования ими.
Язык задач предназначен для описания задач, выполняемых при выполнении заданий. Описание задач задается с помощью УП, составленном на языке пользователя (диалоговое программирование). Как правило оператор ведет подготовку УП в режиме меню с использованием графических представлений. Всегда есть руководство оператора.
При обработке простых деталей подготовка УП ведется непосредственно с пульта ЧПУ и такой способ называется оперативно-программируемым. Оперативное программирование осуществляется оператором с пульта системы ЧПУ в режиме ввода и редактирования управляющей программы.
В настоящее время микропроцессорное ЧПУ позволяет вести оперативное программирование в режиме диалога оператора с УЧПУ. При этом управляющая программа готовится с помощью специального графического редактора в режиме меню. Данный способ программирования называется диалоговым программированием. Данный вид программирования возможен при наличие в УЧПУ специального программного обеспечения и следующих технических средств:
- клавиатура ввода на пульте УЧПУ (рисунок а), дисплея УЧПУ графического, который может работать как в режиме алфавитно-цифровом, так и в графическом режиме. Также необходим пульт управления станком. На экране дисплея высвечивается последовательность вопросов, на которые должен ответить оператор нажатием определенных буквенных или цифровых клавиш. Из меню оператор выбирает желаемый вариант. Диалоговое программирование включает следующие этапы:
1) Формирование геометрии детали
2) Выбор режущих инструментов
3) Определение режимов резания
4) Определение схем наладки обработки и моделирования процесса обработки
В этом случае УП представляет собой упорядоченное множество геометрических объектов и технологических программ.
По геометрическим данным чертежа, оператор, используя соответствующее меню производит построение контура обрабатываемой детали из различных геометрических элементов (точек, прямых)
Из меню «Последовательность переходов» оператор выбирает необходимые для обработки технологические переходы, при формировании которых используются типовые циклы обработки.
Режимы резания могут быть заданы и назначены оператором или получены автоматически по введенном коду, материала детали и инструменту, по виду обработки и по принятым циклам обработки.
Программное обеспечение станка также может определять оптимальные режимы с учетом характеристик станка.
По желанию оператора возможно графическое представление всего процесса обработки как в плоскостном, так и объемном режиме.
Языки дисплея и индикации















