Лекции ТКМ (1) (816151), страница 12
Текст из файла (страница 12)
| Область применения. Тяжёлое машиностроение при изготовлении ковано-сварных и лито-сварных конструкций, таких как станины и детали мощных прессов и станков, коленчатые валы судовых дизелей, роторы и валы гидротурбин, котлы высокого давления и т.п. |
7. Газовая сварка (рис. 61С)
| Газовая сварка - сварка плавлением, при которой для нагрева используется теплота горения горючего газа или смеси горючих газов и кислорода. Ацетиленокислородная сварка - газовая сварка, в которой горючим газом является ацетилен. Газовая сварка может быть механизированной и ручной. |
|
3 5 6 7 9 10 11
4 8 О2 1 2 С2Н2 Рис. 61С. Схема ацетиленокислородной сварки Источником теплоты при газовой (автогенной) сварке является газовое пламя, получаемое при сгорании ацетилена С2Н2 в струе технически чистого кислорода О2. По сравнению с другими горючими газами ацетилен даёт при сгорании наибольшую теплоту (превышающую в 4 раза теплоту, выделяемую при сгорании чистого водорода) и наиболее высокую температуру пламени, достигающую 3200С. Газовая сварка может выполнятся без присадки, с расплавлением только материала свариваемых заготовок 1, а также с присадкой 2. Присадка применяется для заполнения металлом зазора между свариваемыми элементами. Она расплавляется теплотой газового пламени и по мере плавления подается в зону сварки со скоростью Vпп. Для создания высокотемпературного газового пламени наиболее часто используется инжекторная сварочная горелка, работающая следующим образом. Находящиеся под давлением в двух отдельных баллонах кислород и ацетилен поступают внутрь горелки через регулировочные вентили 3 и 4. Кислород по трубке 5 подаётся к инжектору 6 и, выходя с большой скоростью из его узкого конического канала, создаёт в общей выходной зоне 7 значительное разрежение, способствующее засасыванию ацетилена, поступающего по каналу 8. В результате в камере смешения 9 образуется горючая смесь, которая поступает по наконечнику 10 к мундштуку 11, на выходе из которого после зажигания образуется сварочное пламя, структура, цвет и химический состав которого в значительной степени зависят от соотношения подаваемых кислорода и ацетилена (рис. 62С). Сварочные горелки имеют сменные наконечники с различными диаметрами выходных отверстий присоединённых к ним мундштука и инжектора, что позволяет регулировать мощность ацетилено-кислородного пламени в зависимости от вида и толщины свариваемого материала. При газовой сварке цветных металлов и некоторых сплавов используют флюсы, которые наносят в виде порошков или паст. Роль флюса состоит в растворении окислов и образовании шлаков, легко всплывающих на поверхность сварочной ванны, а также легировании наплавленного металла. ОСНОВНЫЕ ПАРАМЕТРЫ СВАРКИ Основными параметрами газовой сварки являются: расход ацетилена, расход кислорода, мощность пламени, диаметр присадочного прутка, скорость сварки Vсв. |
Строение газового пламени (рис. 62С).
| 1 2 3
t, С
3200
1000
300
l Рис. 62С. Строение газового пламени 1 - ядро пламени (зона воспламенение газовой смеси). 2 - сварочная или рабочая зона (зона выполнения сварки). 3 – факел пламени (зона вторичной стадии горения продуктов, не сгоревших в зонах 1 и 2). |
| Область применения. Газовая сварка применяется для соединения металлов малой толщины (0,2…3 мм), легкоплавких цветных металлов и сплавов, материалов, требующих постепенного нагрева и охлаждения (например, инструментальных сталей, чугуна, латуней), для заварки дефектов в чугунных и бронзовых отливках, для пайки и наплавочных работ. |
-
Лучевые способы сварки
К лучевым способам относятся лазерная и электронно-лучевая сварки.
-
Лазерная сварка.
Лазерная сварка — процесс, при котором свариваемые материалы нагреваются до температуры плавления с помощью сфокусированного лазерного излучения.
Лазерное излучение — электромагнитное излучение в основном оптического диапазона, создаваемое лазером.
Классификация способов лазерной сварки.
1. В зависимости от активной среды различают:
а) твердотельные лазеры;
б) газовые лазеры.
2. По способу накачки рабочего вещества энергией различают:
а) лазеры с оптической накачкой (облучение рабочего вещества световым потоком);
б) лазеры с химической накачкой (рабочее вещество участвует в химической реакции);
в) лазеры с электрической накачкой (рабочее вещество включено в электрическую цепь);
г) лазеры с ядерной накачкой (рабочее вещество участвует в ядерной реакции)
3. По цикличности работы различают:
а) лазеры с непрерывным режимом работы;
б) лазеры с импульсным режимом работы;
в) лазеры с импульсно-периодическим режимом работы.
8.1.1. Твердотельные лазеры (рис. 63С)
| Сварка твердотельным лазером - лазерная сварка, при которой в качестве активной среды используют твердотельный кристалл. | |
|
Рис. 63С. Схема твердотельного лазера с оптической накачкой рабочего вещества. | 1.Непрозрачное (глухое) зеркало 2. Рабочее вещество (активный элемент) 3. Полупрозрачное зеркало 4. Лампа накачки 5. Отражатель корпуса. 6. Высоковольтный источник питания 7. Отражающее зеркало. 8. Фокусирующая линза 9. Обрабатываемый материал |
| Для целей сварки используются твердотельные лазеры, работающие на алюмоиттриевом гранате, активированном ниодимом (Nd), работающие как в импульсном, так и в непрерывном режиме. Длина волны излучения этих лазеров составляет 1,06 мкм, что позволяет для фокусировки использовать обычную стеклянную оптику. Мощность излучения этих лазеров доходит до 1кВт. При облучении рабочего вещества 2 световым потоком от лампы накачки 4, питаемой от высоковольтного источника 6, атомы активного элемента переходят на более высокий энергетический уровень. Спонтанно возвращаясь на исходный уровень атом излучает порцию энергии в виде кванта света (фотона). Световой поток отражается зеркалом 7, фокусируется оптикой 8 и направляется на обрабатываемый материал 9. Плотность энергии в фокусе линзы составляет до 108 Вт/см2. Отражатель 5 устанавливается для уменьшения потерь светового потока внутри корпуса лазера. | |
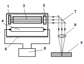
8.1.2. Газовые лазеры (рис. 64С)
| Сварка газовым лазером - лазерная сварка, при которой в качестве активной среды используют газ. |
|
Рис. 64С Схема газового лазера с электрической накачкой. В качестве рабочего вещества применяются азот, аргон, углекислый газ. В газоразрядной водоохлаждаемой трубке от высоковольтного блока питания между электродами создается электрический разряд, который возбуждает атомы находящегося в трубке рабочего вещества. Излучение выходит через полупрозрачное зеркало, фокусируется и направляется на обрабатываемое изделие. Коэффициент полезного действия (к. п. д.) такого лазера составляет 4 — 5%. |
| ОСНОВНЫЕ ПАРАМЕТРЫ СВАРКИ Основными параметрами лазерной сварки являются: мощность лазерного излучения, частота лазерных импульсов для импульсной или импульсно-периодической сварки |
| Область применения. Лазерную сварку материалов малой толщины широко применяют в электронной и радиотехнической промышленности для сварки проводов, пружин, элементов микросхем, герметизации корпусов различных приборов. В других отраслях промышленности лазерную сварку применяют для заваривания аэрозольных баллонов и консервных банок, герметизации лекарственных ампул, сварки сотовых конструкций и деталей турбин. Лазерную сварку с глубоким проплавлением широко используют в производстве крупногабаритных корпусных деталей типа двигателей и обшивки самолётов, автомобилей и судов. |
8.2. Электронно-лучевая сварка (рис. 65С)
| Электронно-лучевая сварка - сварка плавлением, при которой используют сфокусированный электронный луч. | |
|
3
4
5
6
1 b 8 9
б 7
2
h
а Рис. 65С. Схема электронно-лучевой сварки (ЭЛС). | а – схема установки; б – сопоставление размеров и формы швов, получаемых в результате дуговой и электронно-лучевой сварки; 1 – вакуумная камера; 2 – заготовка; 3 – вольфрамовый катод; 4 – формирующий электрод; 5 – анод; 6 – фокусирующая магнитная линза; 7 – отклоняющая магнитная система; 8 – обычный шов после дуговой сварки; 9 – кинжальный шов после электронно-лучевой сварки; h – высота шва; b – ширина шва |
| Электронный луч представляет собой плотный поток электронов, перемещающийся с большой скоростью (до 165000 км/сек) от катода к аноду в мощном электрическом поле. В месте соударения электронов со свариваемыми заготовками почти 99% кинетической энергии переходит в тепловую, что сопровождается повышением температуры до 5000…6000С. Кромки заготовок расплавляются и после кристаллизации образуется сварной шов. Для уменьшения потери кинетической энергии электронов в результате соударения с молекулами газов воздуха, а также для химической и тепловой защиты катода в электронной пушке создается вакуум порядка 10-4—10-5 мм рт. ст. Процесс сварки выполняется в вакуумной камере 1 (рис. 65С, а). Свариваемая заготовка 2 устанавливается на опору, способную перемещать её как в продольном, так и в поперечном направлениях. Процесс сварки автоматизирован, а наблюдение за ним ведётся с помощью телевизионных систем или через специальные иллюминаторы. В случае необходимости корректировки используется дистанционное управление. Над заготовкой располагается электронная пушка, состоящая из питаемого постоянным током источника электронов (катода) и устройств, служащих для изменения интенсивности и фокусировки электронного луча. В верхней части электронной пушки расположен вольфрамовый катод 3, который при нагреве до 2000С испускает электроны, формируемые в пучок расположенным на выходе катода электродом 4. Под действием высокой разности потенциалов между катодом 3 и анодом 5, составляющей порядка 100 кВ, происходит резкое увеличение скорости перемещения электронов. Разогнанные электроны фокусируются в электронный луч магнитной линзой 6. Фокусировкой достигается высокая удельная мощность луча порядка 0,5105 кВт/м2. Электронный луч направляется на заготовку 2 с помощью специальной отклоняющей магнитной системы 7. При перемещении заготовки под неподвижным лучом образуется сварной шов. Иногда с помощью отклоняющей магнитной системы перемещают сам луч вдоль неподвижных свариваемых кромок. Отклоняющую систему используют также для колебаний электронного луча поперёк и вдоль шва, что позволяет вести сварку с присадочным материалом и регулировать тепловое воздействие на металл. Одной из отличительных особенностей электроннолучевой сварки является форма проплавления свариваемого металла. При дуговой сварке, создающей менее концентрированный источник нагрева, расплавление металла происходит за счёт распространения теплоты от поверхности в глубину, и в результате получается широкий шов трапецеидальной формы (рис. 62С, б) с обычным отношением h/b=0,5…1. В современных установках для электронно-лучевой сварки, сверления, резки или фрезерования электронный луч можно сфокусировать в диаметр 0,0002…1,2 мм. Кроме того, теплота при электроннолучевой сварке выделяется не только на поверхности, но и на некоторой глубине в свариваемом металле. В результате этого получается так называемое кинжальное проплавление, образующее шов, у которого отношение h/b может достигать 20. При необходимости, высокая концентрация теплоты в пятне нагрева позволяет испарять такие материалы, как алмаз, рубин, сапфир, стекло, образуя в них отверстия. ОСНОВНЫЕ ПАРАМЕТРЫ СВАРКИ Основными параметрами электронно-лучевой сварки являются: сила тока в электронном луче, ускоряющее напряжение, скорость перемещения луча по поверхности изделия, размер фокусировки луча, глубина вакуума. | |
















