Лекции ТКМ (1) (816151), страница 10
Текст из файла (страница 10)
К этим видам сварки относятся: лазерная сварка, электронно-лучевая сварка.
3.4. Энергоноситель - электрический ток
Электрошлаковая сварка - сварка плавлением, при которой используют теплоту, выделяющуюся в вылете плавящегося электрода или электродов и в токопроводящей шлаковой ванне при прохождении тока. При этом металлическая ванна и шлаковая ванна удерживаются охлаждаемыми ползунами, перемещающимися вверх по мере выполнения шва
Контактная сварка - сварка давлением, при которой нагрев, необходимый для сварки, создается электрическим током, проходящим через зону сварки.
Зона сварки - зона детали или деталей, где сварка выполняется или выполнена.
К этим видам сварки относятся: точечная контактная сварка, стыковая контактная сварка, шовная контактная сварка, конденсаторная сварка, высокочастотная контактная сварка, индукционная сварка.
3.5. Энергоноситель - движение массы
К этим видам сварки относятся: холодная сварка, ударная сварка (сварка взрывом), сварка трением, ультразвуковая сварка.
3.5. Прочие источники энергии
К этим видам сварки относятся: диффузионная сварка, сварка прокаткой
-
СПОСОБЫ СВАРКИ ПЛАВЛЕНИЕМ
-
ТЕРМИЧЕСКИЙ КЛАСС (способы сварки с жидкой фазой или способы сварки плавлением):
дуговые способы сварки (ручная плавящимся покрытым электродом; автоматическая и механизированная под флюсом; ручная, автоматическая и механизированная в среде защитных газов); электрошлаковая сварка; плазменная сварка; электроннолучевая сварка; лазерная сварка; газовая сварка.
-
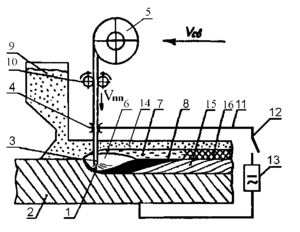
Ручная дуговая сварка плавящимся покрытым электродом (РДС) (рис. 54С)
| Ручная дуговая сварка плавящимся покрытым электродом - дуговая сварка плавящимся электродом, выполняемая вручную с использованием покрытого электрода. |
| Рис. 54С. Схема ручной дуговой сварки плавящимся покрытым электродом (РДС) При РДС источником теплоты является электрическая (сварочная) дуга 8. Для образования и поддержания электрической дуги к электроду и свариваемому изделию от источника питания подводится переменный или постоянный сварочный ток (процесс сварки на постоянном токе стабильнее, чем на переменном). Зажигание сварочной дуги производится вручную касанием электродом поверхности свариваемых элементов. В процессе сварки дуга 8 горит между торцом металлического стержня 7 электрода (электродный металл) и свариваемыми заготовками 1 (основной металл). Под действием теплоты дуги металлический стержень электрода плавится и расплавленный металл 10 каплями стекает в сварочную ванну 9. Вместе со стержнем плавится покрытие электрода 6, образуя газовую защитную атмосферу 5 вокруг дуги. Капли расплавленного защитно-легирующего покрытия 11 формируют жидкую шлаковую ванну 4 на поверхности расплавленного металла. По мере расходования электрод вручную подается в зону сварки со скоростью Vпэ (скорость подачи электрода), равной средней скорости его плавления, что обеспечивает постоянство средней длины дугового промежутка (длины дуги) Lд*. Газовая защитная атмосфера и жидкая шлаковая ванна изолируют зону сварки от окружающего воздуха. При перемещении вручную дуги со скоростью сварки Vсв сварочная ванна затвердевает и формируется сварной шов 3. В состав сварного шва входят как электродный (металл электрода), так и основной металл. Затвердевший жидкий шлак образует твердую шлаковую корку 2 на поверхности сварного шва, которая защищает остывающий твердый металл от влияния окружающей среды. *Длина дуги Lд – расстояние от торца металлического стержня электрода до поверхности сварочной ванны. |
| Покрытие электродов Покрытие электродов готовят из порошкообразной смеси различных компонентов. Назначение покрытия - повысить устойчивость горения дуги, провести металлургическую обработку сварочной ванны, обеспечить защиту расплавленного металла от атмосферных газов и улучшить качество сварки. ОСНОВНЫЕ ПАРАМЕТРЫ СВАРКИ Основными параметрами ручной дуговой сварки покрытыми электродами являются: величина сварочного тока, род и полярность тока, напряжение на дуге, скорость сварки Vсв, диаметр электрода. |
| Область применения. В промышленности – единичное производство (опытное, ремонтное), в строительстве – монтажное производство. |
-
Автоматическая дуговая сварка под флюсом проволочным электродом (электродной проволокой) (рис. 55С)
| Автоматическая дуговая сварка - дуговая сварка, при которой возбуждение дуги, подача плавящегося электрода или присадочного металла и перемещение дуги относительно изделия осуществляются механизмами без непосредственного участия человека, в том числе и по заданной программе. |
| Рис. 55С Схема дуговой сварки под флюсом проволочным электродом. |
| При дуговой сварке под флюсом проволочным электродом источником теплоты является сварочная дуга 1. Для сварки используют непокрытую электродную проволоку и флюс, который защищает дугу, сварочную ванну и сварной шов от влияния атмосферы. Сварочная дуга 1 горит между свариваемыми заготовками 2 (основной металл) и концом электродной проволоки 3 (электродный металл). Сварочный ток к проволоке подводится через скользящий токоподвод 4 по электрической цепи 11 от источника переменного (~) или постоянного (–) тока 13 при замыкании контактора 12. Зона сварки закрыта высыпающимся из бункера 9 мелкозернистым флюсом 14, образующим на поверхности свариваемого металла слой толщиной 30…80 мм и шириной 40…100 мм. Под влиянием теплоты дуги электродная проволока плавится и по мере расплавления подаётся в зону сварки из кассеты 5 роликами 10 подающего механизма с постоянной скоростью Vпп . Кроме того, дуга расплавляет основной металл и часть флюса, находящегося в зоне дуги. В области горения дуги образуется полость 6, изолированная от окружающей среды. Капли расплавленной электродной проволоки, расплавленный основной металл и расплавленный флюс (жидкий шлак) смешиваются и образуют сварочную ванну 8. Расплавленный флюс 7 вследствие значительно меньшей плотности всплывает на поверхность расплавленного металла и покрывает его плотным слоем. Электродная проволока вместе с дугой перемещается в направлении сварки (Vсв). Капли плавящейся электродной проволоки и жидкий металл сварочной ванны под силовым воздействием дуги отталкиваются в сторону, противоположную движению дуги. По мере удаления дуги металл сварочной ванны начинает охлаждаться, а затем затвердевает, образуя сварной шов 15. Затвердевший шлак образует на поверхности шва шлаковую корку 16. После прекращения сварки и охлаждения металла шлаковая корка удаляется с поверхности шва. Нерасплавленный в процессе сварки избыточный флюс убирается и используется в дальнейшем при последующей сварке. ОСНОВНЫЕ ПАРАМЕТРЫСВАРКИ Основными параметрами дуговой сварки под флюсом проволочным электродом являются: диаметр электродной (сварочной) проволоки, величина сварочного тока, напряжение на дуге, скорость сварки Vсв, скорость подачи электродной проволоки Vпп. Дополнительными параметрами являются: род и полярность тока (при постоянном токе), толщина слоя флюса. |
| Сварочные материалы. Сварочными материалами при дуговой сварке под флюсом проволочными электродами являются электродная проволока и флюс для дуговой сварки. Электродная проволока - сварочная проволока для использования в качестве плавящегося электрода. Электродная проволока может иметь химический состав близкий к составу свариваемого металла или существенно отличающийся от него за счет дополнительно введенных легирующих элементов, что позволяет легировать этими элементами металл шва. Для сварки применяют специально выплавленную проволоку обозначенную индексом Св. Например, Св-08 означает: сварочная проволока, содержащая 0,08% углерода. Проволоку заправляют в кассеты. Длина заправленного куска может достигать десятков и сотен метров. Флюс для дуговой сварки - сварочный флюс, защищающий дугу и сварочную ванну от вредного воздействия окружающей среды и осуществляющий металлургическую обработку ванны. |
| Область применения. Тяжелое транспортное, нефте-химико-энергетическое машиностроение, листовая сварка резервуаров, листовая сварка в судостроении. Рекомендуемый тип производства–массовое. |
3. Дуговая сварка в защитном газе
При сварке плавлением в защитных газах источником теплоты является сварочная дуга. В качестве защитных газов используются чистые инертные газы (Ar – аргон; He – гелий) или их смеси (смесь Ar + He), активные газы (N2 – азот; CO2 – углекислый газ) и смеси инертных и активных газов.
3.1. Дуговая сварка в защитном газе плавящимся электродом
| Дуговая сварка в защитном газе плавящимся электродом - дуговая сварка плавящимся электродом, при которой используют электродную проволоку, а дугу и сварочную ванну защищают от атмосферы газом, подаваемым снаружи. Дуговая сварка в защитном газе плавящимся электродом может быть автоматической и механизированной | |
| Автоматическая дуговая сварка в защитном газе плавящимся электродом (рис. 56С) | |
|
Рис. 56С. Схема автоматической дуговой сварки в защитном газе плавящимся электродом При дуговой сварке в защитном газе плавящимся электродом источником теплоты является сварочная дуга 1, горящая между плавящимся электродом (сварочной проволокой) 2 и изделием 3. В зону сварки через сопло* 4 подаётся защитный газ 5 (ЗГ), защищающий металл сварочной ванны 6, капли электродного металла и нагретый участок сварного шва 7 от воздействия активных газов атмосферы. Теплотой дуги расплавляются кромки свариваемого изделия и электродная (сварочная) проволока. Расплавленный металл сварочной ванны 6, кристаллизуясь, образует сварной шов 7, на поверхности которого находится тонкий слой шлака 8. Дуговую сварку в защитных газах плавящимся электродом ведут на постоянном токе обратной полярности, т.к. при переменном токе из-за сильного охлаждения столба дуги защитным газом, дуга может прерываться. Напряжение на сварочную проволоку подается через скользящий токоподвод 9. По мере плавления сварочная проволока поступает в зону сварки с постоянной скоростью Vпп, что обеспечивается механизмом подачи сварочной проволоки. В качестве электродного металла применяют сварочную проволоку близкую по химическому составу к основному металлу. Выбор защитного газа определяется его инертностью к свариваемому металлу, либо активностью, способствующей рафинации металла сварочной ванны. Для сварки цветных металлов и сплавов на их основе применяют инертные одноатомные газы (аргон, гелий и их смеси). Для сварки меди и кобальта можно применить азот. Для сварки углеродистых и низколегированных сталей применяют углекислый газ СО2. Но углекислый газ диссоциирует в дуге при высоких температурах, образуя оксид углерода СО и кислород О2. Кислород вступает в химическую реакцию с металлом, что способствует выгоранию легирующих компонентов и компонентов – раскислителей (кремния, марганца). В связи с этим при сварке в СО2 сварочную проволоку следует выбирать с повышенным содержанием этих элементов. В ряде случаев целесообразно применять смесь инертных и активных газов, чтобы повысить устойчивость дуги, улучшить формирование шва, воздействовать на его геометрические параметры, уменьшить разбрызгивание. * Сопло горелки для дуговой сварки - сопло для подвода и направления газа с целью защиты сварочной ванны и электрода от воздействия воздуха. | |
| ОСНОВНЫЕ ПАРАМЕТРЫ СВАРКИ Основными параметрами дуговой сварки в защитном газе плавящимся электродом являются: величина сварочного тока, род и полярность тока, напряжение на дуге, расход защитного газа, скорость сварки Vсв, диаметр электродной проволоки, скорость подачи электродной проволоки Vпп. | |
| Область применения. Практически все отрасли машиностроения; в строительстве на монтаже крупногабаритных конструкций; автоматическая сварка неповоротных стыков трубопроводов большого диаметра. | |
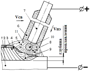
3.2. Дуговая сварка в защитном газе неплавящимся вольфрамовым (W) электродом (рис. 57С)
| Дуговая сварка в защитном газе неплавящимся электродом может быть автоматической, механизированной и ручной. | ||||
|
а |
б | |||
| Рис. 57С. Схема дуговой сварки в защитном газе неплавящимся вольфрамовым (W) электродом а – без присадки (может быть ручной и автоматической); б –с присадочной проволокой (с присадкой) (может быть ручной, механизированной и автоматической). Vсв – скорость сварки; Vпп – скорость подачи присадочной проволоки При дуговой сварке в защитном газе неплавящимся электродом (рис. 57С, а) источником теплоты является сварочная дуга 1, горящая между неплавящимся электродом 2 и изделием 3. В зону сварки через сопло 4 подаётся защитный газ 5 (ЗГ), защищающий металл сварочной ванны 6 и нагретый участок сварного шва 7 от воздействия активных газов атмосферы. Теплотой дуги расплавляются кромки свариваемого изделия. Расплавленный металл сварочной ванны, кристаллизуясь, образует сварной шов 7 на поверхности которого находится тонкий слой шлака 8. В состав шва входит только основной металл. Ток от источника питания к электроду подается с помощью токоподвода 9. Сварка может выполняться как на переменном, так и на постоянном токе. Неплавящийся электрод изготавливается из тугоплавкого материала - вольфрама. В качестве защитного газа при сварке вольфрамовым электродом применяются только инертные газы или их смеси - аргон, гелий, смесь аргона и гелия. Активный газ СО2 применять нельзя, т.к. образующийся при диссоциации СО2 в области высоких температур кислород окисляет вольфрамовый электрод, что приводит к его выгоранию. При сварке металла большой толщины для обеспечения проплавления основного металла и получения требуемых геометрических параметров сварного шва, сварку ведут по зазору или с разделкой кромок с добавлением присадочного (чаще всего в виде проволоки) металла (рис. 57С, б). При сварке с присадкой в состав сварного шва входит основной металл и металл присадочной проволоки. ОСНОВНЫЕ ПАРАМЕТРЫ СВАРКИ | ||||
| Сварка без присадки (рис. 57С, а) | Сварки с присадкой (рис. 57С, б) | |||
| величина сварочного тока, род и полярность тока, напряжение на дуге, расход защитного газа, скорость сварки Vсв, диаметр вольфрамового электрода. | величина сварочного тока, род и полярность тока, напряжение на дуге, расход защитного газа, скорость сварки Vсв, диаметр вольфрамового электрода, диаметр присадочной проволоки, скорость подачи присадочной проволоки Vпп. | |||
| Область применения. Практически все отрасли машиностроения; строительство (монтаж); сварка корневых швов трубопроводов малого диаметра. Тип производства – серийное, массовое. | ||||















