Диплом1 (Автосохраненный) (814360), страница 2
Текст из файла (страница 2)
Рисунок 2.2 - Кривая намагничивания двигателя постоянного тока
Для получения искусственных характеристик двигателя при уменьшении магнитного потока проведем следующий анализ. В соответствии с формулой ω0=U/(kФ) уменьшение магнитного потока приводит к увеличению скорости идеального холостого хода ω0.
Ток короткого замыкания IKЗ = U/RЯ от магнитного потока не зависит и при его варьировании будет оставаться неизменным. Отмеченные положения позволяют представить электромеханические характеристики при различных значениях магнитного потока Фном > Ф1 > Ф2 в виде линий 1...3 изображенных на рисунке 2.3 а.
Рисунок 2.3 - Электромеханические (а) и механические (б) характеристики двигателя при уменьшении магнитного потока
-
Естественная характеристика; 2,3 –характеристики при уменьшении магнитного потока
Момент короткого замыкания МКЗ = kФIКЗ, при уменьшении магнитного потока Ф будет также снижаться, так как IКЗ = соnst. В результате механические характеристики имеют вид прямых, показанных на
рисунке 2.3, б.
Отметим показатели данного способа регулирования скорости двигателя. Диапазон регулирования скорости при данном способе равен 3...4. Направление регулирования скорости вверх от естественной характеристики. Плавность регулирования скорости определяется плавностью регулирования тока возбуждения. Стабильность скорости достаточно высокая, хотя она и снижается при уменьшении магнитного потока. Способ экономичен, так как не сопровождается значительными потерями мощности, а реализация его не требует больших капитальных затрат.
-
Тиристорно-импульсная система управления (ТИСУ)
Это система управления на базе сильноточных тиристоров, в которой необходимый по величине ток создаётся не коммутацией сопротивлений в цепи двигателя, а посредством формирования временной последовательности токовых импульсов заданной частоты и скважности (Широтно-импульсная модуляция). Изменяя эти параметры, можно изменять средний протекающий через ТЭД ток, а следовательно и управлять его вращающим моментом.
Преимущества и недостатки
Преимуществом ТИСУ перед более ранними моделями систем управления током (непосредственная, косвенная реостатно-контакторная) в ТД подвижного состава является отсутствие тепловых потерь в пусковых сопротивлениях, а следовательно и более высокий КПД. Также за счёт бесступенчатого увеличения тока в обмотках ТД ТИСУ позволяет достичь плавного разгона транспортного средства без рывков и толчков, отсутствие сложных электромеханических устройств коммутации положительным образом сказывается на надёжности.
Минусом ТИСУ является её более высокая сложность по сравнению с электромеханическими аналогами, требующая более высокого уровня обслуживающего персонала для диагностики и ремонта. В отличие от непосредственной и в несколько меньшей степени косвенной реостатно-контакторной систем управления, ТИСУ практически не ремонтируется в условиях депо (требует радиомонтажной, а не обычной для транспортных предприятий механической и электрической мастерской), что заметно сдерживало её внедрение в России.
-
Регулировка тока в ТЭД постоянного тока при помощи
сопротивлений
Сопротивления подключают последовательно с двигателем дискретно.
Пусковая диаграмма двигателя (а) и схема включения пусковых резисторов (б) изображена на рисунке 2.5.
Рисунок 2.5 - Пусковая диаграмма двигателя (а) и схема включения пусковых резисторов (б).
-
естественная характеристика двигателя; 2,3- реостатные характеристики двигателя
Непосредственная система управления (НСУ) — исторически
первый вид СУ на трамваях. Водитель посредством рычага, соединённого с контактами, непосредственно коммутирует сопротивление в электрических цепях ротора и обмоток ТД.
Принцип действия
В основу функционирования НСУ положено подключение к обмоткам ТЭД набора фиксированных балластных сопротивлений, называемых пускотормозными реостатами, которые ограничивают силу проходящего через эти обмотки электрического тока. Ступенчатое изменение подключённого к обмоткам ТЭД сопротивления достигается посредством коммутации групп пускотормозных реостатов непосредственно водителем подвижного состава с помощью простейших механизмов, в сборе называемых контроллером. Например у трамвайного вагона ЛМ-49 контроллер состоит из вала с насаженными на него кулачками, нажимающими на контакторы (сильноточные коммутационные устройства, оснащённые приспособлениями дугогашения) в определённой последовательности. Эта последовательность впрямую задаётся водителем путём поворота вала с помощью ручки-«кофемолки». Необходимость ступенчатого изменения диктуется требованиями плавного разгона-торможения трамвая во избежание травм находящихся в нём людей.
Преимущества и недостатки
Преимуществами НСУ перед прочими видами систем управлениями является предельная простота устройства и ремонта, средняя материалоёмкость. Недостатками НСУ являются невысокий уровень пожаро и электробезопасности (вблизи водителя располагается высоковольтное коммутационное устройство, что чревато при утечке тока или прочей неисправности электротравмой или возгоранием) и нерациональный расход электроэнергии, значительная часть которой уходит на нагрев пускотормозных реостатов без совершения полезной работы.
-
Управление тяговым двигателем на трамвае
-
Косвенная неавтоматическая реостатно-контакторная система управления (РКСУ)
-
В косвенно неавтоматической системе водитель с помощью педали или рычага контроллера осуществляет коммутацию низковольтных электрических сигналов, которые управляют высоковольтными контакторами, находящимися в цепи тягового электродвигателя.
-
Косвенная автоматическая реостатно-контакторная система управления
Косвенная автоматическая РКСУ — в ней замыканием и размыканием контакторов управляет специальный серводвигатель. Динамика разгона и торможения определяется заранее заданной временной последовательностью в конструкции РКСУ. Узел коммутации силовой цепи в сборе с устройством-посредником иначе называется контроллером.
Преимущества и недостатки
Преимуществами РКСУ перед прочими видами систем управлениями является сравнительная простота устройства и ремонта, а переднепосредственной системой управления (НСУ) — ещё и большая электро- и пожаробезопасность. Электробезопасность повышена вследствие вынесения высоковольтной части за пределы обитаемых помещений транспортных средств, пожаробезопасность — из-за независимости коммутационной последовательности от действий водителя, исключающей перегрев и возгорание пускотормозных реостатов и ТЭД вследствие ошибок водителя. Также к преимуществам относится высокая, по сравнению с НСУ, легкость управления контроллером водителя. Недостатками РКСУ является высокая материалоёмкость, в некоторых случаях сложность электромеханических узлов и нерациональный расход электроэнергии, значительная часть которой уходит на нагрев пускотормозных реостатов без совершения полезной работы.
-
ЭЛЕКТРИЧЕСКОЕ ОБОРУДОВАНИЕ СУЩЕСТВУЮЩЕЕ НА ТРАМВАЯХ ВЫПУСКА 71-605
-
Двигатели используемые в трамвае
-
Для осуществления движения трамваев используют тяговые электродвигатели (ТЭД).
Основное отличие ТЭД от обычных электродвигателей большой мощности заключается в условиях монтажа двигателей и ограниченном месте для их размещения. Это привело к специфичности их конструкций (ограниченные диаметры и длина, многогранные станины, специальные устройства для крепления и т. п.).
Тяговые двигатели городского и железнодорожного транспорта, а также двигатели мотор-колес автомобилей эксплуатируются в сложных погодных условиях, во влажном и пыльном воздухе. Также в отличие от электродвигателей общего назначения ТЭД работают в самых разнообразных режимах ( кратковременных, повторно-кратковременных с частыми пусками), сопровождающихся широким изменением частоты вращения ротора и нагрузки по току (при трогании с места может в 2 раза превышать номинальный). При эксплуатации тяговых двигателей имеют место частые механические, тепловые и электрические перегрузки, тряска и толчки. Поэтому при разработке их конструкции предусматривают повышенную электрическую и механическую прочность деталей и узлов, теплостойкую и влагостойкую изоляцию токоведущих частей и обмоток, устойчивую коммутацию двигателей.
Тяговые двигатели должны иметь характеристики, обеспечивающие высокие тяговые и энергетические свойства (особенно КПД) подвижного состава.
Для умеренного климата в основном применяются двигатели серии ДК-259Г3У2.
Д - двигатель;
К - коллекторный постоянного тока;
259 - порядковый номер типа;
Г3 – Угольные щетки;
У2 - климатическое исполнение и категория размещения по ГОСТ
15150-69 и ГОСТ 15543.1-89.
Технические данные
Мощность номинальная, кВт - 50 Напряжение номинальное, В - 275 Ток якоря, А: номинальный - 211 продолжительный - 170 Ток обмотки последовательного возбуждения, А: номинальный - 105 продолжительный - 100 Ток обмотки параллельного возбуждения, А - 2,15 Частота вращения, мин-1: номинальная - 1160 наибольшая - 4060 КПД (номинальный), % - 86,1 Класс нагревостойкости изоляции (по ГОСТ 8865-93): якоря - Н катушек индуктора - F Масса, кг – 450.
На рисунке 3.1 изображен чертеж двигателя ДК-259Г3У2.
Рисунок 3.1 - Чертеж двигателя ДК-259Г3У2
-
Оборудование управления и краткое описание
-
Расположение электрооборудования на трамвае
-
Наглядное расположение электрооборудования на примере 71-605
приведено на рисунке 3.2.
Рисунок 3.2 - Схема расстановки электрооборудования на вагоне.
-
Перечень оборудования и его описание
В таблице 3.1 предоставлена перечень оборудования используемое на трамваях серии 71-605.
Таблица 3.1 - Перечень оборудования используемое на трамваях серии 71-605
| Обозначение | Наименование | Тип | Кол-во |
| 1.М1-М4 | Двигатель тяговый | ДК-259Г3У2 | 4 |
| 2.ТММ1-ТММ4 МОМ1-МОМ4 | Электромагнит барабанного тормоза | 4 | |
| 3.ТР | Электромагнит рельсового тормоза | ТРМ-5ГУ2 | 4 |
| 4. | Моторная коробка | 4 | |
| 5.3В2-3В3 | Звуковой сигнал | 3ВЩФ24-70В1У | 2 |
| 6. | Панель с контакторами | ТП-128ЕУ2 | 1 |
| 7. | Электрокалор | 1 | |
| 8. | Реверсор | МР-4А-2У2 | 1 |
| 9. | Панель с контакторами | ТП-103ЕУ2 | 1 |
| 10. | Панель с контакторами | ТП89ИУ2 | 1 |
| 11. | Панель с контакторами | ТП102ГУ2 | 1 |
| 12. | Панель с предохранителями | 1 | |
| 13.РРН | Реле-регулятор | РРТ-32 | 1 |
| 14. | Ящик тормозного сопротивления | КФ-38Б-6У2 | 1 |
| 15. | Реостатный контроллер | ЭКГ-336У2 | 1 |
| 16. | Ящик пуско-тормозного сопротивления | КФ-38В-1У2 | 1 |
| 17. | Добавочное сопротивление | ЩС-62А-13 | 1 |
| 18. | Ящик сопротивлений | ЯС-30Д-1У2 | 1 |
| 19. ДГ | Двигатель генератора | ДК-661АУ2 | 1 |
| 20. Г | Генератор | Г-731А | 1 |
| 21. | Панель с контактором | ПГ-117ВУ2 | 1 |
| 22. Р24-Р27 Р28-Р24 | Ящик сопротивлений | КФ-65АУ2 | 1 |
| 23. | Аккумуляторная батарея | 5НК-125Т | 8 |
| 24. РУТ1 | Рубильник | Р15-31320 | 1 |
| 25. Л65…Л66 | Фары | 2 | |
| 26. СЛ17, СЛ18, СЛ25, СЛ26 | Фонарь поворота и стоп-сигнала | СМ28-20-1 | 2 |
| 30. СЛ15, СЛ16 | Фонарь поворота | С цоколем В155/18 | 4 |
| 31. | Пантограф | 1 | |
| 32. | Грозоразрядник | РМВУ-0,55 | 1 |
| 33. РД | Радиореактор | ИК-8Д | |
| 34. СЛ36, СЛ37 | Задний габаритный фонарь | 2 | |
| 35. | Пульт управления | 1 | |
| 36. ЗВ1 | Звонок электронный | ТВУ 24 В | 1 |
| 37. | Усилитель | АГУ-10-4 | 1 |
| 38. РУМ | Разъединитель цепи управления | УП-5315-С457 | 1 |
| 39. П6 | Педаль безопасности | 1 | |
| 40. НВ | Панель песочницы | 1 | |
| 41. КВ | Контролер водителя | КВ-42ГУЗ | 1 |
| 42. БП-10 | Панель с в/в предохранителем | 1 | |
| 43. АВ-1 | Панель с выключателем | ПВА-250АУЗ | 1 |
| 44. АВ-2 | Автоматический выключатель | АВ-8А-4УЗ | 1 |
| 45. | Панель с реле | ПР-106ДУ2 | 1 |
| 46. П2…П3 | Стеклообогрев кабины | ТЭН-60А13/04Л110 | 2 |
| 47. ДС1…ДС2 | Стеклоочиститель | СЛ-135 | 2 |
| 48. Л70…Л75 | Маршрутный указатель | СМ28-5-1 | 6 |
| 49. М15…М17 | Двигатель привода дверей | Г-108М | 3 |
| 50. КУ12…КУ14 | Кнопка вызова | 5К | 3 |
| 51. СК1…СК2 | Стоп-кран | 2 | |
| 52. ВР3…ВР6 | Двигатель вентилятора | М9-65 В | 5 |
| 53. ЭМП-1, ЭМП-2 | Электромагнит песочный | КМП-2АУ3 | 2 |
| 54. Л51…Л57 | Фонарь аварийного освещения | ПК-200-3714010А | 4 |
| 55. Л1…Л36 | Освещение салона | Лампы накаливания ЖГ120 В, 60Вт с цоколем Е27/27 | 36 |
| 56. П6…П35, П36, П37, П4 | Нагреватель электроотопления салона и кабины водителя | ТЭН-60А 13/0,4Л110 | 28 |
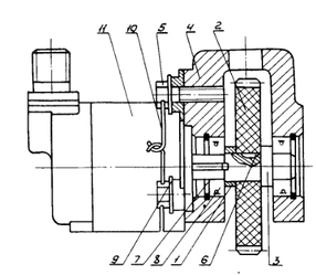
Вагон оборудован следующими видами тормозов — электродинамическим (тяговыми двигателями в тормозном режиме); — барабанно-колодочным с пружинно-электромагнитным и ручным приводами; — рельсовым электромагнитным. Служебным тормозом является электродинамический, снижающий скорость вагона до 5...7 км/ч. Дотормаживание до полной остановки производится барабанным тормозом, который включается автоматически после истощения электродинамического тормоза. Экстренное торможение осуществляется при опускании педали безопасности, включении позиции ТР контроллера водителя или включении стоп-кранов в салоне действием рельсовых электромагнитных и барабанно-колодочных тормозов с одновременной подачей песка на рельсы. При отсутствии напряжения в сети или сгорании предохранителя ПР-1 в цепи параллельной обмотки на тормозных позициях осуществляется аварийное электродинамическое торможение, т. е. в этом случае питание последовательных обмоток возбуждения тяговых двигателей происходит от аккумуляторной батареи. Сцепное устройство На вагонах трамвайных модели 71-605 применены сцепные аппараты типа «Рукопожатие» или автосцепка с резинометаллическими амортизаторами, предназначенными для соединения вагонов по системе «многих единиц», а также для буксирования одного вагона другим. Сцепные аппараты с помощью шарниров крепятся к раме с обоих торцов вагона. При работе вагона в одиночку стержень сцепного аппарата должен быть зафиксирован в осевом положении с помощью специального устройства. На торцах вагона установлены вилки, предназначенные для буксирования вагонов, имеющих различные сцепные аппараты, с помощью запасных сцепок. Центральное подрессоривание Центральное подрессоривание предназначено для обеспечения плавности хода вагона в различных режимах работы. Концы шкворневых балок опираются на комплекты пружин и колец амортизаторов, установленных на продольных балках. Комплект амортизаторов состоит из шести резиновых колец и двух пружин. Нагрузка от кузова через шкворневую балку передается на продольные балки и далее через буксовые подшипники на ось колесной пары. Заземляющее устройство Заземляющее устройство предназначено для предохранения подшипников и зубьев шестерен от электроэрозий при прохождении тока. Заземляющее устройство состоит из корпуса с крышкой, двух щеток с пружинами и обоймами и крепится к длинному кожуху болтами. Щетки с заземляющего устройства прижимаются к втулке, напрессованной на ось колесной пары. Привод датчика спидометра Привод датчика спидометра установлен на первой оси передней тележки и служит для передачи вращения от оси на вал датчика спидометра МЭ-302В. Привод крепится к колесной паре четырьмя болтами. "Датчик МЭ-302В крепится к корпусу 4 болтами 5, застопоренными от самоотвинчивания проволокой 10. Хвостовик вала ротора входит в паз оси 3, которая вращается на трех шарикоподшипниках 8. При движении вагона шестерня 2 находится в зацеплении с шестерней на оси колесной пары и получает вращение. Вместе с шестерней 2 вращается ось 3 и, следовательно, вал ротора датчика спидометра. Боковой зазор в зубчатом зацеплении 0,2...0,3 мм обеспечивается прокладками, которые устанавливаются между корпусом 4 и длинным кожухом колесной пары. На рисунке 3.3 изображен привод датчика спидометра.Рис 3.3 - Привод датчика спидометра. 1—втулка; 2—шестерня; 3———ось; 4—корпус; 5—болт М8; 6—шпонка; 7—копьцо;8-шарикоподшипник; 9——шайба 8; 10—проволока; 11—датчик электроспидометра Пантограф Питание электродвигателей осуществляется через пантограф от контакторной сети постоянного тока напряжением 550 В.
Пантограф имеет контактный полоз, закреплённый на подвижных устройствах — каретках. Каретки упруго закреплены на верхних рамах пантографа. Верхние рамы через систему рычагов шарнирно крепятся к нижней раме. Нижняя рама пантографа через изоляторы жёстко закреплена на крыше.















