metodichka_chast_2 (811780), страница 6
Текст из файла (страница 6)
Достоинствами максимальных реле по сравнению с плавкими вставками являются: мгновенное и одновременное отключение тока в трех фазах при коротких замыканиях; минимальное время, требующееся для включения установки после ее отключения путем поворота рукоятки; легкость регулирования величины отключающего тока и выдержки времени.
К недостаткам максимальных реле относятся: усложнение конструкции и удорожание стоимости аппаратуры; несоответствие характеристики электромагнитного реле тепловой характеристике двигателя (подробнее об этом сказано при рассмотрении тепловых реле).
3.2.3. Защита от перегрузок (тепловое реле)
Особенностью плавких предохранителей и максимальных реле электромагнитного типа является то, что защитное действие их определяется величиной тока. Однако для целости изоляции двигателей опасность представляет не непосредственная величина тока, протекающего по обмотке двигателя, а величина температуры и длительность ее воздействия на изоляцию.
Из выражения
следует, что при постоянной величине сопротивления обмотки двигателя ее температура зависит в основном от двух величин: квадрата тока, протекающего по обмотке, и длительности прохождения тока.
Отсюда следует, рациональная защита электродвигателя должна реагировать не на ток I или продолжительность его действия t, а на произведение I2t, характеризующее количество тепла, выделяемого в обмотке двигателя. Этому требованию удовлетворяют тепловые реле, получившие в последнее время широкое применение в магнитных пускателях и автоматах. В качестве чувствительного элемента в тепловых реле в основном применяется биметалл – жестко связанные между собой пластинки из двух металлов с различными коэффициентами линейного расширения. Пластинки эти склепываются или прокатываются в холодном состоянии. При нормальной температуре (между 0 и 20°С) пластинки имеют одинаковую длину, при повышении температуры они удлиняются, причем пластинка с большим коэффициентом линейного расширения получит большее удлинение, в результате чего пластинки изогнутся. Это изгибание и используется для приведения в действие механизма, отключающего аппарат от сети.
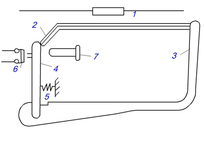
Биметаллическая пластинка 2 (рис.15), укрепленная одним концом на стойке 3, свободным концом упирается в рычаг 4, замыкающий контакты 6, включенные в цепь нулевого автомата или катушки магнитного пускателя. Биметаллическая пластинка помещена внутрь или сбоку нагревательного элемента 1, представляющего собой нихромовое сопротивление, включенное в цепь главного тока. При нагреве биметаллической пластинки выше установленной температуры она, расширяясь, изгибается кверху, освобождая при этом рычаг 4, который под действием пружины 5 размыкает контакты 6, вызывая отключение пускателя или автомата.
После того, как тепловое реле срабатывает, его необходимо установить в нормальное положение, при котором биметаллическая пластинка 2 упирается в рычаг 4. Для этого в аппарате предусмотрена кнопка 7, нажатием которой осуществляется ввод реле.
При семикратной величине тока Iп=7Iн (пуск двигателя с короткозамкнутым ротором) реле отключает автоматический выключатель через 10с; при трехкратной величине тока Iп=3Iн – через 35с; а при Iп=1,5Iн – через 3 мин.
Рис. 15. Рисунок, поясняющий принцип действия теплового реле.
Таким образом, тепловое реле вследствие своей тепловой инерции не реагирует на кратковременные и неопасные толчки тока при пуске двигателя, но зато реагирует на недопустимый нагрев. Однако при коротких замыканиях большой ток, проходящий через нагревательный элемент, может вывести из строя тепловое реле, которое не успевает при этом сработать. Поэтому, применяя тепловое реле для защиты от длительных перегрузок, необходимо последовательно с ним устанавливать максимальные реле или плавкие предохранители для защиты от коротких замыканий
Иногда защиту от коротких замыканий возлагают на автоматический выключатель или предохранители, установленные на подводящем фидере. Промышленность выпускает тепловые реле ТРН-10, ТРН-25, 60, 150, РТ-20, где цифра указывает на ток в защищаемой цепи. Тепловые реле обычно устанавливаются на двух фазах.
Более совершенной защитой от перегрева двигателей электроустановок, в частности двигателя черпаковой цепи и других механизмов является применение встроенного в двигатель температурного реле, температура которого во время работы почти не отличается от температуры обмотки защищаемого двигателя.
Так как при временных перегрузках электродвигателя нарастание температуры стали статора вследствие его большой теплоемкости отстает от нарастания температуры обмотки, то для обеспечения надежной защиты двигателя температурное реле устанавливается не на стали статоров, а на лобовых частях обмотки последнего.
Промышленность выпускает температурные реле ТМ-4, ТТР, ТДР-1, ДТР. Реле ТТР и ДТР выпускаются в пластмассовых корпусах и крепятся к контролируемой машине винтами. Реле ТМ-4 и ТДР-1 имеют малогабаритную конструкцию в виде цилиндра диаметром 8 мм и длиной 20 мм и рассчитаны для установки в отверстия, высверленные в корпусе электродвигателя, опоре подшипника и т.д.
В основе действия всех реле лежит применение биметаллической пластины для одного из контактов.
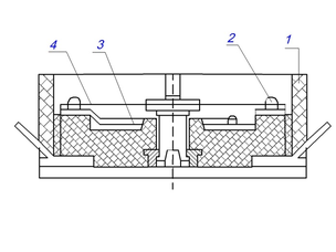
Особенность реле ТТР заключается в том, что оно срабатывает под действием тепла, поступающего как от обмотки двигателя, так и от нагревательного элемента 3, расположенного в корпусе 1 вблизи биметаллического диска 4 (рис.16а). Биметаллический диск 4, в свою очередь, нагревается током, пропорциональным рабочему току двигателя. При достижении предельной температуры диск 4 изгибается и размыкает контакт 2, который включается в цепь управления магнитного пускателя или контактора.
При перегрузках двигателя реле ТТР срабатывает главным образом под действием тепла, выделяемого обмоткой двигателя. При пусковых же токах реле ТТР срабатывает главным образом за счет тепла, выделяемого нагревательным элементом.
а) б)
Рис. 16. Конструкция температурных реле типа ТТР (а) и типа ДТР (б)
Реле ДТР рис.16б состоит из пластмассового корпуса 1, теплопроводящей медной крышки 2, непосредственно прилегающей к обмотке двигателя, термобиметаллических пластин 4 и 5, контактов 7 и 8, укрепленных на контактной пластине 6, изоляционной прокладки 9. Регулировка реле производится винтами 3 и 10. При небольших перегрузках тепло передается пластинами 4 и 5, которые постепенно передвигаются вниз до тех пор, пока пластинка 5 не упрется в винт 10, после чего разомкнутся контакты 7 и 8, включенные в цепь управления магнитного пускателя.
При затяжных пусковых токах вследствие быстрого нарастания температуры пластина 4 окажется более нагретой, чем пластина 5, и, перемещаясь быстрее, разомкнет контакты 7 и 8.
3.2.4. Минимальная защита.
При эксплуатации электроустановок напряжение в сети не является строго постоянным. В зависимости от режима работы установок и электро-снабжающей системы колебания напряжения на зажимах приемника могут достигать весьма значительных пределов. Если при работе асинхронного двигателя напряжение в сети упадет, например до 60-70% номинального значения, то двигатель продолжая развивать на валу необходимый момент, начнет потреблять из сети большой ток, вызывающий перегрев его обмоток.
Защиту двигателя при этом осуществляют, снабжая аппаратуру управления минимальными реле, которые устроены и включаются в схему аналогично нулевым реле, но имеют напряжение отключения
Минимальные реле применяются для защиты асинхронных двигателей с фазным ротором, не рассчитанных на пусковые толчки тока, резко снижающие напряжение в сети.
Нулевая защита применяется главным образом для защиты двигателей с короткозамкнутым ротором, которые могут вращаться при снижении напряжения до 0,15% от номинального, но длительная работа при этом недопустима.
Минимальная и нулевая защиты предотвращают самозапуск остановившихся электродвигателей, что исключает несчастные случаи.
-
Контакторы и магнитные пускатели.
Контактор- выключатель, конструкция которого допускает частые, до 1500 раз в час, замыкания и размыкания силовых цепей при напряжении до 1000В в схемах дистанционного и автоматического управления электроприводами. Подвижные контакты контакторов приводятся в действие и удерживаются в замкнутом (рабочем) положении при помощи электромагнита или ручным приводом.
В электроприводах применяют контакторы с электромагнитами постоянного или переменного тока. Подвижная часть магнитной системы электромагнита якоря механически соединена с подвижными контактами и при отсутствии тока в катушке под влиянием собственного веса занимает положение, при котором контакты разомкнуты.
Контакторы постоянного тока выполняются с одним или двумя силовыми контактами и несколькими блокировочными контактами. Силовые контакты имеют различное конструктивное исполнение и коммутируют токи в пределах 40 ÷ 2500 А. Блокировочные контакты рассчитаны на токи до 10 А и служат для включения в цепь управления контактора и других электроаппаратов. Сердечник электромагнита выполняется из железа с малым содержанием примесей.
Контакторы переменного тока выполняются с двумя или тремя силовыми контактами на токи от 40 до 600 А. Сердечник электромагнита III-образной формы выполняют из листовой электротехнической стали. Для устранения дребезга якоря электромагнита, вызванного перемагничиванием переменным током, на торцевой поверхности сердечника устанавливают короткозамкнутый виток. ЭДС самоиндукции витка сдвинута по фазе к основному току и не дает магнитному потоку уменьшиться до нуля в момент прохождения напряжения через нулевое значение. Для улучшения условий гашения электрической дуги при разрыве цепи главными контактами их устанавливают в дугогасительные камеры. Промышленность выпускает контакторы серий КТ, КТВ, КГУ, рассчитанные на включение в сеть 127, 220, 380, 500 и 660 В.
Магнитный пускатель предназначен для дистанционного управления электроприводами, осветительными установками и т.д., обеспечивая их защиту от перегрузок, нулевую и минимальную защиту.
Основными элементами пускателя являются контактор и тепловые реле, смонтированные на общем основании. Промышленность выпускает пускатели типов ПА, ПМЕ с 1 до 6 величины, контакты которых рассчитаны на токи 15А, 20А, 50А, 100А, 150А. В обозначении пускателя кроме букв стоит три цифры: 1-я указывает на величину пускателя, вторая — на исполнение (1 — открытое, 2 — защитное, 3 — пылеводозащитное), 3-я цифра указывает на функцию пускателя (1 — нереверсивный без тепловых реле ТР, 2 — нереверсивный и с ТР., 3- реверсивный без ТР, 4 — реверсивный с ТР.).
Схема включения пускателей рис. 17 предусматривает включение нормально открытого блокировочного контакта Л параллельно кнопке пуск для удержания пускателя во включенном состоянии после кратковременного нажатия кнопки, одновременно он обеспечивает нулевую защиту.
3.4.Реле
Для автоматизации управления электроприводами применяют различные реле, замыкающие или размыкающие цепи управления при достижении определенных значений электрических или неэлектрических сигналов (например, тока, температуры, давления и др.) на их воспринимающих органах.
В зависимости от физической природы входного (управляющего) сигнала различают реле электрические, тепловые, механические, оптические и т.д. В схемах управления наибольшее применение имеют электрические и тепловые реле.
















