Радиолокационные и радионавигационные измерители угловых координат (774368), страница 9
Текст из файла (страница 9)
Структурная схема РЛ. В соответствии с поставленными перед РЛ общими задачами он должен иметь канал обнаружения движущихся целей (ОДЦ) и четыре измерительных канала, служащих для определения азимута, угла места, скорости и дальности цели. Наличие ОДЦ и необходимость измерения скорости требуют применения когерентного зондирующего сигнала. Последний, как указывалось, должен быть импульсным. Упрощенная структурная схема такого РД представлена на рис.2.2. Описание этой схемы дано в § 2.1.
Рис. 3.1
Отличительной особенностью амплитудного суммарно-разностного радиолокатора является использование антенной системы (АС) с амплитудным угловым датчиком (i, с.189...191). Такая АС может состоять из приемно-передающей фазированной антенной решетки ФАР, включающей диаграммообразующую схему, и суммарно-разностного преобразователя СРП, подобного показанному на рис. 2.3. В режиме приема АС формирует суммарный сигнал
и два разностных сигнала
и
, несущих информацию о углах рассогласования
в азимутальной и угломестной плоскостях. При пеленгации в одной плоскости диаграмма направленности ФАР имеет вид, показанный на рис. 3.1. Равносигнальное направление РСН, от которого отсчитывается угол рассогласования
, проходит через точку пересечения диаграмм
и
, максимумы которых сдвинуты на угол
относительно РСН.
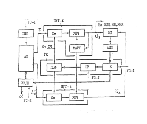
Структурная схема азимутального канала. Входящий в состав РЛ измеритель угловых координат должен определять азимут и угол места цели и содержит в связи с этим два идентичных по схеме канала: канал азимута и угломестный канал (УК).
Рис. 3.2
Структурная схема азимутального канала показана на рис. 3.2. Предусмотрены два режима работы этого канала: рабочий, когда измеряется угол
, и калибровочный, когда корректируются неидентичности трактов обработки сигналов. Последний режим и соответствующая ему схема устройства коррекции УК (выделена на рис. 3.2) будут рассмотрены отдельно.
В рабочем режиме коммутатор К соединяет выход углового дискриминатора с устройством управления диаграммой направленности УУДН. Кроме того, отключается генератор пилот-сигнала ГПС.
Угловой дискриминатор содержит два ПУТ и фазовый детектор ФД. Сигнал ФД преобразуется в цифровую форму с помощью аналого-цифрового преобразователя АЦП. Устройство мгновенной автоматической регулировки усиления МАРУ служит для нормировки сигналов, с помощью которой уменьшается влияние амплитудных флуктуации входных сигналов на точность измерения угловых координат.
В идеальном амплитудном суммарно-разностном радиопеленгаторе (т.е. в радиопеленгаторе с идентичными характеристиками трактов приема и усиления сигналов) суммарный
и разностный
сигналы синфазны или противофазны (в зависимости от знака угла
). Такой же фазовый сдвиг имеют и сигналы
и
подаваемые на ФД. Поэтому в отличие от фазового суммарно-разностного радиопеленгатора дополнительный фазовращатель на
в разностном канале здесь не требуется.
Информация о угле рассогласования
содержится в амплитудах принимаемых по диаграммам
и
сигналов (см. рис. 3.1), которые при идентичных диаграммах, т.е. при
, и малых углах
имеют вид
Разложение функций
в степенной ряд дает
где
- нормированная крутизна ДНА на РСН.
При одинаковых коэффициентах усиления ПУТ-
и ПУТ-
, т.е. при
, суммарный и разностный сигналы на входе ФД будут
Таким образом в идеальном амплитудном суммарно-разностном моноимпульсном радиопеленгаторе на выходе углового дискриминатора (на выходе ФД) действует сигнал ошибки
где
- коэффициент передачи фазового детектора, а наличие члена
в знаменателе есть следствие работы схемы МАРУ, уменьшающей коэффициенты усиления ПУТ-
и ПУТ-
пропорционально значению
.
Сигнал ошибки подается (в данном случае в цифровой форме) на устройство управления диаграммами направленности УУДН, вызывая такой поворот ДНА, при котором
стремится к нулю.
Как следует из сказанного, после суммарно-разностного преобразования информация о угле
содержится в амплитуде и фазе разностного сигнала, а сигнал
используется как опорный при определении фазы сигнала
.
Структурная схема устройства коррекции. В реальных амплитудных суммарно-разностных радиопеленгаторах тракты обработки сигналов обычно неидентичны, что приводит к появлению аппаратурной
погрешности при определении угловых координат цели. Наибольшее влияние на аппаратурную погрешность оказывают:
-
- неидентичность фазовых сдвигов сигналов
и
на высокой частоте (до СРП);
-
- неидентичность коэффициентов передачи трактов прохождения этих сигналов до СРП;
-
- неидентичность фазовых сдвигов суммарного и разностного сигналов в трактах усиления на промежуточной частоте (в ПУТ).
Сигнал на выходе углового дискриминатора (3.1) при неидентичных трактах приема и усиления сигналов принимает вид
При нахождении цели на равносигнальном направлении РСН, когда
, сигнал
не равен нулю и ДНА продолжает свое движение до тех пор, пока за счет возникающего приращения амплитуд
и
не будет достигнуто условие
. Как следует из векторной диаграммы, показанной на рис. 3.3,а, когда цель находится на РСН, разностный сигнал на выходе СРП не равен нулю и не ортогонален сигналу
. В усилительном тракте к углу
между
и
добавляется фазовый сдвиг
и сигналы
и
оказываются сдвинутыми по фазе на угол υ=
(рис. 3.3,б). Так как в общем случае υ
, то и сигнал ошибки также не равен нулю. Движение ДНА будет продолжаться, пока не будет выполнено условие
, что в рассматриваемой ситуации возможно только при υ
.
Рис. 3.3
Таким образом при неидентичных трактах радиопеленгатора РСН в установившемся состоянии системы слежения за углом
, когда
, отличается от направления на цель на некоторый угол
, который и является аппаратурной погрешностью
радиопеленгатора. Приравнивая нулю значение
в соотношении (3.2), можно получить формулу для расчета аппаратурной погрешности амплитудного суммарно-разностного радиопеленгатора:
Для уменьшения аппаратурной погрешности можно использовать также коррекцию неидентичностей трактов приема и усиления сигналов. На рис. 3.2 показан наиболее простой вариант устройства коррекции, основанный на введении дополнительного фазового сдвига
в сигнал, усиливаемый в ПУТ-
. Целесообразность применения этого варианта коррекции обоснована в § 2.1 данного пособия.
По принципу действия рассматриваемое устройство коррекцией идентично описанному в § 1.1.
3.2. Расчет длины волны и параметров ФАР
При использовании в РЛ круглой ФАР с диаметром
ширина ДНА в азимутальной плоскости
и в угломестной плоскости
одна и та же, т.е.
. Значение
определяется из заданной разрешающей способности РЛ по угловым координатам, которая составляет
Тогда длина волны зондирующего сигнала может быть найдена из соотношения
Коэффициент усиления рассматриваемой ФАР при
, выраженной в градусах, будет
где принято, что КПД антенны
.
Обоснование угла смещения
максимума ДНА. Угол
(см. рис. 3.I), характеризующий отклонение максимума диаграмм
или
от равносигнального направления РСН, в амплитудном суммарно-разностном радиопеленгаторе выбирается из компромиссных соображений. Дело в том, что увеличение отношения
с одной стороны приводит к повышению точности пеленгации, так как сопровождается ростом крутизны пеленгационной характеристики на РСН
(см. § 3.5 данного пособия), а с другой - к снижению уровня суммарного сигнала на РСН и, как следствие, к уменьшению отношения мощностей сигнала и шума
и сокращению дальности действия РЛ.
Исходя из сказанного, рекомендуется принимать
При таком значении
диаграммы
и
пересекаются на уровне, близком к уровню половинной мощности.
3.3. Расчет параметров сигнала
В данном разделе рассчитываются длительность
и период повторения
зондирующих импульсов.
Длительность импульса определяется из заданного значения разрешающей способности РЛ по дальности
:
Период повторения импульсов выбирается из условия однозначности дальнометрии:
которое с целью конкретизации расчета рекомендуется заменить равенством
где коэффициент запаса
. Появляющийся при этом дополнительный интервал времени, равный
, где
- максимальная дальность цели, целесообразно использовать для коррекции неидентичностей приемных трактов, обеспечив соответствующее быстродействие устройства коррекции.
3.4. Выбор параметров устройств обработки сигналов
Основными устройствами, подлежащими рассмотрению в данном разделе, как следует из рис. 3.2, являются усилитель промежуточной частоты и устройство мгновенной автоматической регулировки усиления.















