Радиолокационные и радионавигационные измерители угловых координат (774368), страница 11
Текст из файла (страница 11)
Для нахождения этих параметров следует воспользоваться соотношениями (2.24) и (2.25) соответственно с учетом особенностей расчета, которые даны в § 2.6 настоящего пособия.
3.7. Расчет вспомогательных параметров
В данном разделе по методике, изложенной в § 1.8 пособия, с учетом замечаний § 2.7 рассчитываются параметры, необходимые при разработке требований к элементам угломерного канала (см. Приложение П I). При проектировании амплитудного суммарно-разностного РЛ к таким, параметрам относятся параметры выдаваемого угломерным каналом двоичного кода сигнала рассогласования по азимуту (цена младшего разряда кода
и число разрядов
) и параметры устройства коррекции (цена младшего разряда корректирующего кода
и число разрядов
).
При расчете устройства коррекции следует вместо формулы (2.19) использовать соотношение (3.18). В первую очередь нужно определить значение
, которое соответствует
. Затем находится значение
, которое соответствует допустимой аппаратурной погрешности
. Для решения этой задачи можно либо решить уравнение (3.18) относительно неизвестной величины
при
, либо определить
методом подбора в области, примыкающей к
. Последний метод более прост.
При вычислении
в целях упрощения рекомендуется принять
.
4. АМПЛИТУДНО-АМПЛИТУДНЫЙ РАДИОЛОКАТОР.
Рассматриваемый амплитудно-амплитудный радиолокатор (РЛ) входит в состав обзорно-прицельного комплекса тактического самолета (истребителя). Для детальной разработки предлагается канал измерения азимута цели (азимутальный канал) этого РЛ, представляющий собой амплитудно-амплитудный моноимпульсный радиопеленгатор.
Проектируемый РЛ по назначению аналогичен фазовому суммарно-разностному РЛ, разработке которого посвящена гл.2 данного пособия. Поэтому для более детального ознакомления с особенностями РЛ рекомендуется обращаться к § 2.1.
Тактическая ситуация, соответствующая исходным данным на проектирование, предполагает работу РЛ в ближней зоне БЗ (см. рис. 2.1) и использование в качестве зондирующего простого импульсного сигнала. Считается, что модулирующие импульсы имеют прямоугольную форму, а период повторения импульсов выбирается из условия однозначности дальнометрии (2.1).
4.1. Выбор структурных схем
В данном разделе предлагается один из вариантов разработки структурной схемы РЛ, а также схем азимутального канала и устройства коррекции неидентичностей приемных трактов этого канала, существенно влияющих на его точность.
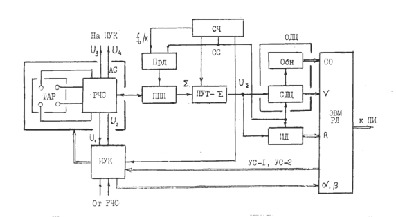
Структурная схема РЛ. В соответствии с поставленными перед РЛ общими задачами он должен иметь канал обнаружения движущихся целей (ОДЦ) и четыре измерительных канала, служащих для определения азимута, угла места, скорости и дальности цели. Наличие ОДЦ и необходимость измерения скорости цели требуют применения когерентного зондирующего сигнала. Последний, как указывалось, должен быть импульсным.
Рис. 4.1
Упрощенная структурная схема такого РЛ представлена на рис. 4.1. Источником когерентных колебаний служит синтезатор частот СЧ. Основой СЧ является когерентный генератор частоты
, из которой путем дробно-рациональных преобразований формируются частоты всех сигналов, необходимых для работы РЛ. Передатчик Прд представляет собой умножитель частоты
выдаваемого СЧ сигнала (
- несущая частота) в k раз с последующим усилителем мощности, периодически отпирающимся при поступлении с СЧ синхронизирующих импульсов с частотой повторения
(синхросигнал СС). Полученный в Прд зондирующий сигнал через переключатель прием-передача ППП направляется к антенной системе АС.
Отличительной особенностью амплитудно-амплитудного радиолокатора является использование АС с амплитудным угловым датчиком. Возможный вариант такой АС содержит приемно-передающую фазированную антенную решетку ФАР и радиочастотный сумматор РЧС. Антенная решетка имеет четыре модуля (рис. 4.2,а), коммутация которых производится с помощью РЧС. Фазирующие элементы ФАР обеспечивают одинаковые фазы излучаемых и выдаваемых модулями сигналов. При передаче РЧС выполняет функцию делителя мощности зондирующего сигнала между модулями ФАР, формирующей в этом режиме работы РЛ суммарную диаграмму направленности.
В режиме приема на выходе РЧС действуют пять сигналов:
где
- амплитуда сигнала, поступающего с i-го модуля.
Сигнал
подается на приемно-усилительный тракт ПУТ-
, а сигналы
и
используются соответственно для нахождения угла места и азимута цели в измерителе угловых координат ИУК. В частности, при измерении азимута ФАР преобразуется в антенну с двумя приемными элементами
и
с общим фазовым центром (рис. 4.2,б)
Рис. 4.2
Управление сканированием ДНА осуществляется с помощью сигнала УС-2 (см. рис. 4.1), поступающего с ЭВМ радиолокатора ЭВМ РЛ. Сканирование ДНА используется при поиске цели по угловым координатам. Сигнал УС-1 служит для переключения коммутаторов ИУК при коррекции неидентичностей приемно-усилительных трактов. Информация о азимуте
и угле места
цели поступает в ЭВМ РЛ.
Усиленный и отфильтрованный суммарный сигнал с ПУТ-
подается на обнаружитель движущихся целей ОДЦ и измеритель дальности ИД. Информация о скорости цели может сниматься с устройства селекции движущихся целей СДЦ при построении последнего на основе фильтрового метода. Обнаружитель Обн вырабатывает сигнал обнаружения СО. Этот сигнал, а также информация о дальности
и скорости
цели направляются (обычно в цифровой форме) в ЭВМ РЛ, которая вырабатывает команды для систем управления самолетом или его оружием, являющихся потребителями информации ПИ, выдаваемой ЭВМ РЛ. Эта ЭВМ используется и для управления радиолокатором, выдавая, например, команды на изменение параметров РЛ при переходе от ближней зоны обзора к дальней зоне.
Структурная схема азимутального канала. Входящий в состав РЛ измеритель угловых координат должен определять азимут и угол места цели и содержит два идентичных по схеме канала: азимутальный и угломестный (УМК).
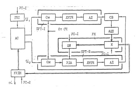
Структурная схема азимутального канала показана на рис. 4.3. Предусмотрено два режима работы этого канала: рабочий, когда измеряется угол
, и калибровочный, когда корректируются неидентичности трактов обработки сигналов. Последний режим и соответствующая ему схема устройства коррекции УК (выделена на рис. 4.3) будут рассмотрены отдельно.
Рис. 4.3
В рабочем режиме коммутатор К соединяет выход углового дискриминатора с устройством управления диаграммой направленности УУДН. Кроме того, отключается генератор пилот-сигнала ГПС.
Угловой дискриминатор содержит два ПУТ и схему вычитания СВ. Сигнал СВ преобразуется в цифровую форму с помощью аналого-цифрового преобразователя АЦП. В каждый из ПУТ входят смеситель См, логарифмический усилитель промежуточной частоты ЛУПЧ и амплитудный детектор АД. В один из ПУТ включается управляемый дискретный аттенюатор УДА, служащий для изменения коэффициента усиления этого ПУТ. Нормировка сигналов, с помощью которой уменьшается влияние амплитудных флуктуаций входных сигналов на точность измерения угловых координат, осуществляется путем вычитания в СВ предварительно прологарифмированных в ЛУПЧ сигналов.
В амплитудно-амплитудном радиопеленгаторе информация о угле рассогласования
содержится в амплитудах принимаемых по диаграммам
и
сигналов (см. рис. 3.1 и рис. 3.4), которые при идентичных диаграммах, т.е. при
, и малых углах
имеют вид
Разложение функций
в степенной ряд дает
где
- нормированная крутизна ДНА на равносигнальном направлении (РСН).
Сигналы, подаваемые на схему вычитания СВ, имеют следующие амплитуды ( [б1 , с.45):
где
и
- коэффициенты передачи ПУТ-1 и ПУТ-2 на линейном участке амплитудных характеристик ЛУПЧ (рис. 4.4);
- амплитуда сигнала на входе ЛУПЧ, соответствующая началу логарифмического участка амплитудной характеристики;
и
- коэффициенты передачи высокочастотных цепей (до смесителей);
- нормированное значение амплитуды входного сигнала.
В идеальном амплитудно-амплитудном радиопеленгаторе коэффициенты передачи трактов одинаковые, т.е.
и
и напряжение на выходе СВ, т.е. сигнал ошибки на выходе углового дискриминатора, описывается выражением
Сигнал ошибки подается (в данном случае в цифровой форме) на устройство управления диаграммами направленности УУДН, вызывая такой поворот ДНА, при котором
стремится к нулю.
Как следует из сказанного, в рассматриваемом амплитудно-амплитудном радиопеленгаторе информация о угле
переносится из разности амплитуд входных сигналов в сигнал
, пропорциональный отношению этих амплитуд.
Структурная схема устройства коррекции. В реальном амплитудно-амплитудном радиопеленгаторе тракты обработки сигналов обычно неидентичны, что приводит к появлению аппаратурной погрешности при определении угловых координат цели. Наибольшее влияние на аппаратурную погрешность оказывают:
-
- неидентичность коэффициентов передачи трактов прохождения сигналов на высокой частоте (до ПУТ) ;















