tkm_2_1_-_kopia (769673), страница 2
Текст из файла (страница 2)
Анализ технологичности конструкции детали показал, что изделие обладает низкой технологичностью, так как при изготовлении значительное количество металла удаляется в стружку (КИМ=0.5).
Чертеж детали, технология изготовления которого предполагает механическую обработку профиля резанием.
1. Анализ исходных данных и выбор марки материала
-
Тип производства: массовое производство N=5000 штук в год.
-
Габариты поковки: диаметр детали 250 мм, высота 80 мм.
2. Выбор вида обработки давлением
Таблица 1. Матрица влияния факторов.
| Вид, способ обработки давлением | Размер, масса | Точность и требования к размерам | Технологические свойства | Программа, объём выпуска |
| Ковка | 1 | 0 | 0 | 1 |
| ГОШ в открытых штампах | 1 | 1 | 1 | 1 |
| ГОШ в закрытых штампах | 1 | 0 | 0 | 1 |
| ХОШ в закрытых штампах | 1 | 1 | 0 | 1 |
Таблица 2. Технологические возможности способов изготовления поковок из стали и цветных сплавов
| Способ изготовления и оборудование | Масса, кг | Толщина стенки, мм | Минимальный размер партии N, шт | Максимальный габаритный размер, мм | Коэффициент использования материала | Шероховатость Ra, мкм | |
| Ковка | Гидравлический пресс, молот | <250000 | >20 | >1 | >10000 | 0.35* | 80..10 |
| ГОШ | Механический пресс, молот | <400 | >6 | >500 | <500 | 0.5* | 25..10 |
| Горизонтально-ковочная машина | <200 | >4 | >500 | <250 | |||
| ХОШ | Механический пресс, гидравлический пресс | <40 | >2 | >200 | <250 | <0.8* | 5..0.2 |
Т.к. в условиях массового производства использование ковки экономически и технологически невыгодно, а габариты поковки и ее масса делают метод холодной объёмной штамповки также затруднительным, считаю целесообразным получение данной поковки методом горячей объёмной штамповки.
Получение заготовки ковкой при массовом производстве не целесообразно. Целесообразно получение поковки заданной детали горячей объемной штамповкой в открытом молотовом штампе. Материал заготовки (сталь 20) имеет при температуре ковки достаточную пластичность (относительное удлинение при
51%) и в создании трёхосного напряжения сжатия, т.е. в применении закрытого штампа, нет необходимости.
-
Разработка технологического процесса изготовления поковок
Разработку техпроцесса начинаем с составления чертежа поковки.
Выбор поверхности разъема штампа.
Исходя из требований к расположению поверхности разъема штампа:
1.Возможность свободного извлечения поковки из полости штампа;
2.Минимальную глубину полостей штампа;
3.Пересечение с вертикальной поверхностью поковки.
Для детали «зубчатое колесо» поверхность разъема целесообразно назначить к середине поверхности «В» (см. эскиз детали).
Выбор размеров исходной заготовки.
Исходная заготовка – цилиндр, высотой
, диаметром
. Исходя из технологических особенностей процессов ОМД, отношение
Масса исходной заготовки
рассчитывается по формуле:
Mзаг=15.4 кг
Где
- масса исходной детали.
Объём исходной заготовки
, рассчитывается по формуле:
Где
– плотность материала заготовки.
Vзаг=0.002м3
Затем решается система уравнений:
Результат расчёта: расчетные значения размеров заготовки: высоты
, диаметром
.
dзаг = 99мм
Затем по ГОСТ уточняется диаметр заготовки и округляется до ближайшего стандартного значения -
. Для углеродистой стали список ГОСТов на сортамент приведён в ГОСТ 1050-88.
dзаг истинное =100мм
Затем имея
, применяя формулу:
Определяется истинная высота заготовки:
=250мм
| Размер, на который назначается припуск (с указанием чистоты поверхности) | Припуск на механическую обработку /мм/ | Итого размер /мм/ | Допуск /мм/ | ||||||||
| основной | дополнительный | Итого: | |||||||||
| На смещение разъема штампа | На изогнутость и плоскостность | ||||||||||
| Диаметр | 256 | Ra 6.3 | 2,5 | 0,4 | 0,5 | 3,4 (3,5) | 212 | +2,4/-1,2 | |||
| 45 | Ra 1,6 | 2,2 | 0,4 | 0,5 | 3,1 (3,0) | 48 | +1,8/-1,0 | ||||
| Толщина | 70 | Ra 12,5 | 1,7 | 0,4 | 0,5 | 2,6 (2,5) | 44,5 | +1,8/-1,0 | |||
Последовательность назначения припусков и допусков следующая:
1. Определение исходного индекса. Раздел 3, ГОСТ 7505-89.
2. Определение припуска на механическую обработку. Раздел 4, ГОСТ 7505-89
3. Определение допусков. Раздел 5, ГОСТ 7505-89
В данной работе итоговое значение припуска в соответствии с ГОСТ 7505-89 может быть округлено с точностью до 0,5 мм
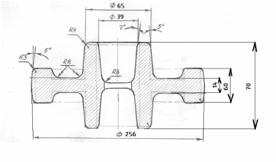
2. Назначение наружных и внутренних уклонов
Штамповочные уклоны должны быть назначены на поверхности образованные диаметрами 256, 176 и 65 мм. Величина наружных штамповочных уклонов (диаметр 212 и 81 мм) определяется по ГОСТ 7505-89 из таблицы 18. Так как в обоих случаев отношение длины полости штампа lп к ширине bп равна 1, а отношение глубины полости штампа hп к ширине bп меньше 1, то величина уклона составляет 50 (рисунок 2). Внутренний штамповочный уклон на поверхности диаметра 176 мм принимаем 70, так как внутренние уклоны должны быть на 20-30 больше наружных.
3. Назначение радиусов закруглений на поковке
Величина радиусов закруглений определяется массой (величиной) поковки и глубиной соответствующей полости штампа. Масса нашей поковки попадает в диапазон 6,4-16 кг, при этом глубина полости штампа на диаметре 176 и 256 мм составляет 37.75 мм, а на диаметре 65 мм – 53 мм. В соответствии с таблицей 2 наименьшие значения радиуса закруглений внешних углов штампованных поковок при глубине штампа менее 25 мм составляет 2,5 мм, а при глубине более 50 мм – 4 мм. Назначаем значения внешних радиусов закруглений на диаметрах 212 и 65 мм – 3 мм, а на диаметре 65 мм – 4 мм. Все внутренние радиусы закруглений назначаем 8 мм (в 2 раза больше внешних).
Назначение радиусов закруглений на поковке
| Масса поковки, кг | Минимальная величина радиусов закруглений, мм, при глубине полости ручья штампа, мм | ||||
| Min | Max | До 10 вкл | 10,1-25 | 25,1-50 | Св 50 |
| 0,1 | 1,0 | 1,0 | 1,6 | 2,0 | 3,0 |
| 1,1 | 6,3 | 1,6 | 2,0 | 2,5 | 3,6 |
| 6,4 | 16,0 | 2,0 | 2,5 | 3,0 | 4,0 |
| 16,1 | 40 | 2,5 | 3,0 | 4,0 | 5,0 |
| 40,1 | 100 | 3,0 | 4,0 | 5,0 | 7,0 |
| 100,1 | 250 | 4,0 | 5,0 | 6,0 | 8,0 |
Эскиз поковки.
250000>400>500>200>250>250>40>0>















