147121 (730428)
Текст из файла
Министерство образования Российской Федерации
Санкт-Петербургский государственный университет
сервиса и экономики
Автотранспортные средства
Реферат
Тема:
«Конструкция и работа системы питания бензинового двигателя »
Выполнил студент 3-ого курса
Специальность 100.101
Иванов В.И.
Санкт-Петербург
2010
Содержание
Введение
1. Работа двигателей на рабочей смеси
2. Система питания карбюраторного двигателя
3. Конструкция и работа системы питания карбюраторного двигателя
4. Система питания бензинового двигателя с впрыском топлива
5. Техника безопасности
Список использованной литературы
Введение
Системой питания называется совокупность приборов и устройств, обеспечивающих подачу топлива и воздуха к цилиндрам двигателя и отвод от цилиндров отработавших газов.
Система питания служит для приготовления горючей смеси, необходимой для работы двигателя.
Горючей называется смесь топлива и воздуха в определенных пропорциях.
1.Работа двигателей на рабочей смеси
Рабочей называется смесь топлива, воздуха и отработавших газов, образующаяся в цилиндрах при работе двигателя.
В зависимости от места и способа приготовления горючей смеси двигатели автомобилей могут иметь различные системы питания (рис. 1).
Рис. 1. Типы систем питания двигателей, классифицированных по различным признакам
Система питания с приготовлением горючей смеси в специальном приборе — карбюраторе — применяется в бензиновых двигателях, которые называются карбюраторными. Для приготовления горючей смеси в карбюраторе используется пульверизационный способ. При этом способе капельки бензина, попадая из распылителя в движущийся со скоростью 50... 150 м/с поток воздуха в смесительной камере карбюратора, размельчаются, испаряются и, смешиваясь с воздухом, образуют горючую смесь. Полученная горючая смесь поступает в цилиндры двигателя.
Система питания с приготовлением горючей смеси во впускном трубопроводе также применяется в бензиновых двигателях. Для приготовления горючей смеси в быстро движущийся поток воздуха во впускном трубопроводе под давлением из форсунок впрыскивается мелкораспыленное топливо. Топливо перемешивается с воздухом, и образованная горючая смесь поступает в цилиндры двигателя.
Система питания с приготовлением горючей смеси непосредственно в цилиндрах двигателя применяется как в дизелях, так и в бензиновых двигателях. Приготовление горючей смеси происходит внутри цилиндров двигателя путем впрыска из форсунок под давлением мелкораспыленного топлива в сжимаемый в цилиндрах воздух. При этом, если в дизелях происходит самовоспламенение образованной рабочей смеси от сжатия, то в бензиновых двигателях рабочая смесь в цилиндрах воспламеняется принудительно от свечей зажигания. Система питания с впрыском топлива обеспечивает лучшее наполнение цилиндров двигателя горючей смесью и лучшую их очистку от отработавших газов. При этом впрыск топлива позволяет повысить степень сжатия и максимальную мощность у бензиновых двигателей, уменьшить расход топлива и снизить токсичность отработавших газов. Однако системы питания с впрыском топлива сложнее по конструкции и по обслуживанию в эксплуатации.
2. Система питания карбюраторного двигателя
Топливо. Для бензиновых двигателей автомобилей топливом является бензин различных марок — А-80, АИ-93, АИ-95, АИ-98, где буква А означает автомобильный; И — метод определения октанового числа бензина (исследовательский); 93, 95, 98 — октановое число, характеризующее стойкость бензина против детонации. Чем выше октановое число, тем выше может быть степень сжатия двигателя.
Детонация — процесс сгорания рабочей смеси с взрывом ее отдельных объемов в цилиндрах двигателя со скоростью распространения пламени до 3000 м/с, в то время как при нормальном сгорании рабочей смеси скорость распространения пламени 30...40 м/с. Сгорание при детонации приобретает взрывной характер. Ударная волна распространяется в цилиндрах двигателя со сверхзвуковой скоростью. Резко повышается давление газов и ухудшаются показатели двигателя по мощности и экономичности. Появляются звонкие стуки в двигателе, черный дым из глушителя, и происходит перегрев двигателя. При этом быстро изнашиваются детали кривошипно-шатунного механизма и обгорают головки клапанов.
Для повышения антидетонационных свойств в бензины добавляют антидетонатор ТЭС — тетраэтилсвинец. Такие бензины называются этилированными, они имеют отличительные обозначение и окраску — АИ-93-этил (оранжево-красного цвета) и АИ-98-этил (синего цвета). Этилированные бензины очень ядовиты, и при обращении с ними необходимо соблюдать осторожность — не применять для мытья рук и деталей, не засасывать ртом при переливании и т. п.
Использование этилированных бензинов для автомобилей в крупных городах запрещено.
3. Конструкция и работа системы питания карбюраторного двигателя
Система питания двигателя автомобиля состоит из топливного бака, топливного насоса, воздушного фильтра, карбюратора, топливопроводов, впускного и выпускного трубопроводов, трубы глушителей, основного и дополнительного глушителей (рис. 2).
Топливо из бака 6 подается насосом 7 по топливопроводам 5 в карбюратор 4. Через воздушный фильтр 1 в карбюратор поступает воздух. Приготовленная в карбюраторе горючая смесь подается в цилиндры двигателя по впускному трубопроводу 2. Отработавшие газы отводятся из цилиндров двигателя в окружающую среду через выпускной трубопровод 3, трубу 8 глушителей, основной 10 и дополнительный 9 глушители.
Рис. 2. Система питания двигателя:
1 — воздушный фильтр; 2,3 — трубопроводы; 4 — карбюратор; 5 — топливопровод; 6 — бак; 7 — насос; 8 — труба; 9, 10 — глушители
В системе питания двигателя часто установлен фильтр тонкой очистки топлива. Топливный бак соединен шлангом с сепаратором (специальным устройством), служащим для конденсации паров бензина, и сливным трубопроводом с карбюратором. На шланге сепаратора и сливном трубопроводе установлены обратные клапаны. Один клапан исключает слив топлива из бака через карбюратор при опрокидывании автомобиля, а другой клапан связывает внутреннюю полость бака с атмосферой. Топливо подается в систему с обратным сливом его части из карбюратора (через калиброванное отверстие) в топливный бак, что обеспечивает постоянную циркуляцию топлива в системе. Постоянная циркуляция топлива исключает воздушные пробки в системе, улучшает ее работу и способствует дополнительному охлаждению двигателя.
Топливный бак служит для хранения запаса топлива, необходимого для определенного пробега автомобиля. На автомобилях применяют сварные, штампованные из стали топливные баки с покрытием из свинца для предохранения от коррозии, или пластмассовые. Наполненный бензином бак обеспечивает пробег автомобиля 350...400 км.
Топливный бак (рис. 3) сварен из двух корытообразных половин 1. В верхней части бак имеет наливную горловину, состоящую из приемной 13 и наливной 10 труб с уплотнителем 8 и резинового соединительного шланга 11. Наливная горловина закрывается резьбовой герметичной пробкой 6 с прокладкой 7. В нижней части бака находится сливное отверстие с резьбовой пробкой 14. Количество топлива в баке контролируют указателем, датчик 3 которого установлен внутри бака. Топливо забирается из бака через топливоприемную трубку 2, имеющую сетчатый фильтр, и через шланг 4 и топливопровод 5 поступает в топливный насос. Связь внутренней полости бака с окружающей средой и ее вентиляция осуществляются через воздушную 12 и вентиляционную 9 трубки.
Рис. 3. Топливный бак:
1 — половина бака; 2, 9, 12 — трубки; 3 — датчик; 4, 11 — шланги; 5 — топливопровод; 6, 14 — пробки; 7 — прокладка; 8 — уплотнитель; 10, 13 — трубы
В топливных баках автомобилей часто для увеличения жесткости и уменьшения колебаний топлива при движении внутри имеются специальные перегородки. Кроме того, в нижней части бака размещается противоотливное устройство, изготовленное в виде стакана диаметром 150 и высотой 80 мм. Это устройство предназначено для исключения перебоев в работе двигателя и его остановки при резком трогании с места или резком торможении, а также при движении автомобиля на больших скоростях на поворотах.
Форма топливного бака во многом зависит от его размещения на автомобиле. Бак может располагаться под полом кузова, в багажнике, под задним и за задним сиденьем, т.е. в местах, более защищенных от ударов при столкновениях. Прикрепляется топливный бак к кузову автомобиля.
Топливный насос служит для подачи топлива из топливного бака в карбюратор. На двигателях автомобилей устанавливают топливные насосы саморегулирующиеся, диафрагменного типа.
В топливном насосе (рис. 4) между верхней 7 (с крышкой 9) и нижней 1 частями корпуса установлен блок диафрагм 3, который соединен со штоком 11. Шток охватывается вильчатым концом балансира 15 рычага 16 привода насоса. На штоке установлена пружина 2 блока диафрагм. В верхней части корпуса насоса находятся всасывающий 10 и нагнетательный 4 клапаны. Привод насоса осуществляется толкателем от эксцентрика вала привода масляного насоса. Под воздействием эксцентрика толкатель нажимает на верхнюю часть рычага 16, а балансир 15 через шток 11 перемещает блок диафрагм 3 вниз. При этом пружина 2 сжимается. Объем полости над блоком диафрагм увеличивается, и топливо под действием разрежения из бака поступает в насос через всасывающий патрубок 8, сетчатый фильтр б и всасывающий клапан 10. Нагнетательный клапан насоса при этом закрыт. Вверх блок диафрагм перемещается под действием пружины 2, когда балансир 15 не удерживает шток 11.
Рис. 4. Топливный насос:
1,7 — части корпуса; 2, 13 — пружины; 3 — блок диафрагм; 4, 10 — клапаны; 5, 8 — патрубки; 6 — фильтр; 9 — крышка; 11 — шток; 12, 16 — рычаги; 14 — эксцентрик; 15 — балансир
Под давлением топлива открывается нагнетательный клапан 4, и топливо через нагнетательный патрубок 5 поступает в карбюратор. Всасывающий клапан в этом случае закрыт. Когда поплавковая камера карбюратора будет заполнена, запорная игла поплавка перекроет доступ топлива в карбюратор. При этом блок диафрагм топливного насоса останется в нижнем положении, и рычаг 16 с балансиром будет перемещаться вхолостую. Рычаг 12 с пружиной 13 служит для ручной подкачки топлива в карбюратор перед пуском двигателя. Он воздействует на балансир 15 через эксцентрик 14. Насос саморегулируется — при небольших расходах топлива ход блока диафрагм недоиспользуется, а ход рычага механической подкачки топлива с балансиром будет частично холостым. Топливный насос устанавливается на специальном приливе на блоке цилиндров двигателя и крепится к нему двумя шпильками.
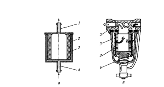
Топливный фильтр тонкой очистки очищает топливо, поступающее в карбюратор, от механических примесей. Очистка топлива необходима, чтобы не засорялись каналы и жиклеры карбюратора, имеющие малые сечения. Фильтр тонкой очистки топлива может быть выполнен неразборным (рис. 5, а). Бумажный фильтрующий элемент 3 такого фильтра находится в корпусе 2 с крышкой, которые изготовлены из пластмассы и сварены между собой токами высокой частоты или ультразвуковой сваркой. Топливо поступает в фильтр из насоса через патрубок 4, проходит через фильтрующий элемент, очищается в нем и через патрубок 1 поступает в карбюратор.
Для тонкой очистки топлива используются также разборные фильтры.
Разборный фильтр (рис. 5, б) состоит из корпуса 2, отстойника 5 и фильтрующего элемента 3. Фильтрующий элемент изготовлен из латунной сетки, намотанной в два слоя на стакан из алюминиевого сплава, который имеет на боковой поверхности ребра и отверстия для прохода топлива. Сетка на стакане удерживается пружиной, надетой снаружи на фильтрующий элемент. Фильтрующий элемент 3 находится внутри отстойника 5 и поджимается пружиной 6 к корпусу фильтра через уплотнительную прокладку.
Рис. 5. Топливные фильтры:
а — неразборный; б — разборный; 1, 4 — патрубки; 2 — корпус; 3 –фильтрующий элемент; 5 – отстойник; 6 — пружина
При очистке топливо сначала поступает в отстойник, где осаждаются наиболее крупные частицы примесей, а затем очищается, проходя через сетку внутрь стакана фильтрующего элемента.
Фильтры тонкой очистки топлива обычно устанавливаются между топливным насосом и карбюратором.
Воздушный фильтр очищает воздух, поступающий в карбюратор, от пыли и других примесей. Пыль содержит мельчайшие кристаллы твердого кварца, которые, оседая на смазочные поверхности трущихся деталей двигателя, вызывают их интенсивное изнашивание.
На двигателях автомобилей применяют главным образом воздушные фильтры сухого типа со сменными бумажными или картонными фильтрующими элементами.
Характеристики
Тип файла документ
Документы такого типа открываются такими программами, как Microsoft Office Word на компьютерах Windows, Apple Pages на компьютерах Mac, Open Office - бесплатная альтернатива на различных платформах, в том числе Linux. Наиболее простым и современным решением будут Google документы, так как открываются онлайн без скачивания прямо в браузере на любой платформе. Существуют российские качественные аналоги, например от Яндекса.
Будьте внимательны на мобильных устройствах, так как там используются упрощённый функционал даже в официальном приложении от Microsoft, поэтому для просмотра скачивайте PDF-версию. А если нужно редактировать файл, то используйте оригинальный файл.
Файлы такого типа обычно разбиты на страницы, а текст может быть форматированным (жирный, курсив, выбор шрифта, таблицы и т.п.), а также в него можно добавлять изображения. Формат идеально подходит для рефератов, докладов и РПЗ курсовых проектов, которые необходимо распечатать. Кстати перед печатью также сохраняйте файл в PDF, так как принтер может начудить со шрифтами.
















