147121 (730428), страница 3
Текст из файла (страница 3)
Пусковое устройство обеспечивает приготовление богатой горючей смеси (на 1 кг бензина приходится менее 13 кг воздуха) при пуске холодного двигателя. В цилиндры двигателя горючая смесь поступает в большом количестве, чтобы даже при холодном двигателе легкие фракции бензина испарялись в количестве, необходимом для пуска двигателя.
Пусковое устройство состоит из воздушной заслонки 8 и связанного с ней пневматического элемента 1. Воздушная заслонка через шток 2 соединена с диафрагмой пневматического элемента и находится под воздействием возвратной пружины. При пуске холодного двигателя дроссельная заслонка 32 первичной камеры приоткрывается. При этом возвратная пружина, воздействуя на рычаг оси воздушной заслонки, удерживает ее в закрытом положении. Количество воздуха, поступающего в первичную камеру, уменьшается, вакуум в диффузорах возрастает, и топливо, вытекая из распылителя 9, обеспечивает образование горючей смеси. При первых вспышках и последующей работе двигателя на холостом ходу разрежение из-под дроссельной заслонки 32 передается по каналу 3 в пневматический элемент 1. Его диафрагма прогибается, и шток 2 приоткрывает воздушную заслонку, обеспечивая доступ необходимого количества воздуха, а возвратная пружина воздушной заслонки растягивается. Следовательно, при пуске холодного двигателя и его прогреве воздушная заслонка автоматически устанавливается в положение, исключающее чрезмерное обогащение или обеднение горючей смеси. По мере прогрева двигателя воздушная заслонка открывается полностью через тросовый привод рукояткой управления пусковым устройством, находящейся под панелью приборов.
Система холостого хода готовит обогащенную горючую смесь (на 1 кг бензина приходится до 13 кг воздуха). При работе двигателя на холостом ходу в цилиндры двигателя поступает обогащенная смесь в небольшом количестве, чтобы двигатель работал устойчиво.
Система холостого хода включает в себя: топливный канал, берущий начало из эмульсионного колодца первичной камеры; топливный жиклер 5; воздушный жиклер 7; эмульсионный канал; винт качества (состава) смеси 35; винт количества смеси; выходное отверстие 33. На режиме холостого хода дроссельная заслонка 32 приоткрыта. При этом переходная щель 31 системы холостого хода находится над верхней кромкой дроссельной заслонки. Воздушная заслонка открыта полностью. Под действием вакуума топливо из эмульсионного колодца через канал поступает к топливному жиклеру 5 холостого хода, где перемешивается с воздухом, поступающим через воздушный жиклер 7 холостого хода. Полученная эмульсия смешивается с воздухом, проходящим через переходную щель 31, и выходит под дроссельную заслонку 32 через отверстие 33. Щель 31, расположенная над дроссельной заслонкой, обеспечивает поступление эмульсии под дроссельную заслонку для плавного перехода двигателя с холостого хода на частичные нагрузки. При работе двигателя на холостом ходу качество смеси регулируется винтом 35, а количество — винтом количества смеси, при завертывании которого дроссельная заслонка приоткрывается. При выключении зажигания отключается электромагнитный клапан 4. Его игла под действием пружины запирает топливный жиклер 5 и исключает работу системы холостого хода при выключенном зажигании. Систему холостого хода имеет первичная камера карбюратора, а вторичная камера снабжена переходной системой.
Переходная система плавно включает в работу вторичную камеру карбюратора при небольших открытиях ее дроссельной заслонки.
Переходная система вторичной камеры включает в себя топливный жиклер 26 с трубкой, воздушный жиклер 15 и эмульсионный канал с выходными отверстиями 29. В начале открытия дроссельной заслонки 30 перед отверстиями 29 создается большой вакуум. Вследствие этого через топливный жиклер 26 поступает топливо, а через воздушный жиклер 15 — воздух. Образующаяся при этом эмульсия по каналу подводится к выходным отверстиям 29, через них поступает под дроссельную заслонку 30 и обогащает горючую смесь. В результате обеспечивается плавное включение в работу вторичной камеры карбюратора.
Ускорительный насос обогащает горючую смесь при резком переходе двигателя со средней нагрузки на полную (обгон, движение после остановки перед светофором и т.п.).
Ускорительный насос повышает приемистость двигателя, т.е. способность быстро развивать наибольшую мощность.
Ускорительный насос — диафрагменный, с механическим приводом. Топливо поступает в насос из поплавковой камеры через впускной шариковый клапан 40, При резком открытии дроссельной заслонки первичной камеры карбюратора специальный кулачок, установленный на оси заслонки, действует на рычаг 42 привода насоса, который давит на диафрагму 41. Диафрагма, преодолевая усилие возвратной пружины, прогибается и выталкивает топливо через канал, нагнетательный клапан 10 и распылитель 11 Ускорительного насоса в первичную и вторичную камеры, обогащая при этом горючую смесь. Впускной клапан ускорительного насоса в этот момент закрывается.
Эконостат служит для дополнительного обогащения горючей смеси при полной нагрузке двигателя. Эконостат представляет собой экономайзерное устройство. Эконостат включает в себя топливный жиклер 25 с трубкой, топливный канал и распылитель 13. Эконостатом оборудована вторичная камера карбюратора. Он вступает в работу при полностью открытых дроссельных заслонках и максимальной частоте вращения коленчатого вала двигателя. При этом топливо из поплавковой камеры поступает через топливный жиклер 25 и топливный канал в распылитель 13 эконостата и из него во вторичную камеру карбюратора, обогащая горючую смесь.
Экономайзер мощностных режимов исключает изменение степени обогащения горючей смеси из-за пульсации вакуума под дроссельными заслонками карбюратора. Процесс всасывания горючей смеси в цилиндры двигателя является прерывистым, и его пульсация (пульсация вакуума) возрастает при уменьшении частоты вращения коленчатого вала. При этом пульсация вакуума передается и на главную дозирующую систему, снижая ее эффективность автоматического регулирования состава горючей смеси. Экономайзер 21 мощностных режимов — диафрагменного типа. Он соединен с главной дозирующей системой первичной камеры топливным каналом, в котором установлен топливный жиклер 22 экономайзера, и через шариковый клапан 23 — с поплавковой камерой 16. Экономайзер также связан воздушным каналом с поддроссельным пространством. При незначительном открытии дроссельной заслонки 32 шариковый клапан 23 закрыт, так как диафрагма экономайзера удерживается вакуумом под дроссельной заслонкой. При значительном открытии дроссельной заслонки вакуум уменьшается, диафрагма экономайзера с иглой прогибается под действием пружины и открывает клапан 23. Топливо из поплавковой камеры проходит через открытый клапан, топливный жиклер 22 и топливный канал в эмульсионный колодец с трубкой 39. Оно добавляется к топливу, выходящему из главного топливного жиклера первичной камеры, и поступает через распылитель 9 в первичную камеру карбюратора, выравнивая состав горючей смеси.
Экономайзер принудительного холостого хода обеспечивает уменьшение расхода топлива и снижает токсичность отработавших газов на режиме принудительного холостого хода двигателя.
Экономайзер принудительного холостого хода состоит из концевого выключателя, установленного на регулировочном винте количества смеси холостого хода, электромагнитного запорного клапана 4 и электронного блока управления. На режиме принудительного холостого хода (торможение двигателем, движение под уклон, при переключении передач) дроссельные заслонки первичной и вторичной камер карбюратора закрыты, педаль управления дроссельными заслонками отпущена. В этом случае концевой выключатель карбюратора замкнут, электромагнитный клапан 4 выключается, его игла запирает топливный жиклер 5 холостого хода, и подача топлива в систему холостого хода прекращается.
Рис. 10. Впускной и выпускной трубопроводы:
1, 5 — трубопроводы; 2, 4,6,7— фланцы; 3 — трубка; 8 — шпилька
Впускной и выпускной трубопроводы обеспечивают подачу в цилиндры горючей смеси и удаление отработавших газов. Впускной трубопровод служит для равномерной подачи горючей смеси из карбюратора в цилиндры двигателя.
На двигателях автомобилей применяют впускной трубопровод, отлитый из алюминиевого сплава. Для лучшего испарения топлива, оседающего на стенках, трубопровод имеет обогреватель (рубашку), в котором циркулирует жидкость системы охлаждения двигателя. Выпускной трубопровод предназначен для отвода отработавших газов из цилиндров двигателя. На двигателях автомобилей устанавливают выпускные трубопроводы, отлитые из чугуна. Впускной трубопровод 5 двигателя (рис. 10) имеет фланцы 4 и 6. Фланец 4 предназначен для установки карбюратора, а фланец 6 — для соединения с головкой блока цилиндров.
Выпускной трубопровод 1 имеет фланцы 2 и 7 Фланец 2 служит для крепления приемной трубы глушителей, а фланец 7 — для связи с головкой блока цилиндров. Впускной и выпускной трубопроводы крепятся шпильками 8 к головке блока цилиндров через металлоасбестовые прокладки, обеспечивающие герметичность их соединения.
Глушитель уменьшает шум при выпуске отработавших газов из цилиндров двигателя. На легковых автомобилях обычно устанавливают два глушителя (основной и дополнительный), благодаря чему обеспечивается двойное расширение отработавших газов и более эффективное снижение шума их выпуска. Оба глушителя имеют одинаковое устройство и отличаются только размерами и используемыми для них материалами.
Рис. 11. Глушители:
1 — основной глушитель; 2, 3, 7, 8 — трубы; 4, 6 — перегородки; 5 — дополнительный глушитель
Все детали основного глушителя 1 (рис. 11) изготовлены из коррозионно-стойкой стали, а детали дополнительного глушителя 5 — из углеродистой стали. Глушители неразборные, сварены из двух штампованных половин. Внутри глушителей имеются трубы 3 и 7 с большим количеством отверстий, а также перегородки 4 и 6. Отработавшие газы, поступающие из приемных труб 8 в глушители, сначала в дополнительный 5, а потом в основной 1, расширяются, меняют направление и, проходя через отверстия в трубах, резко снижают свою скорость. Это приводит к уменьшению шума выпуска отработавших газов через трубу 2. Глушители позволяют снизить шум отработавших газов, выбрасываемых в окружающую среду, до 78 дБ. Потери мощности двигателя на преодоление сопротивления глушителей составляют примерно 4%. Глушители на автомобиле прикрепляются к полу кузова резиновыми деталями.
4. Система питания бензинового двигателя с впрыском топлива
В систему питания двигателя с впрыском топлива входят топливный бак, топливный насос, топливный фильтр, воздушный фильтр, форсунки, регулятор давления топлива, топливопровод двигателя, впускной и выпускной трубопроводы, топливопроводы, приемные трубы глушителя, резонаторы и глушитель.
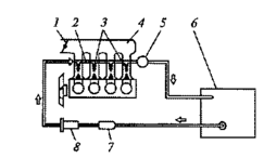
На рис. 12 представлена схема части системы питания двигателя с впрыском топлива, обеспечивающей подачу топлива и воздуха к цилиндрам и приготовление горючей смеси, необходимой для всех режимов работы двигателя.
Топливо из бака 6 через топливный фильтр 8 и топливопроводы подается насосом 7 в топливопровод 2 двигателя, который установлен на впускном трубопроводе 4 и в котором закреплены форсунки 3.
Рис. 12. Схема системы питания двигателя с впрыском топлива:
1 — заслонка; 2 — топливопровод двигателя; 3 — форсунки; 4 — впускной трубопровод; 5 — регулятор давления; 6 — бак; 7 — насос; 8 — фильтр
Во впускной трубопровод из воздушного фильтра поступает чистый воздух, количество которого регулируется воздушной дроссельной заслонкой 1. Регулятор 5 при работающем двигателе поддерживает давление топлива в топливопроводе 2 двигателя и в форсунках 3 в пределах 0,28... 0,33 МПа. При такте впуска в поток воздуха, движущийся с большой скоростью во впускном трубопроводе 4, под давлением из форсунок 3 впрыскивается мелкораспыленное топливо. Топливо смешивается с воздухом, и образующаяся горючая смесь из впускного трубопровода поступает в цилиндры двигателя в соответствии с порядком работы двигателя.
















