147121 (730428), страница 4
Текст из файла (страница 4)
Отработавшие газы отводятся из цилиндров двигателя через выпускной трубопровод, резонаторы и глушитель в окружающую среду.
Рассмотрим устройство и работу приборов системы питания двигателя с впрыском топлива.
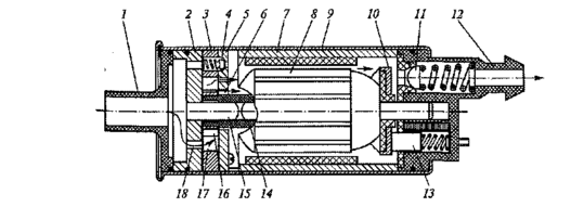
Топливный насос (рис. 13) представляет собой центробежный роликовый насос с приводом от электродвигателя, который смонтирован совместно с насосом в одном герметичном корпусе.
Центробежный роликовый насос состоит из статора 3, внутренняя поверхность которого незначительно смещена относительно оси якоря 8 электродвигателя, цилиндрического сепаратора 16, соединенного с якорем электродвигателя, и роликов 17, расположенных в сепараторе.
Сепаратор с роликами находится между основанием 2 и крышкой 5 насоса.
При работе насоса топливо поступает через штуцер 1 и канал 18 к вращающемуся сепаратору 16, переносится роликами и через выходные каналы 6 подается в полость электродвигателя и далее через клапан 11 и штуцер 12 в топливопровод, подводящий топливо к топливному фильтру.
Рис. 13. Топливный насос:
1, 12 – штуцеры; 2 — основание; 3 — статор; 4, 11 — клапаны; 5 — крышка; 6, 18 — каналы; 7, 9 — корпуса; 8 — якорь; 10 — коллектор; 13 — щетка; 14 — муфта; 15 — вал; 16 — сепаратор; 17 — ролик
Топливо, поступившее в насос, проходя через электродвигатель, охлаждает его. Обратный клапан 11 исключает слив топлива из топливопровода и образование воздушных пробок после выключения топливного насоса. Предохранительный клапан 4 ограничивает давление топлива, создаваемое насосом, при возрастании его выше допустимого — 0,45...0,6 МПа. Топливный насос включается при включении зажигания. Подача насоса составляет 130 л/ч.
Топливопровод двигателя (рис. 14) служит для подвода топлива к форсункам. Он является общим для четырех форсунок. В один конец топливопровода 4 ввернут штуцер 3 для подвода топлива от насоса, а на другом конце закреплен регулятор 5 давления топлива, связанный с ресивером и топливным баком. В топливопроводе двигателя одним концом закреплены форсунки 2, которые другим концом закреплены во впускном трубопроводе 1. Концы форсунок уплотнены резиновыми кольцами круглого сечения. Топливопровод 4 крепится двумя болтами к впускному трубопроводу.
Регулятор давления топлива (рис. 15) поддерживает давление в топливопроводе и форсунках работающего двигателя в пределах 0,28... 0,33 МПа, что необходимо для приготовления горючей смеси требуемого качества на всех режимах работы двигателя. Регулятор давления состоит из корпуса 1 и крышки 3, между которыми закреплена диафрагма 4 с клапаном 2. Внутренняя полость регулятора делится диафрагмой на две полости — вакуумную и топливную.
Рис. 14. Топливопровод двигателя:
1 — впускной трубопровод; 2 — форсунка; 3 — штуцер; 4 — топливопровод; 5 — регулятор давления
Рис. 15. Регулятор давления топлива:
а — клапан закрыт; 6 — клапан открыт; 1 — корпус; 2 — клапан; 3 — крышка; 4 — диафрагма
Вакуумная полость находится в крышке 3 регулятора и связана с ресивером, а топливная полость — в корпусе 1 регулятора и связана с топливным баком.
При закрытии воздушной дроссельной заслонки 1 (см. рис. 12) вакуум в ресивере увеличивается, клапан регулятора открывается при меньшем давлении топлива и перепускает избыточное топливо по сливному топливопроводу в топливный бак 6. При этом давление топлива в топливопроводе 2 двигателя понижается. При открытии воздушной дроссельной заслонки вакуум в ресивере уменьшается, клапан регулятора открывается уже при большем давлении топлива. В результате давление топлива в топливопроводе двигателя повышается.
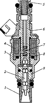
Форсунка (рис. 16) представляет собой электромагнитный клапан. Форсунка предназначена для впрыска дозированного количества топлива, необходимого для приготовления горючей смеси при различных режимах работы двигателя. Дозирование количества топлива зависит от длительности электрического импульса, поступающего в обмотку катушки электромагнита форсунки. Впрыск топлива форсункой синхронизирован с положением поршня в цилиндре двигателя.
Рис. 16. Форсунка;
1 — насадка; 2 — игла; 3, 9 — корпуса; 4 — катушка; 5 — фильтр; 6— крышка; 7— пружина; 8 — сердечник
Форсунка состоит из корпуса 3, крышки 6, катушки 4 электромагнита, сердечника 8 электромагнита, иглы 2 запорного клапана, корпуса 9 распылителя, насадки 1 распылителя и фильтра 5,
При работе двигателя топливо под давлением поступает в форсунку через фильтр 5 и проходит к запорному клапану, который находится в закрытом состоянии под действием пружины 7.
При поступлении электрического импульса в обмотку катушки 4 электромагнита возникает магнитное поле, которое притягивает сердечник 8 и вместе с ним иглу 2 запорного клапана. При этом отверстие в корпусе 9 распылителя открывается, и топливо под давлением выпрыскивается в распыленном виде.
После прекращения поступления электрического импульса в обмотку катушки электромагнита магнитное поле исчезает, и под действием пружины 7 сердечник 8 электромагнита и игла 2 запорного клапана возвращаются в исходное положение. Отверстие в корпусе 9 распылителя закрывается, и впрыск топлива из форсунки прекращается.
5. Техника безопасности
Техника безопасности при уходе за системой питания должна обязательно соблюдаться. Так, при использовании этилированного бензина необходимо быть особенно осторожным при обращении с ним, так как этот бензин очень ядовит.
При заправке топливного бака, осмотре и очистке системы питания нужно не допускать попадания бензина на кожу. Если этилированный бензин попал на кожу, ее надо обмыть чистым керосином, а руки вымыть с мылом в теплой воде и вытереть насухо.
Нельзя применять этилированный бензин для мытья деталей и рук, а также засасывать бензин через шланг ртом при переливании и продувать ртом топливопроводы.
Нельзя допускать работу двигателя в закрытом помещении, которое не оборудовано специальной вентиляцией. Это может вызвать отравление людей, находящихся в помещении, отработавшими газами.
При всех работах по уходу за системой питания необходимо обязательно соблюдать правила противопожарной безопасности.
Список использованной литературы
1. Сарбаев В.И. Техническое обслуживание и ремонт автомобилей. − Ростов н/Д: «Феникс», 2004.
2. Вахламов В.К. Техника автомобильного транспорта. − М.: «Академия», 2004.
3. Барашков И.В. Бригадная организация технического обслуживания и ремонта автомобилей. – М.: Транспорт, 1988г.
















