144702 (727748)
Текст из файла
РЕФЕРАТ
Конструктивные решения многоэтажных зданий
Выполнил студент
Вечернего отделения
4 курса, группы №6
Капустина Ю. В.
Москва, 2010г
Содержание
1. Составные элементы конструктивных систем и их назначение
2. Конструктивные системы остова многоэтажных зданий
3. Типы лестничных клеток
4. Типы лестнично-лифтовых блоков
5. Конструктивные решения фасадных систем: многослойные, вентилируемые, светопрозрачные
6. Конструктивные решения крыш
Используемая литература
1. Составные элементы конструктивных систем и их назначение
Фундаменты — подземные конструктивные элементы зданий воспринимающие все нагрузки от выше расположенных вертикальных элементов несущего остова и передающие эти нагрузки на основание.
Работа фундаментов протекает в постоянно изменяющихся условиях под воздействием больших нагрузок поэтому к их качеству предьявляют повышенные требования. Материалы из которых делают фундаменты, должны обладать высокой морозостойкостью, механической прочностью ,долговечностью и не разрушаться под агрессивным воздействием грунтовых вод. Таким качеством отвечают такие материалы, как бутобетон, бетон, железобетон. В настоящее время в конструкциях фундаментов используется в основном железобетон, который находит применение как в монолитных фундаментах так и для изготовления сборных элементов.
По характеру конструктивного решения и особенностям выполнения различают следующие типы фундаментов:
а) ленточные, состоящие из непрерывной в плане стеновой опоры под всей длиной нагруженной стены здания (рис.1}
б)столбчатые или отдельно стоящие, представляющие собой ряд отдельных опор, устанавливаемых под стойками или колоннами, а также под стенами, опертыми на фундаментные балки (рис.2)
в] свайные, устраиваемые из свай, опускаемых в грунт (рис.3)
г) сплошные илц плитные, состоящие из обшей фундаментной плиты, принимающей вес всего здания или сооружения в целом (рис.4)
Разновидностью сплошных фундаментов являются так называемые ребристые и коробчатые конструкции {рис.5)
По технологии возведения фундаменты разделяются на монолитные и сборные;
по величине заглубления — на фундаменты мелкого заложения(менее 2 м) и глубокого(более 3ч).
Рис.1
Конструкции ленточных фундаментов:
а — из сплошных стеновых фундаментных блоков
б — из пустотелых блоков
в — вариант с устройством подвала
г — монолитный фундамент
1 — фундаментная плита
2 — фундаментный блок
3 — стеновой блок подвала
4 — монолитный бетон(бутобетон)
Рис.2
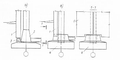
Конструкция столбчатых фундаментов
а — конструкция на фундаментной подушке
б — конструкция фундамента стаканного типа
1 — наружная цокольная панель
2 — пирамидальное основание колонны
3 — фундаментная балка
4 — фундаментный стакан
Рис.3
Конструкция свайных фундаментов
а — сопряжение сборного оголовка под одиночную сваю
б — однорядное расположение свай
в — шахматное расположение свай
г — двурядное расположение свай
д — куст свай под одиночную колонну
1 — свая
2 — сборный оголовок
3 — монолитный ж.б. ростверк
4 — ж.б.ростверк под колонну
Рис.4
Конструкция сплошных фундаментов
а — перекрестная конструкция
б, в— варианты устройства сплошной фундаментной плиты
г — коробчатая конструкция фундамента
Конструктивно-технологические решения фундаментов. ВЗ принимаются на основании оценки геотехнической опасности территории строительства и технико-экономического сравнения возможных вариантов обеспечивающих наиболее полное использование прочностных и деформационных характеристик грунтов и физико-механических свойств материалов фундаментов и подземных конструкций. Три геотехнические особенности ВЗ обуславливают следующие основные типы фундаментов для них:
– массивные плитные (предпочтительно повышенной жесткости, в т.ч. коробчатые с развитой подземной частью) на естественном или укрепленном основании.
– свайные (предпочтительно глубокие опоры);
– комбинированные, в т.ч. свайно-плитные (СПФ), плитно-анкерные, щелевые.
Подробно об этих видах фундаментов:
Плитные фундаменты. Плитные (сплошные) фундаменты проектируют в виде балочных или безбалочных, бетонных или железобетонных плит. Ребра балочных плит могут быть обращены вверх и вниз. Места пересечения ребер служат для установки колонн каркаса. Пространство между ребрами в плитах с ребрами вверх заполняют песком или гравием, а поверх устраивают бетонную подготовку. Бетонные плиты не армируют. Железобетонные армируют по расчету. При большом заглублении сплошных фундаментов и необходимости обеспечить большую их жесткость фундаментные плиты можно проектировать коробчатого сечения с размещением между ребрами и перекрытиями коробок помещений подвалов.
Показаны различные варианты решений сплошных фундаментов. (Рис.5)
Рис.5. Плитные фундаменты
а - в виде ребристой железобетонной плиты;
б - в виде плиты сплошного сечения
Свайные фундаменты. Основными элементами свайных фундаментов являются собственно сваи, оголовки и ростверки. Сваи представляют собой железобетонные, бетонные и реже деревянные или металлические стержни, погруженные в грунт ударным или вибрационным способом, ввинчиванием, или бетонируемые на месте, в заранее пробуренных скважинах.
В зависимости от способа погружения в грунт различают забивные, набивные, сваи-оболочки, буроопускные и винтовые сваи.
Забивные железобетонные и деревянные сваи погружают с помощью копров, вибропогружателей и вибровдавливающих агрегатов. Эти сваи получили наибольшее распространение в массовом строительстве. Железобетонные забивные сваи и сваи-оболочки могут иметь обычную и предварительно напряженную арматуру и изготовляться цельными и составными, из отдельных секций. В поперечном сечении они могут быть квадратные, прямоугольные, квадратные с круглой полостью и полые круглые: обычные сваи диаметром до 800 мм, а сваи-оболочки - свыше 800 мм. По продольному сечению сваи могут быть призматические и с наклонными боковыми гранями - пирамидальными, трапецеидальными и ромбовидными. Нижние концы свай могут быть заостренными или плоскими, с уширением или без него, а полые сваи - с закрытым или открытым концом и с камуфлетной пятой. В последнее время получили распространение новые конструкции свай с корневидным основанием.
На рис. 3. представлены различные виды забивных свай и свай-оболочек.
Деревянные забивные сваи устраивают там, где существуют постоянные температурно-влажностные условия. Деревянные сваи могут быть цельные или срощенные по длине; из одиночных бревен или пакетные. Их изготовляют из бревен хвойных пород, очищенных от коры и сучьев. Набивные сваи устраивают методом заполнения бетонной или иной смесью предварительно пробуренных, пробитых или выштампованных скважин. Нижняя часть скважин может быть уширена с помощью взрывов (сваи с камуфлетной пятой).
Буроопускные сваи отличает oт набивных то, что в скважину устанавливают готовые железобетонные сваи с заполнением зазора между сваей и скважиной песчано-цёментным раствором.В зависимости от свойств грунтов все сваи могут или передавать нагрузку от здания на практически несжимаемые грунты, опираясь на них своими нижними концами (так называемые сваи-стойки), или при сжимаемых грунтах передавать нагрузку на грунт боковыми поверхностями и нижним концом за счет сил трения (висячие сваи).
Для равномерного распределения нагрузки на сваи по их верхним концам непосредственно на сваи или на специально устраиваемые уширения верхних концов — оголовки укладывают распределительные балки или плиты, называемые ростверками. Железобетонные ростверки могут быть сборные и монолитные. В последнее время разработаны конструктивные решения свайных фундаментов без ростверков. Плиты перекрытия в этих случаях опирают на сборные оголовки свай. Проектирование свайных фундаментов ведут в соответствии со специальными нормами на основе результатов инженерно-геологических и гидрогеологических изысканий исходя из конструктивных особенностей и нагрузок, характерных для здания.
( 1 - СНиП П-17-77 «Свайные фундаменты. Нормы проектирования». М., 1978.)
Свайные фундаменты в плане могут состоять из одиночных свай — под опоры; лент свай — под стены здания, с расположением свай в один, два и более рядов; кустов свай—под тяжело нагруженные опоры; сплошного свайного поля — под тяжелые сооружения с равномерно распределенными по плану здания нагрузками.
Рис. 6 Свайные фундаменты
а — фрагмент плана фундамента под несущие стены; б - фундамент под колонну; в – фундамент на сваях-стойках; г – тоже на висячих сваях; д — стык сборного ростверка с забивной сваей; e - свая; 2 — ростверк; 3 — оголовок сваи; 4 — колонна; 5 — монолитный ростверк стаканного типа под колонну; 6 - арматура сваи: 7 - свая-стойка; 8 - висячая свая; 9 — монолитный ростверк; 10 – бетон замоноличивания; 11 – закладная деталь; 12 – стальная деталь; 13 – панель перекрытия; 14 – панель стены; 15 – цементный раствор
Рис.7
Гидроизоляция подземной части здания. Фундаменты подвергаются увлажнению грунтовой влагой и просачивающейся в грунт атмосферной влагой. Увлажнение фундаментоз может снизить их долговечность, вызвать отсыревание стен подвала и повысить влажность стен, наземной части здания вследствие капиллярного подсоса влаги. Для исключения капиллярного подсоса наземную часть стен (наружных и внутренних) изолируют от фундаментов горизонтальной гидроизоляцией в уровне низа цокольного перекрытия. В зданиях с подвалами предусматривается еще один ряд горизонтальной гидроизоляции в уровне пола подвала. Горизонтальная гидроизоляция устраивается обычно из двух слоев рубероида на битумной мастике. Если проектом предусмотрена совместная статическая работа наземной и подземной частей здания на горизонтальные нагрузки, гидроизоляция осуществляется из цементного раствора состава 1:2. По всей внешней поверхности фундаментов устраивается вертикальная обмазочная гидроизоляция горячим битумом за два раза. Возможность увлажнения фундамента дождевыми и талыми водами должна исключаться планировкой территории застройки и устраиваемой по внешнему периметру здания отмосткой из плотных водонепроницаемых материалов - асфальта, асфальтобетона. Отмостка имеет уклон от здания 3%.
Колонны. Стойки каркасных систем – колонны, пилоны и другие аналогичные элементы возводят с применением так называемого высокопрочного (HSC – High Strength Concrete) и высококачественного бетона (HQC – High Quality Concrete).
В современных небоскребах крайне редко можно встретить “чисто” стальные или железобетонные в традиционном понимании (с обычным процентом армирования) конструкции. Габаритные размеры колонн и количество рабочей арматуры определяются целым рядом факторов и зависят от тех конкретных требований, которые инженер предъявляет к несущей системе здания. Варьируя прочность бетона и количество продольного армирования (рис. 4), можно добиться оптимизации конструктивных решений и минимизации их стоимости без снижения надежности, что для высотных зданий весьма и весьма актуально. При недостаточной несущей способности, жесткости или продольной устойчивости стоек каркаса применяют сталебетонные колонны с внешней стальной оболочкой либо с внутренней жесткой арматурой). Такие решения позволяют также повысить и огнестойкость конструкций.
Наружные стены. Стены, в зависимости от воспринимаемых ими вертикальных нагрузок, подразделяются на несущие, самонесущие и ненесущие.
Несущей называется стена, которая помимо вертикальной нагрузки от собственного веса, воспринимает и передает фундаментам нагрузки от перекрытий, крыши, ненесущих наружных стен, перегородок в т.д.
Самонесущей называется стена, которая воспринимает и передает фундаментам вертикальную нагрузку только от собственного веса (включая нагрузку от балконов, лоджий, эркеров, парапетов и других элементов стены).
Характеристики
Тип файла документ
Документы такого типа открываются такими программами, как Microsoft Office Word на компьютерах Windows, Apple Pages на компьютерах Mac, Open Office - бесплатная альтернатива на различных платформах, в том числе Linux. Наиболее простым и современным решением будут Google документы, так как открываются онлайн без скачивания прямо в браузере на любой платформе. Существуют российские качественные аналоги, например от Яндекса.
Будьте внимательны на мобильных устройствах, так как там используются упрощённый функционал даже в официальном приложении от Microsoft, поэтому для просмотра скачивайте PDF-версию. А если нужно редактировать файл, то используйте оригинальный файл.
Файлы такого типа обычно разбиты на страницы, а текст может быть форматированным (жирный, курсив, выбор шрифта, таблицы и т.п.), а также в него можно добавлять изображения. Формат идеально подходит для рефератов, докладов и РПЗ курсовых проектов, которые необходимо распечатать. Кстати перед печатью также сохраняйте файл в PDF, так как принтер может начудить со шрифтами.
















