144702 (727748), страница 2
Текст из файла (страница 2)
Ненесущей называется стена, которая поэтажно или через несколько этажей передает вертикальную нагрузку от собственного веса на смежные конструкции (перекрытия, несущие стены, каркас). Внутренняя ненесущая стена называется перегородкой. В жилых зданиях рекомендуется, как правило, применять несущие и ненесущие стены. Самонесущие стены допускается применять в качестве утепляющих стен ризалитов, торцов здания и других элементов наружных стен. Самонесущие стены могут применяться также внутри здания в виде вентиляционных блоков, лифтовых шахт и тому подобных элементов с инженерным оборудованием.
Рис.8. Наружные стены
а - несущие; б - самонесущие; в - ненесущие
Несущие и ненесущие наружные стены могут быть применены в зданиях любой этажности. Высота самонесущих стен ограничена в целях предотвращения неблагоприятных в эксплуатационном отношении взаимных смещений самонесущих и внутренних несущих конструкций, сопровождающихся местными повреждениями отделки помещений и появлением трещин. В панельных домах, например допустимо применение самонесущих стен при высоте здания не более 4 этажей. Устойчивость самонесущих стен обеспечивают гибкие связи с внутренними конструкциями.
Несущие наружные стены применяют в зданиях различной высоты. Предельная этажность несущей стены зависит от несущей способности и деформативности её материала, конструкции, характера взаимосвязей с внутренними конструкциями, а также от экономических соображений. Так, например, применение панельных легкобетонных стен целесообразно в домах высотой до 9—12 этажей, несущих кирпичных наружных стен — в зданиях средней этажности, а стен стальной решетчатой оболочковой конструкции — в 70—100-этажных зданиях.
Внутренние стены и перегородки - основные внутренние вертикальные ограждающие конструкции в зданиях. Кроме того, внутренние вертикальные ограждающие конструкции образуют конструктивные элементы, совмещенные с инженерным оборудованием: санитарно-технические кабины, вентиляционные блоки и шахты, лифтовые шахты и пр.
Внутренние стены выполняют в здании ограждающие и несущие функции, перегородки только ограждающие. Конструкции стен и перегородок должны удовлетворять нормативным требованиям прочности, устойчивости, огнестойкости, звукоизоляции, быть паро- и газонепроницаемыми, легковозводимыми Перегородки и стены влажных помещений, кроме того, должны быть водостойкими и водонепроницаемыми.
Общая ограждающая функция внутренних стен и перегородок - обеспечение звукоизоляции от воздушного шума. В связи с этим уровень требований к звукоизоляционным качествам этих конструкций совпадает и зависит не от их статической роли в здании, а от расположения в нем. Для межквартирных и межсекционных стен и перегородок, для ограждений, отделяющих жилые комнаты от лестничных клеток и лифтовых холлов требуемый главой СНиП "Защита от шума" индекс изоляции должен составлять не менее 50 дБ, для межкомнатных - 41, для стен и перегородок, разделяющих жилые комнаты и санитарные помещения квартиры, - 45, а для ограждений между жилыми комнатами и встроенными магазинами или кафе - соответственно 55 и 60 дБ.
Для обеспечения звукоизоляции применяют акустически однородные или неоднородные конструкции. В качестве акустически однородных используют массивные однослойные ограждающие конструкции сплошного или многопустотного сечения, в качестве неоднородных- двойные стены и перегородки, стены с гибким экраном, многослойные легкие перегородки. Способ звукоизоляции выбирают исходя из целесообразного использования свойств применяемых материалов.
Ригели железобетонные - в строительстве - линейный несущий элемент (сплошной или решетчатый) в конструкциях зданий и сооружений. Соединяет стойки, колонны (ригель рамы); служит опорой прогонов, плит (ригель перекрытия, покрытия). Выполняется из железобетона.
Ригели подразделяют на типы: РДП - для опоры много пустотных плит на две его полки (двух полочный);
РДР - то же, для опоры ребристых плит;
РОП - для опоры много пустотных плит на одну его полку (одно полочный);
РЛП - то же, применяемый только в лестничных клетках;
РОР - для опоры ребристых плит на одну его полку (одно полочный);
РЛР - то же, применяемый только в лестничных клетках;
РКП - консольный для опоры много пустотных плит балконов;
Рис.9. Схема крепления ригелей.
Перекрытия — это внутренние горизонтальные ограждающие конструкции здания, членящие его по высоте на этажи. Их назначение — воспринять и передать на стены или колонны постоянные и временные нагрузки от людей, мебели и оборудования, а также изолировать помещения друг от друга и от влияния внешней среды. Эти функции и определяют их прочностные, а также тепло-, влаго-, газо- и звукоизолирующие качества. В многоэтажных жилых зданиях перекрытия служат связями — жесткими диафрагмами, способными придавать зданию повышенную устойчивость.
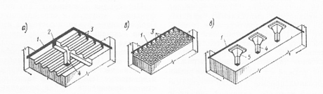
Для изготовления несущих элементов перекрытий многоэтажных зданий обычно применяются несгораемые материалы; железобетон на тяжелом и на легком заполнителях (керамзито-.шла-ко-, перлитобетонах и др.}; стальной профилированный настил, металлические балки, защищенные от непосредственного воздействия огня, и т. п. Перекрытия выполняются сборными, монолитными и сборно-монолитными.Монолитные железобетонные перекрытия изготовляют на стройке в специально изготовленной опалубке, их выполняют чаше трех видов: ребристыми, кессоннированными и безбалочными (плитными)
Рис.10. Типы междуэтажных монолитных перекрытий.
а — ребристое, 6— кессонированное, в — безбалочное 1 — плита, 2 — главная балка(ригель)
3 — второстепенная балка, 4 — колонна, 5 — капитель.
Первый состоит из плиты, второстепенных и главных балок. На рисунке балки (или ребра) направлены вниз; при необходимости получить гладкий потолок устраивают перекрытие ребрами вверх, что менее экономично, так как площадь поперечного сечения верхней сжатой зоны уменьшена. Кессонированное перекрытие получают при пересечении равномерно расположенных в двух направленииях ребер одной высоты; его применяют из эстетических соображений в интерьерах обшественных зданий, а также как средство облегчения собственной
Массы плиты при больших пролетах. Безбалочные перекрытия опираются на колонны или через капители.
Типы междуэтажных сборных перекрытий.
а—балочные; б — плитные; 1 — балки; 2 — межбалочное заполнение; 3 — плиты
Перекрытия разделяют по видам и по типу конструкций.
Расположенные над подвальными (полуподвальными) этажами — называют подвальными (полуподвальными),
расположенные над техническими подпольями — цокольными,
отделяющие верхний этаж от чердака — чердачными,
расположенные между смежными этажами — междуэтажными.
1 — опирание элементов здания; 2 — собственный вес; 3 — движение теплового потока; 4 — диффузия водяных паров; 5 — воздухопроницание; 6—ударный шум; 7 — воздушный шум; 8— эксплуатационные нагрузки; 9 — специфические воздействия
Рис. 12. Перекрытия по металлическим балкам
1 — балки; 2 — гипсобетонная плита; 3 — промазка щелей раствором или подстилка толя; 4 — усиление изоляции воздушного шума (песок); 5 — изоляция ударного шума (упругие прокладки); 6 — пол по лагам; 7 — пароизоляция; 8 — теплоизоляция; 9— стяжка; 10 — затирка; 11 — металлическая сетка; 12 — деревянный короб
Перекрытие по железобетонным балкам(используются редко)
а — с заполнением из плит; б — с заполнением из пустотелых блоков: 1 — балки; 2 — плиты; 3 — пустотелые блоки; 4 — промазка щелей раствором или подстилка толя; 5 — усиление изоляции воздушного шума (песок); 6 — изоляция ударного шума (упругие прокладки); 7 —- изоляция воздушного и ударного шумов; 8 — пол по лагам; 9 — пол по стяжке; 10 — пароизоляция; И — теплоизоляция; 12 — стяжка; 13 — затирка
Перекрытие по железобетонный плитам
а —виды несущих плит; б— конструкции перекрытий; 1 — сплошная плита (Y=400 кг/м2); 2 — круглопустотная; 3 — ребристая; 4 — типа ТТ; 5 — изоляция ударного шума; 6 — пол по стяжке; 7 — усиление изоляции воздушного шума (гипсобетонные плиты по лагам); 8 — пол; 9 — пароизоляция; 10—теплоизоляция; 11 — стяжка.
Крыша — верхняя конструкция, отделяющая помещения здания от внешней среды и защищающая их от атмосферных осадков и других внешних воздействий. Состоит из несущей части {стропил} и изолирующих (ограждающих) частей, в том числе — наружной водонепроницаемой оболочки — кровли. Крыши устраивают чердачные и бесчердачные. Чердачные (над чердаком) бывают холодными (теплозащитные функции выполняет чердачное перекрытие) и утепленными. Утепленная или как говорят, «теплая крыша устраивается при наличии и при отсутствии чердака, когда функции чердачного перекрытия и кровли совмещаются (в последнем случае применяются названия: совмещенная крыша, совмещенное покрытие, и бесчердачное перекрытие.
Основные типы покрытий с ж.б. плитами и рулонными кровлями.
а-в – невентилируемые; г, д – частично вентилируемые; е – вентилируемые; 1 – защитный слой;2 – гидроизоляционный ковер; 3 – стяжка; 4 – несущая плита; 5 – утеплитель; 6 – пароизоляция; 7 – однослойная ограждающая и несущая конструкция; 8 – каналы и борозды; 9 – воздушная прослойка; 10 – подкладки.
Покрытия со стальным профилированным настилом и с волнистыми асбестцементными листами.
а-в – применение стального профилированного настила(а,б – профили;в – утепленное покрытие)
г – покрытие с асбестцементными волнистыми листами усиленного или унифицированного профиля;
д, е – то же с применением плоских асбестцементных листов; 1 – балка покрытия;2 – настилк;
3 – рулонная пароизоляция ; 4 – утеплитель; 5 – гидроизоляция; 6 – гравий; 7 – болт; 8 –асбестцементный волнистый лист; 9 – прокладка; 10 – деревянный брус; 11 – прижимная пластина; 12 – крюк; 13 – швеллер из асбестцемента; 14 – плоский асбестцементный лист; 15 – мастика; 16 – утеплитель;17 – то же типа мин.ватных плит; 18 – нащельник; 19 – деревянный каркас панели; 20 – гернит; 21 – рейка, фиксирующая положение утеплителя.
2. Конструктивные системы остова многоэтажных зданий
Конструктивной системой здания называется совокупность взаимосвязанных конструкций здания, обеспечивающих его прочность, жесткость и устойчивость. Несущая конструкция здания обеспечивает его пространственную устойчивость и передает нагрузки, собираемые надземной частью через подземную часть на основание — способный к их восприятию грунт.
Принятая конструктивная система здания должна обеспечивать прочность, жесткость и устойчивость здания на стадии возведения и в период эксплуатации при действии всех расчетных нагрузок и воздействий.
В современном высотном строительстве применяют различные конструктивные системы и схемы с разнообразными вариантами компоновок. Вместе с тем все конструктивные системы можно разделить на три категории:
















