kursovik (722120)
Текст из файла
Министерство образования РФ
Санкт-Петербургский Государственный Университет Аэрокосмического Приборостроения (СПб ГУАП)
Кафедра «Кафедра радиотехнических систем» № 23
«Портативный радиоприёмник средних волн»
Пояснительная записка к курсовой работе по дисциплине:
“ Устройства приема и обработки сигналов ”
Работу выполнил
студент гр. 5905
Добросоцкий Антон
Александрович
С.-Петербург
2004 г.
Содержание.
| Введение | 5 | ||
| 1. | Определение основных характеристик приёмника | 6 | |
| 2. | Выбор и обоснование блок схемы | 7 | |
| 3. | Выбор и обоснование структурной схемы | 9 | |
| 3.1. | Выбор значения промежуточной частоты | 9 | |
| 3.2. | Выбор системы тракта ПЧ и преселектора | 9 | |
| 3.3. | Определение числа и типа избирательных систем преселектора | 9 | |
| 3.4. | Выбор блока переменных конденсаторов | 11 | |
| 3.5. | Выбор детектора сигнала | 13 | |
| 3.6. | Выбор активных приборов ВЧ тракта и распределение усиления по каскадам | 13 | |
| 3.7. | Оценка коэффициента передачи входного устройства | 14 | |
| 3.8. | Определение типа, параметров и числа избирательных систем, настроенных | ||
| на промежуточную частоту | 14 | ||
| 3.9. | Выбор активного прибора УРЧ и оценка коэффициента передачи УРЧ | 16 | |
| 3.10. | Выбор активного прибора и оценка коэффициента передачи преобразователя | ||
| частоты | 18 | ||
| 4. | Выбор и обоснование принципиальной электрической схемы | 21 | |
| 4.1. | Расчёт контура входной цепи | 21 | |
| 4.2. | Расчёт усилителей радиочастоты и промежуточной частоты. | 21 | |
| 4.3. | Расчёт смесительной части ПЧ | 22 | |
| 4.4. | Расчёт схемы гетеродина | 23 | |
| 4.5. | Расчёт детектора АМ сигнала | 24 | |
| 4.6. | Усилитель низкой частоты | 26 | |
| 5. | Литература | 28 | |
| 6. | Приложение 1 | 29 | |
Министерство Образования Российской Федерации.
Санкт-Петербургский Университет Аэрокосмического Приборостроения.
Факультет № 5 Кафедра № 22
ЗАДАНИЕ №___________
на курсовой проект (работу) по радиоприёмным устройствам
Тема «Портативный радиоприёмник средних волн»
Выдано студенту Добросоцкому А.А. группа № 5905
Срок выполнения декабрь 2004 г.
-
Технические условия.
-
Характеристики принимаемых сигналов.
-
1. Рабочая частота (диапазон принимаемых частот) 520…1605 кГц
2. Вид модуляции принимаемого сигнала: используется АМ
3. Параметры модуляции
4. Ширина спектра модуляции
-
Качественные характеристики приёмника.
1. Чувствительность приёмника при соотношении сигнал/шум не менее 20 дБ составляет 0,3 мВ/м
3. Схема приёмника
4. Избирательность по соседнему каналу 55 дБ
5. Избирательность по зеркальному каналу 40 дБ
6. Коэффициент прямоугольности частотной характеристики
7. Промежуточная частота 465 кГц
8. Полоса пропускания
9. Динамический диапазон входных сигналов дБ
10.Динамический диапазон выходных сигналов дБ
11. Выходное устройство
12. Выходное напряжение (мощность) 0,3 Вт.
13. Параметры выходного устройства
14. Суммарная нестабильность частоты радиолинии
15. Погрешность АПЧ
16. Тип УВЧ
17. Схема смесителя
19. Система АПЧ
20. Вид амплитудной характеристики
21. Тип автоматической регулировки усиления
22. Диапазон рабочих температур
-
Содержание проекта (работы).
1. Определение (расчёт) основных характеристик приёмника.
2. Выбор и обоснование структурной схемы приёмника.
3. Обоснование и составление функциональной схемы.
4. Выбор и технико-экономическое обоснование конкретных типов усилительных приборов.
5. Обоснование и составление принципиальной схемы.
6. Электрический расчёт элементов принципиальной схемы.
7. Определение и проверка качественных показателей приёмника (с расчётом их на ЭВМ по указанию преподавателя)
8. Разработать конструкцию основных узлов приёмника (по указанию преподавателя)
9. Рассчитать укрупнённую себестоимость приёмника.
-
Чертежи.
1. Принципиальная (функциональная) схема.
2. Конструкция ВЧ блока (блок УПЧ)
3. Общий вид приёмника.
4. Монтажная схема.
4. Рекомендуемая литература.
1. Кульский А.Л. «КВ-Приёмник мирового уровня», изд. «Наука и Техника», 2000г.
2. Екимов В.Д. «Расчёт и конструирование транзисторного радиоприёмника», изд. «Связь», 1972г.
3. Д.Дэвис, Д.Карр « Карманный справочник радиоинженера»
4. «Проектирование радиоприёмных устройств», под. ред. Сиверса А.П., Сов.Радио 1976г.
Дата выдачи «____» ___________________ 20 ___ г.
Введение.
Немного о радиовещательном диапазоне.
Средние волны.
Имеют достаточную дифракцию, чтобы обеспечивать уверенный (бестеневой) прием в среднепересеченной местности, и в условиях железобетонной многоэтажной городской застройки. В горных условиях образуют значительные теневые зоны, особенно в своей коротковолновой части. В ночное время могут распространяться на очень большие расстояния благодаря отражению в ионосфере. Днем пригодны только для местного вещания. В силу спектральной специфики промышленных помех, качество звучания на средневолновом диапазоне в городских условиях невысоко и может удовлетворять лишь разговорные радиостанции. В сельской местности качество звучания средневолновых радиостанций вполне пригодно для прослушивания музыкальных программ по первой категории качества и ограничивается лишь атмосферными помехами - летом, при грозовых разрядах прием затруднен. Дальность распространения прямой волны в дневное время (без учета ионосферного отражения) зависит от типа используемой антенны, поляризации, мощности передатчика и в среднем в два - три раза превышает дальность прямой видимости, в основном, благодаря малому уровню помех вдали от крупных городов. В ночное время происходит ослабление слышимости относительно близких радиостанций, расположенных в радиусе 100 - 200 Км, и усиление дальних радиостанций - 600 - 1500 Км. Для радиостанций, находящихся от слушателя в зоне прямой видимости (до 50 Км), ослабления приема не происходит. Зимними ночами на средневолновом диапазоне можно с очень хорошим качеством принимать дальние радиостанции.
Использование этого свойства радиоволн средневолнового диапазона позволило в США создать сеть высококачественного АМ радиовещания в дневное время, максимально уменьшив помехи от радиостанций, находящихся в других часовых поясах и работающих на тех же или близких частотах и наиболее плотно использовать частотный ресурс. Эти радиостанции так и называются - "радиостанции светлого времени". С восходом солнца в данной местности и, соответственно, с исчезновением условий ионосферного распространения, радиостанция может работать мощностью в несколько единиц или десятков киловатт обеспечивая на расстоянии в 150 - 200 Км качественное вещание. С заходом солнца, и появлением возможности создавать радиопомехи своим излучением далеко за пределами зоны прямого вещания, радиостанция снижает мощность излучения до сотен, иногда десятков ватт, обеспечивая зону радиовещания лишь в пределах своего населенного пункта. С коммерческой точки зрения это оправдано, так как наиболее эффективное рекламное время именно дневное, а вечером и ночью иногда бывает разумно вообще выключить радиопередатчик.
Антенные системы средневолнового диапазона могут выполняться относительно компактно для размещения в черте города, не имеющего высотной железобетонной застройки. Но все же желательно радиоцентры этого диапазона выносить за пределы городской черты. В средневолновом диапазоне не требуется использования столь высоких мощностей радиопередатчиков, как в длинноволновом. При грамотно спроектированных и построенных антенных системах вполне достаточно мощности 5 - 15 киловатт для обеспечения рентабельного качественного радиовещания на большой промышленный регион или на несколько близлежащих городов, насчитывающих в общей сложности более одного миллиона жителей. При меньшем количестве населения в зоне вещания средневолновой радиостанции сложно говорить о ее рентабельности. Все-таки затраты на содержание радиоцентров этого диапазона достаточно высоки.
1. Определение (расчёт) основных характеристик приёмника.
В радиовещательных приёмниках установлены следующие диапазоны частот:
- длинные волны 150 – 415 кГц;
- средние волны 520 – 1605 кГц;
- короткие волны 3,95 – 12,1 МГц.
В данной курсовой работе необходим диапазон средних волн: 520 – 1605 кГц.
1. Расчёт диапазонов и поддиапазонов приёмника.
Коэффициент диапазона характеризуется отношением высшей крайней частоты к нижней крайней частоте диапазона.
1. Найдём коэффициент диапазона: Кд = Fмах / Fmin
Кд = 1605 / 520 = 3,086.
2. Определим число необходимых поддиапазонов:
Кпд = n√Кд где n-предполагаемое число поддиапазонов.
Кпд = √Кд = √3,086 = 1,757
3. Определяем предварительное значение граничных частот поддиапазонов:
I диапазон:
F1´мин = Fмин = 520 кГц;
F1´мах = F1´мин * Кпд = 520 * 1,757 = 913,48 кГц;
II диапазон:
F2´мин = F1´мах = 913,48 кГц;
F2´мах = F2´мин * Кпд = 913,48*1,757 = 1605 кГц;
4. Необходимо, чтобы начало и конец каждого поддиапозона несколько перекрывали конец и начало соседних поддиапозонов. Для получения «запаса перекрытия» необходимо каждую наименьшую частоту поддиапазона уменьшить, а наибольшую увеличить на
2 – 3% по сравнению со значениями, полученными в п. 3:
Вводим «запас перекрытия»:
I диапозон:
F1мин = F1´мин / 1,02 = 520/1,02 = 509,8 кГц;
F1мах = F1´мах * 1,02 = 913,48 * 1,02 = 913,75 кГц;
II диапазон:
F2мин = F2´мин / 1,02 = 913,48/1,02 = 895,57 кГц;
F2мах = F2´мах * 1,02 = 1605 *1,02 = 1637,1 кГц;
5. Находим окончательное значение коэффициента поддиапазона:
Кпд = F2мах / F2min = 1637,1/895,57 = 1,83
6. Выбираем промежуточную частоту fпр = 465 кГц.
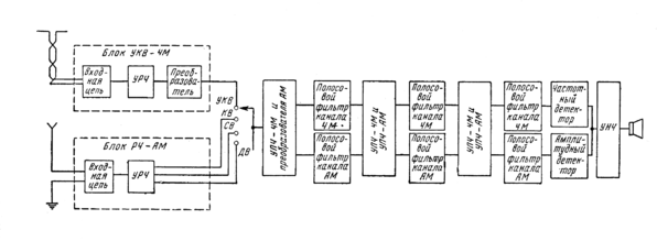
2. Выбор и обоснование блок схемы
Рисунок 1.
На рисунке 1 представлена блок схема универсального приёмника.
В состав блок схемы входят:
- Входная цепь –
Характеристики
Тип файла документ
Документы такого типа открываются такими программами, как Microsoft Office Word на компьютерах Windows, Apple Pages на компьютерах Mac, Open Office - бесплатная альтернатива на различных платформах, в том числе Linux. Наиболее простым и современным решением будут Google документы, так как открываются онлайн без скачивания прямо в браузере на любой платформе. Существуют российские качественные аналоги, например от Яндекса.
Будьте внимательны на мобильных устройствах, так как там используются упрощённый функционал даже в официальном приложении от Microsoft, поэтому для просмотра скачивайте PDF-версию. А если нужно редактировать файл, то используйте оригинальный файл.
Файлы такого типа обычно разбиты на страницы, а текст может быть форматированным (жирный, курсив, выбор шрифта, таблицы и т.п.), а также в него можно добавлять изображения. Формат идеально подходит для рефератов, докладов и РПЗ курсовых проектов, которые необходимо распечатать. Кстати перед печатью также сохраняйте файл в PDF, так как принтер может начудить со шрифтами.
















