diplom (708732), страница 4
Текст из файла (страница 4)
Прижимной вал (а в станках с верхней заправкой – и механизм продольной резки) необходимо поднять на 50-100 мм, чтобы можно было скатить рулон с несущих валов. После укладки на несущие валы картонных гильз опускается прижимной вал. Подъем и опускание прижимного вала ранее производились при помощи маховика и цепной передачи, а на современных станках – при помощи цилиндров механизма вывешивания.
2.3.4. Несущие валы
Несущие валы продольно-резательных станков представляют собой чугунные или стальные трубы (рис. 2.3.8) диаметром 400-600 мм, в зависимости от ширины станка, и длиной на 150-200 мм больше ширины бумажного полотна, поступающего на продольно-резательный станок. Для облегчения уравновешивания валов трубы
внутри растачивают. Относительный прогиб рабочей части несущих валов не должен превышать 1/10 000 - 1/12 000. Расстояние между центрами несущих валов на 10-15 мм больше диаметра вала. При таком близком расстоянии бумажные (картонные гильзы), укладываемые на несущие валы, в начале намотки не заклиниваются.
На некоторых станках установлены рифленые валы. Иногда рифленым является только первый по ходу бумаги вал. Рифы представляют собой спиральные канавки – правые на одной половине вала по длине, и левые - на другой.
Рифы увеличивают коэффициент трения между рулоном и несущими валами и уменьшают шум при работе станка, а также способствуют удалению воздуха между рулоном и несущими валами.
Следует учесть, что при сталкивании намотанного рулона с продольно-резательного станка он опирается только на передний несущий вал. Это удваивает нагрузку на вал, но эта нагрузка является статической, так как при ее воздействии вал не вращается, поэтому допускаемые напряжения изгиба могут быть повышены.
Рис. 2.3.8. Несущие валы:
1 – цилиндр; 2 – диск сварного патрона; 3 и 4 – цапфы с лицевой и приводной сторон; 5 – щиток; 6 – подшипник качения; 7 – эластичная муфта
2.3.5. Привод и потребляемая мощность
В продольно-резательных обычной (некомбинированной) намотки приводятся во вращение оба несущих вала. При скорости станков свыше 1000 м/мин привод имеет еще бумаговедущие прижимный и ножевой валы, что уменьшает напряжение в бумаге.
Во время работы станка тяговые усилия для вращения бумаговедущего и ножевого валов невелики, и если эти валы приводятся во вращение бумажным полотном, то дополнительное натяжение, возникающее в бумажном полотне, не превышает 0,0098 – 0,0196 кН/м на один валик. Кроме того, в этих условиях при переходе от заправочной к рабочей скорости в период разгона в полотне возникает добавочное динамическое натяжение.
Так как на продольно-резательном станке имеется несколько бумаговедущих валиков, суммарное динамическое натяжение может достигнуть 0,392 – 0,49 кН/м, что недопустимо. Этим и объясняется необходимость привода бумаговедущего и ножевого валов на быстроходных станках.
Для быстрого останова бумаговедущих валов при обрыве бумажного полотна на новых станках установлены механические тормоза с пневматическим управлением, расположенные внутри вала на приводной стороне.
Заправочная скорость продольно-резательных станков обычно равна 20-25 м/мин. Увеличение скорости упрощает электрическую схему привода, но затрудняет заправку. Предел регулирования рабочей скорости составляет 1:3 и 1:5. Переход с заправочной на рабочую скорость и повышение рабочей скорости должны быть плавными. В старых конструкциях от электродвигателя приводился во вращение один несущий вал, а второй – ременной передачей первого. Однако ввиду малого межцентрового расстояния условия работы ременной передачи неблагоприятны, поэтому второй несущий вал часто фактически приводился во вращение от рулона, а не от ременной передачи. Более совершенным является привод (рис. 2.3.9) при помощи
Рис. 2.3.9. Привод несущих валов от одного электродвигателя:
1 и 2 – первый и второй несущие валы; 3 – редуктор; 4 и 5 – ведущая и ведомая шестерни; 6 – электродвигатель
редуктора, приводная шестерня которого соединена одновременно с двумя зубчатыми колесами, надетыми на цапфы несущих валов.
Большая плотность намотки рулонов достигается при скорости второго по ходу бумаги несущего вала, несколько превышающей (на 1-2%) скорость первого несущего вала.
Н
а современных станках соотношения скоростей несущих валов регулируются при помощи двух электродвигателей (рис. 2.3.10), установленных по одному на каждом несущем валу.
Рис. 2.3.10. Привод несущих валов двух электродвигателей:
1 и 2 – первый и второй несущие валы; 3 – редуктор; 4 и 5 – ведущая и ведомая шестерни; 6 – электродвигатель
Мощность между электродвигателями валов в этом случае распределяется неравномерно: двигатель второго несущего вала, имеющий большую скорость, потребляет и большую мощность.
Регулирование плотности намотки изменением соотношения скоростей наиболее эффективно на станках с нижней заправкой, когда угол охвата бумагой первого по ходу бумаги несущего вала составляет соответственно 1800 и 900, ввиду отсутствия скольжения между бумагой и первым несущим валом окружная скорость рулона в этом случае будет равна окружной скорости первого несущего вала. Более высокая скорость второго по ходу бумаги несущего вала увеличит при этом плотность намотки. На станках с верхней заправкой и на станках с нижней заправкой с малым углом охвата бумагой несущего вала окружная скорость рулона будет примерно равна полусумме окружных скоростей несущих валов. Тогда окружная скорость первого несущего вала будет меньше скорости рулона, а второго несущего вала – больше нее. В этом случае разная скорость несущих валов не окажет заметного влияния на плотность намотки.
Для быстрого останова станка на современных станках применяют электродинамическое торможение электродвигателей. Для возможности остановки наматываемого рулона в определенном положении соответственно месту склейки полотна бумаги устанавливается небольшой механический тормоз на одном из несущих валов.
Во многих случаях для отделочных машин целесообразна установка гидравлических или механических вариантов (редукторов с переменным передаточным числом). Стоимость вариаторов ниже стоимости электродвигателей постоянного тока с генераторами, а коэффициент полезного действия их выше и обслуживание проще.
Длина намотанной бумаги (в метрах) учитывается счетчиком метража, соединенным с несущим валом. При обрыве бумажного полотна электромагнитная муфта выключает счетчик. Импульсом для выключения служит изменение силы тока, потребляемого электродвигателем станка.
На преодоление трения в тормозе разматываемого рулона, т. е. на создание натяжения полотна бумаги, расходуется до 60-80% всей потребляемой станком мощности. Чем больше натяжение бумаги, тем больше доля мощности, расходуемой на натяжение, так как остальная потребляемая мощность почти не зависит от натяжения бумаги.
Мощность, потребляемую продольно-резательными станками, определяют методом тяговых усилий.
2.3.6. Механизмы сталкивания и опускания рулона.
После намотки рулон необходимо столкнуть с несущих валов, опустить не пол и вытащить из него намоточный валик или деревянную скалку при бесштанговой намотке. Краном снимать рулон невозможно ввиду малого диаметра цапф намоточного валика и расположения над рулоном прижимного вала. Вместо применявшихся ранее на узких станках ручного сталкивателя рулонов на современных станках устанавливают механические или гидравлические сталкиватели.
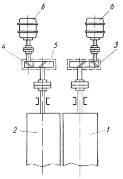
Механизм сталкивания (рис. 2.3.11) на современных станках
Рис. 2.3.11. Механизм сталкивателя рулона:
1 – несущие валы; 2 – наматываемый рулон; 3 – цилиндр; 4 – поперечный валик; 5 – поршень; 6 - шток
состоит из двух цилиндров, шарнирно закрепленных на станинах. Со штоками цилиндров связан валик. Расположенный поперек станка и упирающийся при сталкивании в рулоны бумаги.
Несколько наклонное расположение цилиндров уменьшает усилие сталкивания. Для станка шириной 4200 мм при диаметре цилиндра 100 мм необходимое давление воздуха в цилиндре не превышает 5 ати.
Наибольшее применение имеют два устройства для опускания рулонов: приемный стол и опускающиеся лапы.
Первое устройство (рис. 2.3.12) состоит из приемного стола, который поднимается штоком цилиндра. Воздух при подъеме стола
Рис. 2.3.12. Механизм опускания рулона (приемный стол поднимается штоком цилиндра):
1 – несущие валы; 2 – намотанный рулон; 3 – приемный стол; 4 – цилиндр; 5 – поршень; 6 – тяги, ограничивающие высоту подъема; 7 – выдвижная балка для перекатывания рулона.
подается во внутреннюю пустотелую часть поршня и через отверстия, имеющиеся в дне поршня, поступает в цилиндр. Опускается приемный стол под действием собственного веса и веса рулона бумаги. Воздух при этом вытесняется во внутреннюю пустотелую часть поршня, откуда по трубе выпускается через вентиль в атмосферу.
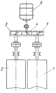
Второе устройство (рис. 2.3.13) состоит из лап, расположенных поперек станка на расстоянии 800 – 1000 мм друг от друга и закрепленных на сквозном поперечном валу. После окончания намотки лапы поднимаются, на них сталкивается рулон, затем, поворачиваясь, лапы опускают рулон на пол.
Рис. 2.3.13. Механизм опускания рулона:
1 – несущие валы; 2 – намотанный рулон; 3 – опускающиеся лапы; 4 – сквозной поперечный вал; 5 – гидравлический (пневматический) цилиндр; 6 – рулон, опущенный на пол
Сквозной вал поворачивается при помощи гидравлических (пневматических) цилиндров или от электродвигателя с червячными редукторами.
2.4. Схема и общее описание работы проектируемого станка
Для проектируемого станка выбираем следующую принципиальную схему (рис 2.4.1)
Рис. 2.4.1 Схема проектируемого продольно-резательного станка с нижней заправкой;
1- разматываемый рулон; 2 - бумаговедущий валик; 3 - механизм продольной резки; 4 - несущий вал; 5 - наматываемый рулон; 6 – прижимной вал; 7 – транспортер для заправки бумаги.
На продольно – резательном станке перематывается рулон картона, поступающий с наката картоноделательной машины. В процессе перемотки производится продольная резка на полосы стандартной ширины и намотка в рулоны требуемого диаметра.
Процесс переработки рулона на продольно – резательном станке состоит из целого ряда последовательно выполняемых операций. Рулон картона после снятия с наката картоноделательной машины, устанавливается в стойках раската. Корпуса подшипников тамбурного вала зажимаются рычагами с помощью пневмоцилиндров; тамбурный вал соединяется с генератором привода раската муфтой включения.
Разматываемое с тамбурного вала полотно картона огибает бумаговедущий вал, проходит по направляющему аппарату верхними и нижними ножами, огибает снизу несущий вал. При этом несущие валы и бумаговедущий вал работают на уровне заправочной скорости и крайние верхние ножи находятся в контакте с нижними. Резка осуществляется по принципу ножниц. Для облегчения процесса проводки бумажного полотна предусмотрен транспортер заправочной. После проводки полотна картона между несущими валами привод останавливают. На несущие валы укладывают гильзы, зажимают штоками кареток бесштанговой намотки и заправляют на них картон. Для расправления разрезаемого полотна перед несущими валами установлен расправочный вал. Необходимое линейное давление между рулоном и несущими валами в начальный период намотки создается прижимным валом. Чтобы линейное давление оставалось примерно постоянным, по мере увеличения диаметра рулона, прижимной вал вывешивается двумя пневмоцилиндрами. Для обеспечения безопасной работы на станке установлены ограждения. После заправки полотна гильзы поднимают ограждение, опускают прижимной вал, включают верхние ножи и вентилятор разрыватель. Станок включают для работы на заправочной скорости и, убедившись в нормальном ходе процесса перемотки, разгоняют до требуемого уровня рабочей скорости.
На заправочной скорости станок может работать при опущенном ограждении рулона. Переход на рабочую скорость и работа на рабочей скорости может происходить только при поднятом ограждении.
Станок по программе разгоняется, работает на заданном уровне рабочей скорости и, при достижении требуемого диаметра рулона или метража бумаги в рулоне, привод автоматически тормозится. Автоматическое управление отдельными механизмами станка осуществляется с помощью конечных выключателей, установленных на станке.
После полной остановки станка прижимной вал поднимается, разжимаются штоки кареток бесштанговой намотки, выключаются крайние верхние ножи, опускается ограждение и стол приемный. Готовые рулоны сталкиваются сталкивателем.















