diplom (708732), страница 3
Текст из файла (страница 3)
Если в период разгона станка, при переходе от заправочной к рабочей скорости, не предусмотрен принудительный привод разматываемого рулона, то в полотне бумаги возникает добавочное натяжение, которое суммируется с натяжением, создаваемым тормозным генератором.
Во избежание возникновения больших динамических натяжений при высоких скоростях станков и больших диаметрах разматываемого рулона необходимо либо увеличить длительность разгона до 90-120 секунд, либо принудительно приводить во вращение разматываемый рулон в период разгона станка.
Увеличение длительности разгона нецелесообразно. Так как при этом уменьшается производительность станка и увеличивается цикл намотки. Целесообразно, чтобы в период разгона станка тормозной генератор работал в качестве разгонного двигателя.
Для поддержания заданного натяжения бумажного полотна во время разгона и работы станка постоянным применяется в качестве датчика пружинный бумаговедущий валик, перемещение которого определяется натяжением бумаги.
2.3.2. Механизм продольной резки.
Одним из важнейших узлов станка является механизм продольной резки. Если этот механизм обеспечивает ровный и гладкий рез, то рулоны легко разделяются; кроме того, уменьшается пыление бумаги при печатании.
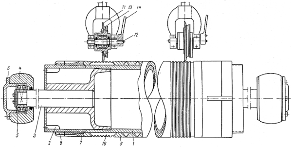
На продольно-резательных станках применяют два метода резки: по принципу ножниц и под давлением. При резке по принципу ножниц (рис. 2.3.4) бумага проходит между режущими кромками двух ножей: чашечного и дискового. Чашечные ножи насажены на вращающемся валу. На широких станках этот вал имеет дополнительную опору посередине для уменьшения его прогиба. На трубе, установленной поперек станка, имеются рычаги для укрепления осей, на которых вращаются дисковые ножи.
Рис. 2.3.4 Резка по принципу ножниц:
1 – вал нижних ножей; 2 – подшипники вала; 3 – шестерня для привода вала; 4 – нижний чашечный нож; 5 – верхний нож; 6 – эксцентричная ось дискового ножа; 7 – подшипники верхнего ножа; 8 – спиральная пружина для прижима ножа; 9 – рукоятка для выключения верхнего ножа; 10 – кронштейн верхних ножей.
Они прижимаются к чашечным ножам при помощи пружин и приводятся во вращение трением. Ножи соответственно необходимого формату (длине) рулона устанавливают с точностью до
перемещением чашечных ножей по валу и дисковых – по трубе. Число устанавливаемых ножей (4-8) зависит от заданной длины рулонов. На станках с верхней заправкой вал чашечных ножей приводится во вращение ременной или цепной передачей от прижимного вала, лежащего на рулоне, а на станках с нижней заправкой – от несущих валов или от ближайщего бумаговедущего валика. Для получения более чистого и гладкого реза скорость ножей должна быть на 10-20% выше скорости движения бумаги.
При резке по методу давления (рис. 2.3.5) бумажное полотно охватывает нижний ножевой вал, к которому верхние дисковые ножи прижимаются пружинами или пневматическим устройством.
Рис. 2.3.5. Резка давлением:
1 – труба ножевого вала; 2 – патрон; 3 – цапфа; 4 – корпус подшипника; 5 – подшипник; 6 – ножевое кольцо; 7 и 8 – гайка и контргайка ножевого вала; 9 – верхний дисковый нож; 10 – ось верхнего ножа; 11 – подшипники верхнего ножа; 12 – рычаг верхнего ножа; 13 – пружина для прижима ножа; 14 – кронштейн верхних ножей; 15 – труба для установки кронштейнов
Ножевой вал – трубчатый, на него надеты стальные закаленные кольца высокой твердости. На станках с верхней заправкой ножевой вал, одновременно являющийся и прижимным, лежит на рулоне, приводящем его во вращение. На станках с нижней заправкой ножевой вал приводится во вращение от несущего вала, иногда для привода ножевого вала устанавливают отдельный электродвигатель.
Метод резки по принципу ножниц, обеспечивающий более чистый и гладкий рез и большую износоустойчивость ножей, распространен больше, чем метод резки давлением. При резке методом давления затруднен подбор соотношения величин твердости колец и дисковых ножей. Если твердость колец выше твердости ножей, последние затупляются. При обратном соотношении величин твердости на кольцах образуются риски.
Чашечные и дисковые нож изготовляют из хромоникелевой стали, обладающей высокой износоустойчивостью. Твердость чашечных ножей по Роквеллу Rc = 58 60, дисковых Rc = 53 55. При резке бумаги без наполнителя ножи затачивают через 4 – 8 месяцев. При наличии в бумаге наполнителей срок службы ножей сокращается более чем вдвое.
Компоновка станка в значительной степени зависит от принятого метода резки. При резке по принципу ножниц бумага не может охватывать ножевой вал, на котором в отдельных местах расположены чашечные ножи. В этом случае независимо от вида заправки (верхней или нижней) необходимо, чтобы бумажное полотно при разрезании находилось в натянутом состоянии на прямом участке. Что достигается установкой двух валиков: бумаговедущего – до ножей, и прижимного – после них (на станке с верхней заправкой) или двух бумаговедущих валиков (на станке с нижней заправкой).
При резке по методу давления бумага может охватывать нижний ножевой вал, на котором по всей его длине надеты кольца. В этом случае количество бумаговедущих валиков уменьшается на один или два. Преимущества ножевого вала особенно заметны на станках с верхней заправкой, где механизм продольной резки расположен над наматываемым рулоном и перемещается кверху по мере увеличения диаметра рулона. При резке по методу ножниц бумаговедущий и прижимной валы увеличивают размеры и вес перемещающихся узлов. Ножевой вал на станках с верхней заправкой осуществляет и функцию прижимного, вследствие чего число валов уменьшается и упрощается компоновка станка.
Для использования при компоновке станка преимуществ резки по методу ножниц и ножевого вала создана конструкция ножевого вала, на кольцах которого имеется семь - восемь ножевых канавок (рис. 2.3.6) (при наличии семи-восьми ножевых канавок, используе -
Рис. 2.3.6 Ножевой вал:
1 – труба ножевого вала; 2 – патрон; 3 – цапфа; 4 – корпус подшипника; 5 – подшипник качения; 6 – крышка подшипника; 7 и 8 – затяжная гайка и контргайка ножевого вала; 9 – сплошное кольцо; 10 – разъемное ножевое кольцо; 11 – верхний дисковый нож; 12 – ось дискового ножа; 13 – спиральная пружина для прижима ножа; 14 – рукоятка для выключения верхнего ножа
мых поочередно, ножевые кольца можно шлифовать значительно реже, чем при обычных ножах). Верхний дисковый нож соприкасается с режущей поверхностью ножевой канавки. Кольца с ножевыми канавками (ножевые кольца) могут быть сплошными или разъемными. Разъемные ножевые кольца заканчиваются коническими или цилиндрическими хвостовиками, входящими в выточки сплошных колец. Всю систему разъемных ножевых и сплошных колец закрепляют на валу при помощи затяжных гаек. При изменении формата бумаги затяжные гайки отвинчивают на двойную длину хвостовика, снимают разъемные ножевые кольца, сдвигают сплошные кольца и устанавливают ножевые кольца в необходимых местах по длине вала. Однако изготовление и шлифовка разъемных ножевых колец весьма сложны. Поэтому часто их делают сплошными, а промежуточные кольца – разъемными.
На новых продольно – резательных станках сплошные ножевые кольца закрепляют при помощи шпонок, перемещающихся под давлением пневматических шлангов (рис. 2.3.7)
Ножевые кольца установлены по всей длине вала. Зазор между кольцами равен 8 – 10 мм. Так как на кольцах имеется семь – восемь ножевых канавок, то при смещении колец на величину зазора можно разрезать полотно бумаги на рулоны нужной ширины.
При разрезании пухлой бумаги малого объемного веса на станках с верхней заправкой канавки ножевого вала, опирающегося на наматываемый рулон, оставляют на бумаге отпечатки. Поэтому для такой бумаги устанавливают отдельный прижимной вал, от которого приводится во вращение ножевой вал при помощи клиноременной передачи.
Механизм продольной резки располагают как можно ближе к наматываемому рулону. Этим избегается возможное боковое смещение разрезаемых полос бумаги при их движении. При смещении полос кромки полотен бумаги нахлестываются друг на друга, что затрудняет разделение рулонов. Иногда во избежание указанного смещения полос перед наматываемым рулоном устанавливают разделители (тонкие пластинки) или сферические наконечники, которые способствуют лучшему разделению рулонов.
Рис. 2.3.7 Ножевой вал с пневматическим закреплением новых колец:
1 – цапфа; 2 – подшипники; 3 – труба вала; 4 – пневматический шланг; 5 – шпонка; 6 – сплошное ножевое кольцо; 7 – ниппель для подачи воздуха; 8 – концевые втулки
Усилие резания для бумаги весом 50 – 60 г/м2 не превышает 0,98 – 2,94 Н на один рез. Мощность, потребная для резания бумаги, очень мала и ее при расчетах пренебрегают.
Обрезанные кромки бумажного полотна удаляются специальным вентилятором, внутри которого имеется диск, разрывающий кромки. Вентилятор направляет кромки по трубопроводам в размольный агрегат.
2.3.3. Механизмы регулирования давления между рулоном и несущими валами.
Увеличение диаметра наматываемого рулона значительно повышает производительность не только продольно-резательных станков, но и машин, на которых используется ролевая бумага (например, типографская, мешочная и др.), поэтому заметна тенденция увеличения диаметра наматываемого рулона до 1500 мм и даже до 1800 мм. Однако при увеличении диаметра рулонов должны быть учтены условия их транспортировки и возможности использования таких рулонов потребителями.
Плотность намотки рулонов на продольно-резательном станке в основном определяется линейным давлением между рулоном и несущими валами. Давление между рулоном и прижимным валом оказывает меньшее влияние на плотность намотки, так как большую часть времени наматывания оно меньше, чем давление между рулоном и несущими валами. Плотность намотки рулонов на продольно-резательных станках выше, чем на накатах, ввиду большего линейного давления между рулоном и несущими валами и наличия двух несущих валов, создающих две зоны контакта между ними и рулоном.
Давление между рулоном и несущими валами при отсутствии механизма регулирования возрастает по мере увеличения диаметра рулона, хотя и в меньшей степени, чем вес рулона.
Для обеспечения необходимого линейного давления в начальный период намотки, когда вес намотанной бумаги в рулоне значителен, применяется прижимный валик.
До недавнего времени бумагу наматывали только на картонные гильзы наружным диаметром 90 – 95 мм, надетые на намоточный валик диаметром 70 мм. Намоточный валик представляет собой тонкостенную трубу с запрессованными по концам цапфами. По окончании намотки рулона намоточный валик из него вытаскивают, что является одной из тяжелых и до сих пор почти не механизированных операций. На некоторых станках механизация этой операции сводится к тому, что рулон вместе с намоточным валиком опускают на транспортер, намоточный валик одним концом прикрепляют к специальной стойке так, что транспортер, двигаясь вместе с рулоном, стаскивает его с намоточного валика. Для уменьшения усилия вытаскивания намоточного валика из рулона бумаги начали применять раздвижные трубчатые валики. Они состоят из трех-четырех секторов, опирающихся на резиновый шланг, в который для раздвижения валика подают воздух; при вытаскивании валика воздух выпускают.
На Балахнинском комбинате впервые начали применять бесштанговую намотку, значительно облегчающую условия работы на станке. В этом случае гильзы свободно надеваются на деревянную скалку, длина которой на 100-150 мм меньше общей длины рулонов. С торцов гильзы зажимаются конусами, вращающимися на подшипниках качения. Ухудшения качества намотки при бесштанговой намотке не наблюдается. В начальный период наматывания при малом давлении прижимного вала и большом натяжении бумаги были единичные случаи выбрасывания намотанного рулона. Проведенные аналитические исследования показывают, что наибольшая возможность выбрасывания рулона – на станках с верхней заправкой, так как при этой схеме горизонтальные составляющие окружных усилий со стороны несущих валов на рулон и равнодействующая натяжения бумаги действуют в одном и том же направлении. На станках с нижней заправкой эти усилия действуют в разных направлениях, что практически исключает возможность выбрасывания наматываемых рулонов.
При диаметре наматываемого рулона 1500 и 1800 мм линейное давление рулона на несущий вал от собственного веса рулона составляет 4,9 и 7,85 кН/м. Уменьшить это давление при бесштанговой намотке нельзя, так как наматываемый рулон не может быть вывешен. Даже при наличии намоточного валика усилие вывешивания не может уменьшить линейное давление больше чем на 0,98 кН/м из-за значительных напряжений изгиба, возникающих в намоточном валике.
Качество намотки рулонов большого диаметра оказывается достаточно удовлетворительным. В связи с этим надо полагать, что между плотностью намотки и линейным давлением нет прямолинейной зависимости. Вероятно, после определенного линейного давления (предположительно 2,94 - 3,92 кН/м) дальнейшее его повышение почти не увеличивает плотности намотки. Поэтому целесообразно, чтобы прижимной вал в начале намотки обеспечивал линейное давление между рулоном и несущими валами 2,94 – 3,92 кН/м. По мере увеличения диаметра рулона до 800-1000 мм прижимной валик вывешивается соответственно увеличению веса рулонов. В этом интервале диаметра наматываемого рулона линейное давление сохраняется примерно постоянным (2,94 - 3,92 кН/м). Затем при дальнейшем наматывании прижимный вал вывешивается с постоянным усилием и вследствие увеличения веса рулона линейное давление между рулоном и несущими валами возрастает до 4,9 - 7,85 кН/м.
На современных продольно-резательных станках применяются пневматические и гидравлические механизмы вывешивания прижимного вала. Так как по мере увеличения диаметра рулона усилие вывешивания должно возрастать, устанавливаются программные регуляторы давления.















