147213 (691798), страница 6
Текст из файла (страница 6)
где:
- активная и реактивная составляющие мощности i – го потребителя постоянных и технологических нагрузок релейных шкафов;
– число постоянных и технологических нагрузок установки;
- активная и реактивная составляющие мощности ПЧ на сигнальной (переездной) установке, потребляемой от линейного трансформатора;
- количество расчетных РЦ на установке;
- коэффициент усреднения мощности кодовой рельсовой цепи (
= 0,58)
Полную мощность нагрузок сигнальной (переездной) установки определяю по формуле:
При передаче электроэнергии от линейного трансформатора к оборудованию сигнальной (переездной) установки активные потери в кабеле определяю по формуле:
Полная мощность нагрузки линейного трансформатора составляет:
По полученному значению определяю мощность линейного трансформатора. Если полученное значение мощности больше мощности трансформатора, то определяю коэффициент перегрузки по формуле:
При расчете мощностей постоянных и технологических нагрузок в релейных шкафах руководствуюсь следующими предпосылками:
-
на одиночных сигнальных установках стоящих в створе паяльник и освещение одновременно в обоих шкафах не включаются;
-
на сигнальных и переездных установках, при включении в релейном шкафу освещения, обогрев шкафа выключается;
-
на переездных (с двумя шкафами) установках учитываю одновременное освещение обоих шкафов с включением одной переносной лампы и одного электропаяльника.
Тогда с учетом выше изложенного для сигнальных точек 1,6 получаем:
Pрцmax1,6 = 300Вт,
Qрцmax1,6 =706 вар,
Pnm1=160 Вт, Qnm1=37.1 вар,
= 0,58,
Pnm6=286,3 Вт, Qnm6=31.1 вар,
Pnm1,6 = Pnm1 + Pnm6 =286,3+160=446,3 Вт,
Qnm1,6 = Qnm1+Qnm6 =37.1+31.1=68,2 вар,
Pc(1,6)=446,3+300*0.58=620,3 (Вт),
Qc(1,6)=68,2+706*0.58=477,68 (вар),
S
c(1,6)= 620,3 2+477,682 =782.911 (ВА),
Pk=620,3 *0.03=18,61 (Вт)
Sом(1,6)= (620,3+18,61 ) 2+477,682 = 797.737 (ВА),
Т.к. по расчетам Sом(1,6)= 0.797кВт, то для питания сигнальных установок 1,6 выбираю трансформатор со стандартным значением мощности 1,25 кВт.
Для сигнальных точек 3,4 получаем:
Pрцmax3,4 = 535Вт,
Qрцmax3,4 =805 вар,
Pnm3=160 Вт, Qnm3=37.1 вар,
= 0,58,
Pnm4=286,3 Вт, Qnm4=31.1 вар,
Pnm3,4 = Pnm3 + Pnm4 =286,3+160=446,3 Вт,
Qnm3,4 = Qnm3+Qnm4 =37.1+31.1=68,2 вар,
Pc(3,4)=446,3+535*0.58=756,6 (Вт),
Q
c(3,4)=68,2+805*0.58=535,1 (вар),
Sc(3,4)= 756,6 2+535,12 =926,7 (ВА),
Pk=756,6 *0.03=22,7 (Вт)
Sом(3,4)= (756,6+22,7 ) 2+535,12 = 945,325 (ВА),
Т.к. по расчетам Sом(3,4)=0,945кВт, то для питания сигнальных установок 3,4 выбираю трансформатор со стандартным значением мощности 1,25 кВт.
Для 2-й сигнальной установки получаем Pрцmax2 =245 Вт,
Qрцmax2 =397 вар,
Pnm2=286,3 Вт, Qnm2=37.1 вар,
= 0,58,
Pc(2)=286,3+245*0.58=428,4(Вт),
Q
c(2)=37.1+397*0.58=267,36(вар),
Sc(2)= 428,42+267,362 = 504,9(ВА),
Pk=428,4*0.03=12,85(Вт)
Sом(2)=515,9(ВА),
Т.к. 0.516кВт не превышает значение 0.63кВт, для питания сигнальной установки 2 выбираю трансформатор со стандартным значением мощности 0,63 кВт.
Для 5-й сигнальной установки получаем Pрцmax5 =250 Вт,
Qрцmax5 =421 вар,
Pnm5=286,3 Вт, Qnm5=37.1 вар,
= 0,58,
Pc(5)=286,3+250*0.58=431,3 (Вт),
Q
c(5)=37.1+421*0.58=281,28(вар),
Sc(5)= 431,32+281,282 =514,915(ВА),
Pk=431,3*0.03=12,939(Вт)
Sом(5)=525,8 (ВА),
Т.к. 0.526кВт не превышает значение 0.63кВт, для питания сигнальной установки 5 выбираю трансформатор со стандартным значением мощности 0,63 кВт.
Расчет питающей установки переезда
Pnmпер=590 Вт, Qnmпер=84.6 вар,
Pрцmax =150 Вт Qрцmax=255 вар,
Рпер = Pnmпер+ Pрцmax=740 Вт
Q
пер = Qnmпер+ Qрцmax=339,6
Sc(пер)= 7402+339,62 = 814,2(ВА),
Pk=740*0.03=22,2(Вт),
Sом(ПЕР)=834,43(ВА),
Т.к. Sом(ПЕР)=0.834кВт, для питания переезда выбираю трансформатор со стандартным значением мощности 1,25 кВт.
13. Схемы рельсовых цепей на промежуточной станции
Схема станции представлена на рисунке 8а.
На станциях с электротягой переменного тока проектируют и строят непрерывные рельсовые цепи переменного тока частотой 25 Гц с фазочувствительными путевыми реле типа ДСШ-13. Основной схемой станционных рельсовых цепей является схема двухниточной рельсовой цепи с двумя дроссель-трансформаторами и двусторонним наложением кодовых сигналов АЛС. На питающем и релейном концах установлены дроссельтрансформаторы типа ДТ-1-150 и трансформаторы типа ПРТ-А. Трансформатор ИТ на релейном конце согласовывает сопротивления аппаратуры и рельсовой линии, а путевой трансформатор ПТ на питающем конце питает рельсовую цепь. На релейном конце параллельно путевому элементу реле П типа ДСШ-13 включен защитный блок ЗБ типа ЗБ-ДСШ представляющий собой последовательный контур, настроенный на частоту тягового тока 50 Гц, т.е. фактически этот блок выполняет роль заграждающего фильтра путевого приемника П от помех тягового тока частотой 50 Гц.
На рисунке 8 показана неразветвленная рельсовая цепь, кодируемая кодами АЛСН как с питающего, так и с релейного концов, т.к. данная рельсовая цепь устанавливается на главных путях, где предусмотрен безостановочный пропуск поездов. А именно для путей – ЧДП, НП, НДП, ЧП, IП и IIП.
Рис.8 Неразветвленная рельсовая цепь частотой 25 Гц с двумя дроссель-трансформаторами и наложением сигналов АЛС частотой 50 Гц для участков НДП, НП, ЧДП, ЧП и путей IП и IIП.
На рисунке 9 показана неразветвленная рельсовая цепь, которая кодами АЛСН не кодируется потому, что она устанавливается на боковых путях 3П, 4П, 5П и 6П, 2/18П где безостановочный пропуск поездов не предусмотрен.
Рис. 9.
Неразветвленная рельсовая цепь частотой 25Гц без наложения сигналов АЛСН частотой 25Гц для участков 5П, 3П,6П,4П,2/18П
На рисунке 10 показана разветвленная рельсовая цепь для участка 2-6СП, 3-9СП,1-13СП. Данная цепь кодируется кодами АЛСН как с питающего, так и с релейного концов, потому что она устанавливается на главных путях. Следует сказать, что на съездах путевые реле не устанавливаются.
На рисунке 11 показана разветвленная рельсовая цепь для участка 16СП. Данная цепь кодируется кодами АЛСН как с питающего, так и с релейного концов, потому что она устанавливается на главных путях. Следует сказать, что на съездах путевые реле не устанавливаются.
На рисунке 12 показана разветвленная рельсовая цепь для участка 18-20СП,14-22СП. Кодами АЛСН оборудуются только главные пути, на боковых путях устанавливаются только путевые реле потому, что по ним не предусмотрен безостановочный пропуск поездов.
Рис.10.Разветвленная рельсовая цепь переменного тока частотой 25 Гц с наложением кодовых сигналов АЛС частотой 50 Гц для участка 2-6СП, 3-9СП,1-13СП.
Рис.11 Разветвленная рельсовая цепь с одним путевым реле и наложением кодовых сигналов АЛСН по главному пути, для участка 16СП,12СП.
Рис.12. Разветвленная рельсовая цепь с двумя путевыми реле, без наложения кодовых сигналов АЛСН, для участка 18-20СП,14-22СП.
Рис.13. Разветвленная рельсовая цепь с двумя релейными концами
без наложения кодирования для стрелочных секций:15СП,11СП.
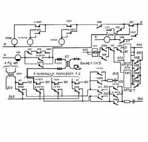
Рис.14 Схема рельсовой цепи 4-10СП.
На рисунке 13 показана разветвленная рельсовая цепь с двумя релейными концами без наложения кодирования для стрелочных секций:15СП,11СП.
На рисунке 14 показана схема рельсовой цепи 4-10СП.
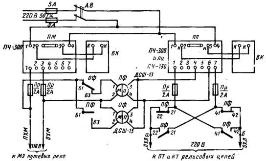
Фазирование источников питания
Схема фазирования показана на рис.15.
Особенностью питающих устройств станционных фазочувствительных РЦ переменного тока 25 Гц является использование разных преобразователей частоты для питания МЭ путевых реле и путевых и кодовых трансформаторов РЦ.
Все преобразователи частоты установленные на посту ЭЦ должны быть подключены к одной и той же фазе переменного тока 50 Гц.
В станционных фазочувствительных РЦ при электротяге переменного тока нормальная работа путевых реле обеспечивается за счет отставания выходного напряжения 25 Гц преобразователя ПП от выходного напряжения преобразователя ПМ на угол 90º, для чего преобразователи включаются в сеть переменного тока 50 Гц противофазно (рисунок 17). При таком включении преобразователей ПМ и ПП, генерируемые ими напряжения 25 Гц будут иметь фазный угол 90º или 270º, который контролируется фазочувствительными реле ПФ и, ОФ, ПЭ которых, соединены согласованно, подключены к преобразователю ПП, а МЭ, соединенные противофазно – к преобразователю ПМ. Если выходное напряжение преобразователя ПП будет отставать от напряжения преобразователя ПМ на угол 90º, то сработает реле ПФ и фронтовыми контактами замкнет цепь питания путевых и кодовых трансформаторов РЦ. Если же угол будет равен 270º, то сработает реле ОФ и фронтовыми контактами замкнет цепь питания путевых и кодовых трансформаторов РЦ от сдвинутого на 180º напряжения ПП, т.е. фазовый угол будет 90º.
Рис.15.Схема включения питающих устройств фазочувствительных рельсовых цепей 25Гц с реле ДСШ-13.
14. Схемы кодирования станционных путей и стрелочных участков
Схемы кодирования рельсовых цепей в маршруте приема четного направления показана на рисунке 16, а в маршруте четного отправления – на рисунке 17.
Рис.16. Схема кодирования р.ц. в маршруте приема на IIП.
На станции устройства АЛСН устанавливаются с целью повышения безопасности движения поездов. Это достигается тем, что машинист локомотива благодаря системе АЛСН может видеть состояние впереди стоящего светофора. Кроме того, система АЛСН позволяет исключить проезд поездом светофора с запрещающим показанием.
Рис.17 Схема кодирования р.ц. в маршруте отправления со 2-го пути.
В схеме кодирования маршрута приема применяются следующие реле:
ЧПКВ - служит для включения кодирования с питающего конца рельсовой линии участка НП в маршруте приема;
4-10СКВ и 12СКВ – служат для включения кодирования с питающего конца рельсовой линии стрелочных секций 4-10СП и 12СП, соответственно, в маршруте приема;
ЧКВ- групповое кодово-включающее реле для включения кодов АЛС в маршруте приема;
















