123262 (689409), страница 7
Текст из файла (страница 7)
Изобретение относится к области опреснения и обессоливания природных и сточных вод, в частности к обратноосмотическим и нанофильтрационным установкам. Изобретение позволяет сократить габариты секции, а также материалоемкость и трудоемкость при ее изготовлении за счет того, что в секции баромембранных модулей, состоящей из нескольких трубчатых модулей, оси которых расположены параллельно в одной плоскости, соединение модулей между собой по трактам подвода исходной воды, отвода пермеата и концентрата осуществляется через отверстия в стенках модулей, причем расстояние между осями соединяемых модулей меньше внешнего диаметра корпусов модулей в местах их соединений. При этом отдельные модули или группы модулей могут быть соединены между собой параллельно или последовательно-параллельно. При последовательном соединении модулей по тракту обрабатываемой воды тракт концентрата предыдущих модулей через отверстия в стенках их корпусов соединяется с трактом подачи обрабатываемой воды в последующие модули с одной стороны секции баромембранных модулей, а модули оснащаются стопорами, препятствующими введению баромембранных фильтрующих элементов, выполненных, например, в виде фильтрующих рулонов, в модули против направления потока обрабатываемой воды, и гарантирующими их введение только по направлению потока обрабатываемой воды. Стопор расположен в корпусе у торца модуля со стороны вывода концентрата, установлен в пазу корпуса модуля эксцентрично и выполнен поворачивающимся, причем в свободном состоянии длинное плечо стопора повернуто внутрь модуля поперек внутренней полости корпуса, а короткое плечо выполнено выступающим над внешней стороной корпуса модуля. 3 з.п. ф-лы, 5 ил.
| Статус | прекратил действие |
| (11) Номер публикации | 2077374 |
| (516) Номер редакции МПК | 6 |
| (51) Основной индекс МПК | |
| Название | МЕМБРАННЫЙ АППАРАТ НЕПРЕРЫВНОГО ДЕЙСТВИЯ |
| (56) Аналоги изобретения | Kennedy T.J. and etl. Jmprovinq permeation flux bu pulsed reverse ismosis,- Lhemical Engineering Science, 1974, v. 29, р.р.1927-1931. |
| (71) Имя заявителя | |
| (72) Имя изобретателя | |
| (72) Имя изобретателя | |
| (72) Имя изобретателя | |
| (73) Имя патентообладателя |
Изобретение относится к мембранной технике и может быть использовано в любой отрасли промышленности для разделения, концентрирования и очистки различных растворов. Мембранный аппарат непрерывного действия содержит штуцеры для подачи исходного раствора и отвода концентрата и пермеата, а также мембранные элементы, которые выполнены из пористых трубчатых каркасов с расположенными на их внутренней поверхности полупроницаемыми мембранами, установлены вертикально и объединены в блоки, верхние части которых снабжены камерами и упругими оболочками. При этом блоки мембранных элементов в нижней части соединены по два в секции, а камера одного из блоков мембранных элементов каждой секции соединена с генератором колебаний. 1 ил.
Сущность изобретения: мембранный аппарат содержит корпус, к торцам которого посредством раструбов присоединены соответственно подающий и отводящий патрубки, расположенные параллельно оси корпуса перегородки, разделяющие объем корпуса на ряд камер, трубчатые мембранные элементы, собранные в блоки посредством трубных решеток, которые установлены в опорных кольцах, закрепленных в шахматном порядке на противоположных стенках корпуса с внешней стороны, компенсационные элементы и крышки с дополнительными подводящими и отводящими патрубками, установленные на торцах опорных колец и прижатые к трубным решеткам и компенсационным элементам. 2 ил.
| (11) Номер публикации | 2066236 |
| (516) Номер редакции МПК | 6 |
| (51) Основной индекс МПК | B01D63/06 |
| (51) Основной индекс МПК | B01D29/72 |
| Название | СПОСОБ РАЗДЕЛЕНИЯ ЖИДКОСТЕЙ И УСТРОЙСТВО ДЛЯ ЕГО ОСУЩЕСТВЛЕНИЯ |
| (56) Аналоги изобретения | Авторское свидетельство СССР N 596268, B 01 D 27/12, 1974. |
| (71) Имя заявителя | Товарищество с ограниченной ответственностью "ЭФАТ" |
| (72) Имя изобретателя | Шульгин А.И. |
| (73) Имя патентообладателя | Товарищество с ограниченной ответственностью "ЭФАТ" |
Способ разделения жидкостей и устройство для его осуществления относятся к мембранной технологии очистки, концентрирования и разделения жидких сред и могут использоваться в машиностроительной, пищевой, химической, фармацевтической и других отраслях промышленности. Устройство для разделения включает два аппарата, раму, два соединенных общим валом вибровозбудителя, штоки которых снабжены двумя поршнями, размещенными, соответственно, в приемной и отводящей камерах. Способ разделения включает регенерацию цилиндрических фильтроэлементов низкочастотными акустическими колебаниями, возбуждаемыми с частотой, равной собственной частоте колебаний системы "приемная камера - полости фильтроэлементов - отводящая камера" в двух параллельных потоках с изменением угла сдвига фаз до 180o. 1
| (11) Номер публикации | 2064820 |
| (516) Номер редакции МПК | 6 |
| (51) Основной индекс МПК | B01D63/06 |
| Название | МЕМБРАННЫЙ АППАРАТ |
| (56) Аналоги изобретения | 1. Авторское свидетельство СССР N 1586758, B 01D 69/04, 1990. |
| (71) Имя заявителя | Российский научный центр "Прикладная химия" |
| (72) Имя изобретателя | Тахистов Ю.В. |
| (72) Имя изобретателя | Маркевич А.В. |
| (72) Имя изобретателя | Леонтьев В.С. |
| (72) Имя изобретателя | Бойко Н.И. |
| (72) Имя изобретателя | Боброва Л.П. |
| (73) Имя патентообладателя | Российский научный центр "Прикладная химия" |
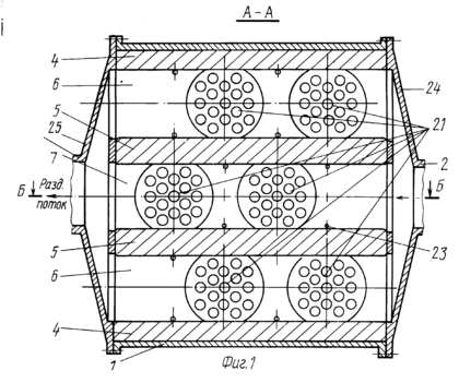
Мембранный аппарат трубчатого типа предназначен для разделения жидких и газовых сред и обеспечивает повышение надежности и упрощение эксплуатации. Мембранный аппарат состоит из цилиндрического корпуса и пучка трубчатых мембранных элементов, одни концы которых закреплены в опорной трубной решетке, а другие (заглушенные) - зафиксированы в распределительной трубной решетке, двух торцевых крышек со штуцерами для подачи разделяемой среды и отвода пермеата и уплотнительных элементов. Обе трубные решетки жестко соединены между собой опорным стержнем, воспринимающим нагрузки, воздействующие на пучок мембранных элементов при сборке (разборке) аппарата и регенерации мембранных элементов вне аппарата. Простота введения в корпус и фиксации в нем пучка мембранных элементов упрощает установку (снятие) мембранных элементов и снижает вероятность повреждения элементов, мест их закрепления в опорной трубной решетке и селективных слоев. Наличие и выполнение соответствующим образом центрального и периферийного обтекателей, а также равномерное расположение каналов для подачи разделяемого потока вокруг каждого мембранного элемента обеспечивает оптимальное распределение потока относительно всех мембранных элементов. Минимальное число уплотнительных элементов и размещение их в замке (пазу) повышает герметичность камер и полостей аппарата. 5 з.п. ф-лы, 3 ил.
| (11) Номер публикации | 1307645 |
| (516) Номер редакции МПК | 6 |
| (51) Основной индекс МПК | B01D63/06 |
| Название | МЕМБРАННЫЙ МОДУЛЬ |
| (56) Аналоги изобретения | Патент США N 3834545, кл. 210-321, 1978. Патент США N 3682318, кл. 210-321, 1972. |
| (71) Имя заявителя | Всесоюзный научно-исследовательский институт синтетических смол |
| (72) Имя изобретателя | Козлов М.П. |
| (72) Имя изобретателя | Гасанов Г.И. |
| (72) Имя изобретателя | Гуляев В.М. |
| (72) Имя изобретателя | Дубяга В.П. |
| (72) Имя изобретателя | Равенский Ю.С. |
| (72) Имя изобретателя | Кулаковский Л.Н. |
Изобретение относится к устройству для осуществления мембранных процессов разделения, может использоваться в любой отрасли промышленности и позволяет упростить конструкцию и повысить надежность работы устройства. Мембранный модуль состоит из пучка несущих дренажных трубок 1, на внутренней поверхности которых расположены полупроницаемые мембраны 2, двух трубных решеток 3 и 4, в которых закреплены трубки 1. Для закрепления концов мембраны на концах дренажных трубок 1 служат узлы 5 и 6 из слоя мембранообразующего материала, монолитно связанные с полупроницаемой мембраной. Мембранообразующий материал расположен на торце и частично на наружной поверхности трубной решетки и представляет собой либо полимер, либо другой материал, образующий динамическую мембрану.















