123262 (689409), страница 2
Текст из файла (страница 2)
| (11) Номер публикации | 97116964 |
| (516) Номер редакции МПК | 6 |
| (51) Основной индекс МПК | A23L2/10 |
| (51) Основной индекс МПК | A23C1/12 |
| (51) Основной индекс МПК | A23C1/14 |
| Название | УСТРОЙСТВО ДЛЯ КОНЦЕНТРИРОВАНИЯ ЖИДКИХ ПИЩЕВЫХ ПРОДУКТОВ |
| (71) Имя заявителя | Всероссийский научно-исследовательский институт консервной и овощесушильной промышленности |
| (72) Имя изобретателя | Квасенков О.И. |
| (72) Имя изобретателя | Гореньков Э.С. |
| (98) Адрес для переписки | 115583, Москва, ул.Генерала Белова, д.55, кв.247, Квасенкову О.И. |
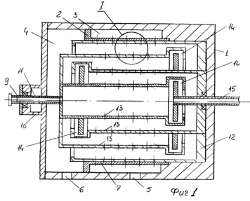
1. Устройство для концентрирования жидких пищевых продуктов, содержащее секционированный корпус, размещенный в нем на полом приводном валу перфорированный цилиндрический ротор, перфорация которого имеет вид сопел Лаваля, охватывающий ротор статор с каналами подачи газообразного теплоносителя, патрубок подачи продукта, сообщенный с полостью вала, выхлопной патрубок, сообщенный с полостью ротора, и патрубки подачи газообразного теплоносителя и отвода концентрата, сообщенные с разными секциями корпуса, отличающееся тем, что ротор снабжен по меньшей мере одной внутренней перфорированной цилиндрической обечайкой, установленной с образованием гидравлического затвора относительно одного из его торцов.
2. Устройство по п.1, отличающееся тем, что ротор снабжен несколькими обечайками, образующими гидравлические затворы относительно его торцов в шахматном порядке.
| (11) Номер публикации | 2135036 |
| (516) Номер редакции МПК | 6 |
| (51) Основной индекс МПК | A23L2/08 |
| (51) Основной индекс МПК | A23C1/12 |
| Название | АППАРАТ ДЛЯ СГУЩЕНИЯ ЖИДКИХ ПРОДУКТОВ |
| (56) Аналоги изобретения | Касьянов Г.И., Квасенков О.И., Шаззо Р.И. Консервы для детей. - Краснодар, КубГТУ, 1996, с. 185 - 186. |
| (71) Имя заявителя | Кубанский государственный технологический университет |
| (72) Имя изобретателя | Квасенков О.И. |
| (72) Имя изобретателя | Касьянова Е.Е. |
| (72) Имя изобретателя | Касьянов Г.И. |
| (73) Имя патентообладателя | Кубанский государственный технологический университет |
| (98) Адрес для переписки | 115583, Москва, ул.Генерала Белова, д.55, кв.247, Квасенкову О.И. |
Изобретение относится к консервированию пищевых продуктов. Аппарат включает корпус с выпарным патрубком и патрубком отвода концентрата, пакет тарелок, рассекатель, втулку с радиальным каналом, стержневой концентратор продольных колебаний. Тарелки выполнены в виде усеченных конусов и установлены в корпусе с образованием с его стенкой канала для стока концентрата. Рассекатель размещен под тарелками. Втулка с радиальным каналом размещена в верхней части корпуса, а ее радиальный канал сообщен с патрубком подачи продукта. Концентратор установлен во втулке заподлицо и соединен с источником ультразвука. Аппарат снабжен высоковольтным источником постоянного тока. Последний соединен одной фазой с концентратором, а второй - с пакетом тарелок и рассекателем. Изобретение позволит повысить производительность аппарата.
| (11) Номер публикации | 2001121407 |
| (516) Номер редакции МПК | 7 |
| (51) Основной индекс МПК | B01D63/00 |
| Название | МЕМБРАННАЯ УСТАНОВКА |
| (71) Имя заявителя | Скиданов Евгений Викторович |
| (72) Имя изобретателя | Скиданов Евгений Викторович |
| (98) Адрес для переписки | 410026, г.Саратов, ул. Большая Садовая, 153/163, ООО НПП "Лисскон", Е.В.Скиданову |
1. Мембранная установка, содержащая емкость разделяемого раствора, последовательно соединенные трубопроводами мембранный аппарат, разделяющий раствор на концентрат и пермеат, емкость пермеата, вакуумирующее устройство, выход которого соединен с емкостью разделяемого раствора, а также запорно-регулирующие клапаны, отличающаяся тем, что она имеет центробежный очиститель, вход которого соединен с емкостью разделяемого раствора, выполненной герметичной, а выход - с входом мембранного аппарата.
2. Установка по п.1, отличающаяся тем, что емкость пермеата выполнена секционной, каждая из которых снабжена подводами и отводами пермеата.
3. Установка по п.1, отличающаяся тем, что вакуумирующее устройство выполнено в виде вакуумного насоса.
4. Установка по п.1, отличающаяся тем, что она снабжена масляным фильтром, расположенным между вакуумирующим устройством и емкостью разделяемого раствора.
5. Установка по п.1, отличающаяся тем, что она снабжена дополнительной емкостью для промывочного раствора, вход которой соединен с выходом мембранного аппарата, предназначенным для концентрата, а выход - с входом центробежного очистителя.
6. Установка по пп.1-5 или 4, отличающаяся тем, что она снабжена компрессором, подключенным через масляный фильтр к входу мембранного аппарата или его выходу, предназначенному для пермеата.
7. Установка по п.1, отличающаяся тем, что выход мембранного аппарата, предназначенный для концентрата соединен с емкостью разделяемого раствора.
8. Установка по п.1, отличающаяся тем, что она имеет дроссельный клапан, установленный на выходе вакуумирующего устройства.
9. Установка по п.1, отличающаяся тем, что она снабжена устройством очистки пермеата от органических загрязнений, расположенным на выходе из емкости пермеата.
10. Установка по п.9, отличающаяся тем, что устройство очистки пермеата от органических загрязнений выполнено в виде угольного адсорбера.
11. Установка по пп.1-9 или 9, отличающаяся тем, что она снабжена нагнетательным насосом, ультрафиолетовым облучателем, накопительной емкостью, последовательно соединенными и образующими замкнутый контур, причем вход нагнетательного насоса соединен с выходом устройства очистки пермеата от органических загрязнений.
12. Установка по п.1 или 1-11, отличающаяся тем, что она снабжена блоком контроля, включающим манометры, установленные на входе мембранного аппарата и на выходе накопительной емкости, датчики: уровней каждой емкости, солесодержания разделяемого раствора и пермеата, счетчики расхода пермеата и концентрата на выходе из мембранного аппарата, вакууметр, установленный перед вакуумирующим устройством.
13. Установка по п.1 или 1-12, отличающаяся тем, что она снабжена блоком автоматического управления центробежным очистителем, вакуумирующим устройством, компрессором, нагнетательным насосом, ультрафиолетовым облучателем и запорно-регулирующими клапанами, причем блок автоматического управления связан с блоком контроля
| (11) Номер публикации | 2182514 |
| (516) Номер редакции МПК | 7 |
| (51) Основной индекс МПК | B01D63/00 |
| Название | АППАРАТ ДЛЯ ФИЛЬТРАЦИИ ЖИДКОСТЕЙ (ВАРИАНТЫ) |
| (56) Аналоги изобретения | RU 2063785 С1, 20.07.1996. RU 2162730 С2, 10.02.2001. US 5277807 А, 11.01.1994. US 5128037 А, 07.07.1992. DE 4447211 А1, 04.07.1996. |
| (71) Имя заявителя | Терпугов Григорий Валентинович |
| (71) Имя заявителя | Мынин Владимир Николаевич |
| (72) Имя изобретателя | Александрин А.П. |
| (72) Имя изобретателя | Комягин Е.А. |
| (72) Имя изобретателя | Мынин В.Н. |
| (72) Имя изобретателя | Терпугов Г.В. |
| (73) Имя патентообладателя | Терпугов Григорий Валентинович |
| (73) Имя патентообладателя | Мынин Владимир Николаевич |
| (98) Адрес для переписки | 129301, Москва, ул. Б. Галушкина, 17, кв.224, Г.В.Терпугову |
Изобретение относится к средствам очистки жидкостей и газов, например в сельском хозяйстве, медицинской, пищевой и микробиологической отраслях промышленности, а также может быть использовано для разделения и концентрирования технологических растворов, водоподготовки, очистки сточных вод других производств. Аппарат для фильтрации жидкостей содержит корпус, в котором соосно установлены центральная распределительная труба с рядами отверстий и набор трубчатых мембранных элементов, укрепленный в трубной решетке, крышку с патрубком, днище, кольцевую чашку для заглушки концов мембранных элементов, герметизирующие уплотнения между крышкой и трубной решеткой. Согласно изобретению днище закреплено на центральной распределительной трубе, трубная решетка и днище имеют кольцевые проточки для корпуса, верхний конец центральной распределительной трубы снабжен резьбой для крепления крышки, в крышке и трубной решетке выполнены кольцевые полости, патрубок на крышке расположен параллельно оси центральной распределительной трубы или под углом к ней, меньшем 90o, причем центральная распределительная труба имеет в центре неподвижную перегородку, а суммарное сечение отверстий в каждом ряду увеличивается от перегородки к периферии центральной распределительной трубы. Второй вариант аппарата содержит обечайку между крышкой и трубной решеткой, внутри которой размещен адсорбент между кольцевыми сетками. Технический результат - равномерное распределение жидкости или газа, повышение качества фильтрации, упрощение сборки-разборки, обеспечение замены всего набора мембранных элементов
| (11) Номер публикации | 2179061 |
| (516) Номер редакции МПК | 7 |
| (51) Основной индекс МПК | B01D63/00 |
| Название | СПОСОБ И УСТРОЙСТВО ДЛЯ МЕМБРАННОЙ ФИЛЬТРАЦИИ (ВАРИАНТЫ) |
| (56) Аналоги изобретения | RU 2153389 С1, 27.07.2000. US 4755300 А, 05.07.1988. US 4498990 А, 12.02.1985. RU 2113863 С1, 27.06.1998. RU 2164443 С1, 27.03.2001. |
| (71) Имя заявителя | Соловьев Анатолий Павлович |
| (72) Имя изобретателя | Соловьев А.П. |
| (73) Имя патентообладателя | Соловьев Анатолий Павлович |
Технический результат: фильтрация без забивания мембран во времени, а следовательно без уменьшения их производительности и без изменения их характеристик, что обеспечит их широкое применение при холодной стерилизации напитков и лекарственных средств, осветлении соков, вин и пива, плазмаферезе, концентрировании клеток, обработке сточных вод, получении чистой воды и т. д. В предложенных вариантах способа фильтрация ведется из потока раствора, перпендикулярного направлению транспорта, на жестких полупроницаемых керамических мембранах высокой пористости. Отличительной особенностью этих способов является создание условий фильтрации, при которых предотвращается образование гелевого слоя на поверхности мембраны в течение всего процесса фильтрации, для этого предлагается проводить фильтрацию в сочетании знакопеременного трансмембранного давления (ТМД) с направленными потоками фильтруемой жидкости. При положительном ТМД фильтруемая жидкость движется вдоль поверхности мембраны, а фильтрат удаляется наружу: при отрицательном ТМД часть фильтрата (не более 20%) возвращается обратно через поры мембраны и обеспечивает их очистку от застрявших частиц, при этом последующий поток фильтруемой жидкости, когда вновь создается положительное ТМД, смешивается с этими частицами и фильтрация происходит вновь на чистых мембранах. Заявлены устройства, одно из которых состоит из фильтр-поршня, который совершает возвратно-поступательное перемещение в жестком корпусе, при этом, благодаря использованию трех клапанов однонаправленного потока, двух эластичных непроницаемых мембран, двух дистанционных колец и других конструктивных особенностей. Во втором устройстве мембранный фильтр выполнен в виде жесткой конструкции, неподвижно закрепленной в корпусе. Фильтр может состоять из одного пористого полупроницаемого цилиндра или кассеты из нескольких небольшого диаметра полупроницаемых трубок. Для создания пульсирующего ТМД используется поршень мембранного типа, который совершает возвратно-поступательное перемещение благодаря использованию соленоида. Соленоид также предлагается использовать для осуществления возвратно-поступательного перемещения фильтр-поршня. Кроме того, для создания необходимого рабочего зазора вдоль поверхности мембраны при использовании жестко закрепленного мембранного фильтра в конструкции предложено использовать плавающие или неподвижные мандрены.















