123262 (689409), страница 3
Текст из файла (страница 3)
| (11) Номер публикации | 2168350 |
| (516) Номер редакции МПК | 7 |
| (51) Основной индекс МПК | B01D63/00 |
| Название | ФИЛЬТРОВАЛЬНАЯ УСТАНОВКА ДЛЯ ОЧИСТКИ ЖИДКОСТИ |
| (56) Аналоги изобретения | RU 2052278 C1, 20.01.1996. GB 2176715 A, 27.06.1985. RU 2049534 C1, 10.12.1995. RU 2046008 C1, 20.10.1995. US 5453180 A, 26.09.1995. DE 3212316 A1, 13.10.1983. |
| (71) Имя заявителя | Воложинский Лев Абрамович |
| (71) Имя заявителя | Гаврилов Лев Николаевич |
| (71) Имя заявителя | Давыдов Валерий Вартанович |
| (71) Имя заявителя | Каграманов Георгий Гайкович |
| (72) Имя изобретателя | Воложинский Л.А. |
| (72) Имя изобретателя | Гаврилов Л.Н. |
| (72) Имя изобретателя | Давыдов В.В. |
| (72) Имя изобретателя | Каграманов Г.Г. |
| (72) Имя изобретателя | Карпов М.В. |
| (73) Имя патентообладателя | Воложинский Лев Абрамович |
| (73) Имя патентообладателя | Гаврилов Лев Николаевич |
| (73) Имя патентообладателя | Давыдов Валерий Вартанович |
| (73) Имя патентообладателя | Каграманов Георгий Гайкович |
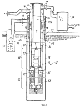
Устройство предназначено для очистки жидкости, преимущественно для очистки питьевой воды в быту. Фильтровальная установка для очистки жидкости содержит, по меньшей мере, одну ступень очистки в виде фильтрующего устройства, по меньшей мере, с одним фильтрующим элементом, средство подвода загрязненной жидкости, средство для отвода недоочищенной жидкости, средство для отвода очищенной жидкости и гидроаккумулятор, который выполнен в виде корпуса, имеющего горловину и съемную крышку, внутри которого расположена гибкая камера, а фильтрующее устройство установлено внутри камеры и герметично закреплено на съемной крышке. Установка обладает малыми массогабаритными параметрами и обеспечивает простоту обратной промывки фильтрующего устройства
| Статус | действует |
| (11) Номер публикации | 2162730 |
| (516) Номер редакции МПК | 7 |
| (51) Основной индекс МПК | B01D63/00 |
| (51) Основной индекс МПК | B01D61/00 |
| Название | МОДУЛЬНАЯ СИСТЕМА ФИЛЬТРАЦИИ |
| (56) Аналоги изобретения | US 4125463 А, 14.11.1978. US 4759850 А, 26.07.1988. US 4959237 А, 25.09.1990. US 4512886 А, 30.04.1985. US 5229005 А, 20.07.1993. US 3456802 А, 22.07.1969. US 4142966 А, 06.03.1979. SU 1238297 А, 10.07.1999. SU 1554952 А1, 07.04.1990. US 4135364 А, 23.01.1979. US 4911847 А, 27.03.1990. |
| (71) Имя заявителя | НЭЙТ Интернешнл (US) |
| (72) Имя изобретателя | |
| (72) Имя изобретателя | |
| (72) Имя изобретателя | |
| (73) Имя патентообладателя | |
| (85) Дата соответствия ст.22/39 PCT | 1999.04.05 |
| (86) Номер и дата международной или региональной заявки | US 97/15181 (28.08.1997) |
| (87) Номер и дата международной или региональной публикации | WO 98/09718 (12.03.1998) |
| (98) Адрес для переписки | 193036, Санкт-Петербург, а/я 24, "НЕВИНПАТ", Поликарпову А.В. |
Система для очистки содержащей частицы жидкости включает ряд мембран, расположенных внутри канала в мембранных блоках, выпускной трубопровод, соединяющий мембранные блоки, проход для пермеата, соединяющий мембранные блоки, первый насос, соединенный по жидкости с камерой, для транспортировки, по меньшей мере, части очищенной жидкости по направлению к выходу. Аппарат обратного осмоса для фильтрации питающей жидкости включает канал для жидкости, находящейся в различном положении под различным давлением, ряд мембран, расположенных в мембранных блоках, первый проход для транспортирования питающей жидкости, второй проход, соединяющий мембранные блоки и транспортирующий пермеат, третий проход, соединяющий мембранные блоки и транспортирующий протекающую мимо мембраны жидкость. Способ очистки питающей жидкости включает накачивание части питающей жидкости в канал, обеспечение ряда мембран в мембранных блоках и размещение этих блоков в канале в различных положениях, в которых на мембранах имеется перепад давления, омывание внешней поверхности мембраны жидкостью из канала, перенос очищенного вещества в соответствующей трубопровод, который соединяет модули, перенос промывающей жидкости в трубопровод для промывающей жидкости, который соединяет мембранные блоки. Технический результат - эффективная очистка больших количеств жидкости с использованием фильтрации под давлением.
| (11) Номер публикации | 2153389 |
| (516) Номер редакции МПК | 7 |
| (51) Основной индекс МПК | B01D63/00 |
| (51) Основной индекс МПК | B01D12/00 |
| Название | МЕМБРАННЫЙ ФИЛЬТР И СИСТЕМА ДЛЯ ПЛАЗМАФЕРЕЗА (ВАРИАНТЫ) |
| (56) Аналоги изобретения | US 4755300 A, 05.07.1988. US 4808307 A, 28.12.1989. US 4712176 A, 15.12.1987. RU 2113863 C1, 27.06.1998. RU 2033188 C1, 20.04.1995. |
| (71) Имя заявителя | Соловьев Анатолий Павлович |
| (72) Имя изобретателя | Соловьев А.П. |
| (73) Имя патентообладателя | Соловьев Анатолий Павлович |
| (98) Адрес для переписки | 123373, Москва, бул. Яна Райниса 43, кв.247, Соловьеву |
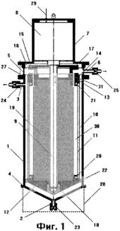
Устройство для мембранного разделения растворов содержит неподвижный пустотелый цилиндрический корпус, имеющий с одной стороны дно и снабженный штуцерами для подвода и отвода жидкости и подвижный цилиндр с полупроницаемой мембраной на цилиндрической поверхности и штуцером для отвода фильтрата. Подвижный цилиндр установлен внутри цилиндрического корпуса с зазором по цилиндрической поверхности. При этом подвижный цилиндр с мембраной выполнен в виде фильтр-поршня, имеет меньшую длину, чем корпус, и снабжен тяговым элементом для осуществления возвратно-поступательного перемещения внутри корпуса. Штуцер корпуса для подвода жидкости снабжен клапаном, пропускающим жидкость только вовнутрь корпуса и расположен со стороны дна корпуса. Кроме того, штуцер корпуса для отвода жидкости снабжен клапаном для пропускания жидкости только наружу и расположен с противоположной стороны дна корпуса, а штуцер для отвода фильтрата снабжен клапаном для пропускания жидкости только наружу. Технический результат заключается в высокоэффективном и в то же время щадящем режиме фильтрации.
| (11) Номер публикации | 2076773 |
| (516) Номер редакции МПК | 6 |
| (51) Основной индекс МПК | B01D63/00 |
| Название | МЕМБРАННЫЙ АППАРАТ |
| (56) Аналоги изобретения | Заявка ЕПВ N 0155260, кл. B 01 D 13/00, 1985. |
| (71) Имя заявителя | Российский научный центр "Прикладная химия" |
| (72) Имя изобретателя | Тахистов Ю.В. |
| (72) Имя изобретателя | Маркевич А.В. |
| (72) Имя изобретателя | Леонтьев В.С. |
| (72) Имя изобретателя | Трукшин И.Г. |
| (72) Имя изобретателя | Вишняков В.М. |
| (72) Имя изобретателя | Тимофеев С.В. |
| (72) Имя изобретателя | Боброва Л.П. |
| (73) Имя патентообладателя | Российский научный центр "Прикладная химия" |
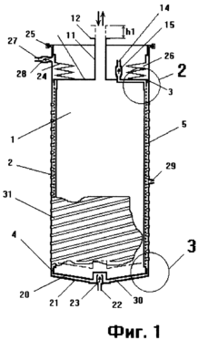
Изобретение относится к разделению газов и жидкостей. Мембранный аппарат для разделения газов и жидкостей содержит корпус, мембранные элементы, каждый из которых включает рамку, подложку и полупроницаемые мембраны, и проставки, расположенные в полостях между мембранными элементами. Аппарат снабжен раструбами для подачи и отвода разделяемой среды, трубопроводами для отвода пермеата и соединенным с ними коллектором, при этом мембранные элементы установлены параллельно потоку разделяемой среды и каждый мембранный элементы выполнен в виде модуля, содержащего две мембраны, герметично соединенные по периметру с образованием замкнутого чехла, охватывающего полость для отвода пермеата, внутри которого расположены состоящая из жестко соединенных планок рамка, фиксированные в планках опорные стержни, и подложки, размещенные на опорных стержнях, причем в одной из планок выполнена система каналов, сообщенных с одной стороны с полостью для отвода пермеата, а с другой стороны с трубопроводом, соединенным с коллектором.
| (11) Номер публикации | 2064819 |
| (516) Номер редакции МПК | 6 |
| (51) Основной индекс МПК | B01D63/00 |
| Название | МЕМБРАННЫЙ АППАРАТ ДЛЯ РАЗДЕЛЕНИЯ РАСТВОРОВ |
| (56) Аналоги изобретения | Авторское свидетельство СССР N 1680287, кл. B 01D 63/16, 1991. |
| (71) Имя заявителя | Воронежский технологический институт |
| (72) Имя изобретателя | Тройнин В.Е. |
| (72) Имя изобретателя | Щербаков В.Н. |
| (72) Имя изобретателя | Шаяхметов А.Ш. |
| (72) Имя изобретателя | Ананьева Л.Н. |
| (73) Имя патентообладателя | Воронежский технологический институт |
Изобретение может быть использовано, например, в пищевой промышленности для осветления и концентрирования соков и решает задачу повышения функциональной возможности и снижения энергозатрат. Мембранный аппарат для разделения растворов содержит корпус с патрубками подвода исходного раствора и отвода концентрата, соосно расположенную внутри корпуса полую трубу, на которой установлены мембранные элементы в виде винтового конвейера. Корпус установлен вертикально и снабжен средством для перемешивания раствора в виде барабана, установленного с возможностью вращения над верхним торцом трубы. Винтовой конвейер выполнен полым с размещенными на двух его противоположных поверхностях полупроницаемыми мембранами с различной проницаемостью. Внутреннее пространство винтового конвейера разделено непроницаемой винтообразной перегородкой на две полости, каждая из которых сообщена с патрубками отвода пермеата. При вращении барабана раствор подсасывается из полой трубы и направляется вниз по винтовому конвейеру, где происходит разделение через поверхности мембран.















