123262 (689409), страница 4
Текст из файла (страница 4)
| (11) Номер публикации | 2036703 |
| (516) Номер редакции МПК | 6 |
| (51) Основной индекс МПК | B01D63/00 |
| Название | МЕМБРАННЫЙ АППАРАТ |
| (56) Аналоги изобретения | Авторское свидетельство СССР N 1685493, кл. B 61D 61/08, 1991. |
| (71) Имя заявителя | Артемов Николай Степанович |
| (72) Имя изобретателя | Артемов Николай Степанович |
| (73) Имя патентообладателя | Артемов Николай Степанович |
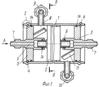
Изобретение относится к аппаратам для разделения жидких сред с помощью полупроницаемых мембран и может быть использовано в химической, пищевой и микробиологической промышленности. Мембранный аппарат содержит цилиндрический корпус 1 с размещенными в нем мембранными элементами 2, крышки 3 со штуцерами отвода пермеата 7. Закрепленные в корпусе 1 патрубки подвода раствора 10 и отвода концентрата 9 выполнены изогнутыми в противоположные стороны и установлены на боковой поверхности входной и выходной частей корпуса 1, оси патрубков 9, 10 расположены в одной вертикальной плоскости на противоположных сторонах боковой поверхности. Каждая крышка 3 снабжена патрубком 6, соединяющим штуцер отвода пермеата 7 с пермеатотводящей трубкой мембранных элементов 2, установленной под углом пластиной 11. Свободные концы патрубков подвода раствора и отвода концентрата 9 снабжены устройствами для соединения с трубопроводами с возможностью осевого перемещения.
| (11) Номер публикации | 2179062 |
| (516) Номер редакции МПК | 7 |
| (51) Основной индекс МПК | B01D63/08 |
| (51) Основной индекс МПК | B01D63/16 |
| (51) Основной индекс МПК | B01D33/15 |
| Название | МЕМБРАННЫЙ АППАРАТ ДЛЯ РАЗДЕЛЕНИЯ ЖИДКИХ СМЕСЕЙ |
| (56) Аналоги изобретения | WO 98/09720 А, 12.03.1998. RU 2 070 428 С1, 20.12.1996. EP 09 48 391 А1, 13.10.1999. JP 06-312121 А, 08.11.1994. JP 07- 155565 А, 20.06.1995. US 4025425 А, 24.05.1977. |
| (71) Имя заявителя | Трусов Лев Ильич, Пензин Роман Андреевич, |
| (71) Имя заявителя | Охрименко Е.А. Трусов Л.И. Гелис В.М. Пензин Р.А. |
| (72) Имя изобретателя | Свитцов А.А. Тарасов В.П. Трусов Лев Ильич Пензин Роман Андреевич |
Изобретение относится к устройствам для разделения жидких смесей с помощью полупроницаемых мембран и предназначено для осуществления процессов микрофильтрации, ультрафильтрации и обратного осмоса с целью очистки, концентрирования, фракционирования жидкостей, в том числе промышленных отходов в атомной энергетике, в микробиологической, пищевой, медицинской и других отраслях промышленности. Предложенный мембранный аппарат для разделения жидких смесей содержит набор вращающихся круглых мембранных элементов, каждый из которых выполнен в виде двух полупроницаемых мембран и размещенного между ними дренажного слоя с отверстием в центре и с герметизирующим слоем на периферии, центральный полый вал с перфорированными стенками, на котором закреплен набор мембранных элементов, набор неподвижных сепараторных элементов, каждый из которых выполнен в виде внутреннего и периферийного колец, соединенных радиальными перемычками, причем каждый сепараторный элемент размещен между каждыми двумя смежными мембранными элементами, а в периферийных кольцах выполнены отверстия, при осевом совмещении которых в наборе сепараторных элементов образуются каналы для размещения стягивающих шпилек, цилиндрический корпус, выполненный в виде обечайки и днища, верхнюю крышку со штуцером ввода исходной смеси, узел уплотнения центрального полого вала, узел соединения центрального вала с электродвигателем, узел вывода концентрата и узел вывода пермеата, в котором каждый мембранный элемент снабжен жесткой недеформируемой основой, размещенной в дренажном слое, центральный полый вал снабжен верхней и нижней торцевыми пробками, причем верхняя торцевая пробка размещена под верхней крышкой, радиальные перемычки сепараторного элемента выполнены в поперечном сечении в виде равнобедренной трапеции, узел соединения центрального вала с электродвигателем выполнен в виде муфты и размещен соосно с центральным валом, а узел вывода пермеата размещен в узле уплотнения центрального полого вала над нижней торцевой пробкой. Кроме того, полупроницаемые мембраны выполнены в виде двухслойных пластин, в которых нижний слой выполнен из пористого металла, например пористой нержавеющей стали, в котором размер пор не менее 1,5 мкм, толщина металлического листа не более 0,2 мкм, а верхний слой выполнен из пористой керамики, в качестве которой использованы оксиды, нитриды, карбиды, бориды металлов из группы Al, Ti, Zr, Mg или их смеси, и которая имеет поры не более 0,5 мкм, а толщину - не более 10 мкм. Изобретение позволяет создать такой мембранный аппарат для разделения жидких смесей, который при максимально возможной производительности и высоком качестве разделения обеспечит надежность работы при очистке высокотоксичных и сильнозагрязненных жидкостей, прежде всего растворов атомной промышленности, в том числе жидких радиоактивных отходов.
| Статус | прекратил действие |
| (11) Номер публикации | 2120330 |
| (516) Номер редакции МПК | 6 |
| (51) Основной индекс МПК | B01D63/16 |
| Название | УЛЬТРАФИЛЬТР |
| (56) Аналоги изобретения | Шахов С.В. Исследование и совершенствование процесса обезвоживания ферментных препаратов с использованием ультрафильтрации и сублимационной сушки. Автореферат дис. к.т.н. - Воронеж, ВГТА, 1995, с.8 - 9. RU 2064819 C1, 1996. SU 1680287 A1, 1991. SU 1650226 A1, 1991. SU 586919 A, 1978. DE 4137496 A1, 1993. DE 4308404 A1, 1993. |
| (71) Имя заявителя | Общество с ограниченной ответственностью "РЮТАР" |
| (72) Имя изобретателя | Юрьев Д.Н. |
| (72) Имя изобретателя | Квасенков О.И. |
| (72) Имя изобретателя | |
| (73) Имя патентообладателя | Общество с ограниченной ответственностью "РЮТАР" |
Изобретение предназначено для мембранного разделения жидкостей. Устройство содержит корпус с входным и выходным патрубками и установленный в корпусе на приводном валу полый спиральный ультрафильтрующий элемент, полость которого сообщена с полостью вала, а поверхность витков, обращенная к выходному патрубку, выполнена сплошной. Устройство обладает повышенной надежностью разделения жидкостного потока.
| Статус | может прекратить действие в соответствии со ст. 30 Патентного закона |
| (11) Номер публикации | 2181619 |
| (516) Номер редакции МПК | 7 |
| (51) Основной индекс МПК | B01D63/06 |
| Название | АППАРАТ ДЛЯ МЕМБРАННОГО КОНЦЕНТРИРОВАНИЯ |
| (56) Аналоги изобретения | RU 2139130 C1, 10.10.1999. RU 2142330 C1, 10.12.1999. SU 1745320 A1, 07.07.1992. SU 1502042 A1, 23.08.1989. RU 2119378 C1, 27.09.1998. WO 91/04784 A1, 18.04.1991. |
| (71) Имя заявителя | Кемеровский технологический институт пищевой промышленности |
| (72) Имя изобретателя | Лобасенко Б.А. |
| (72) Имя изобретателя | Сафонов А.А. |
| (72) Имя изобретателя | Лобасенко Р.Б. |
| (72) Имя изобретателя | Черданцева А.А. |
| (73) Имя патентообладателя | |
| (98) Адрес для переписки | 650060, г.Кемерово, Бульвар Строителей, 47, КемТИПП |
Изобретение относится к области концентрирования растворов методом ультрафильтрации, обратного осмоса и может быть использовано в пищевой, химической, фармацевтической и других отраслях промышленности. К концу трубчатой мембраны крепится устройство, представляющее собой корпус с двумя кольцевыми щелями, с внешней стороны которого присоединен кожух. Внутри корпуса находится полый шток переменной конфигурации, имеющий переднюю часть в виде конуса, за торцевой поверхностью которого выполнена цилиндрическая проточка меньшего диаметра и резьба. Полость проточки соединяется со штуцером для отвода продукта с помощью канала в корпусе. Технический результат - увеличение производительности процесса.
| Статус | действует |
| (11) Номер публикации | 2184602 |
| (516) Номер редакции МПК | 7 |
| (51) Основной индекс МПК | B01D63/06 |
| Название | МЕМБРАННЫЙ МОДУЛЬ УСТАНОВКИ ДЛЯ МЕМБРАННОГО РАЗДЕЛЕНИЯ СМЕСЕЙ, ЕГО ПРИМЕНЕНИЕ И СПОСОБ ЕГО ИЗГОТОВЛЕНИЯ |
| (56) Аналоги изобретения | US 3294504 А, 27.12.1966. US 5202023 А, 13.04.1993. RU 2045328 С1, 10.10.1995. US 4036760 А, 19.07.1977. |
| (71) Имя заявителя | БУХЕР-ГИЕР АГ (CH) |
| (72) Имя изобретателя | |
| (73) Имя патентообладателя | |
| (74) Патентный поверенный | Курышев Владимир Васильевич |
| (85) Дата соответствия ст.22/39 PCT | 1998.08.07 |
| (86) Номер и дата международной или региональной заявки | CH 97/00414 (31.10.1997) |
| (87) Номер и дата международной или региональной публикации | WO 98/19778 (14.05.1998) |
| (98) Адрес для переписки | 121087, Москва, а/я 33, В.В.Курышеву |
Изобретение относится к измерительной техники. Мембранный модуль содержит трубчатые мембраны, которые в мембранном модуле находятся в намотанном, изогнутом виде. Благодаря этому получается гораздо большая общая фильтрующая поверхность, упрощается сборка и становится возможной переработка смесей с высоким содержанием твердых веществ. Технический результат - повышение рентабельности установки.
Изобретение относится к трубчатым мембранным аппаратам для очистки жидкости, в частности очистки сточных вод промышленных предприятий, природных вод в системах водоснабжения, очистки смазочно-охлаждающих жидкостей в процессах регенерации отработанных масел и моющих растворов и для концентрирования растворов ферментов, осветления соков и т.д. Мембранный аппарат содержит корпус с патрубками для подвода исходной жидкости, отвода очищенной жидкости и концентрата и трубные решетки с закрепленными в них трубчатыми мембранными элементами. Один конец трубчатых мембранных элементов закрыт пробками из герметика и зажат опорной головкой с глухими отверстиями под каждый мембранный элемент. Другой конец мембранных элементов герметизирован с помощью двух трубных решеток, между которыми налит слой герметика, и через слой герметика зажат перфорированным опорным диском с диаметром отверстий, равным внутреннему диаметру или меньшим внутреннего диаметра трубчатых мембранных элементов. Технический результат: уменьшение металлоемкости и трудоемкости в изготовлении, обеспечение широкого диапазона температурных режимов и возможности проведения импульсной высокоскоростной промывки обратным током очищенной жидкости в течение всего срока службы без замены отдельных мембранных элементов, создание аппарата, противодействующего возникновению колебаний при высоких скоростях потока.















