123262 (689409), страница 5
Текст из файла (страница 5)
| Статус | прекратил действие, но может быть восстановлен |
| (11) Номер публикации | 2134610 |
| (516) Номер редакции МПК | 6 |
| (51) Основной индекс МПК | B01D63/06 |
| Название | МЕМБРАННЫЙ АППАРАТ |
| (56) Аналоги изобретения | RU 2023490 C1, 30.11.94. RU 2050177 C1, 20.12.95. US 5116494 A, 26.05.92. EP 0403074 A2, 19.12.90. |
| (71) Имя заявителя | Российский научный центр "Прикладная химия" |
| (72) Имя изобретателя | Тахистов Ю.В. |
| (72) Имя изобретателя | Маркевич А.В. |
| (72) Имя изобретателя | Леонтьев В.С. |
| (72) Имя изобретателя | Боброва Л.П. |
| (72) Имя изобретателя | Тимофеев С.В. |
| (73) Имя патентообладателя | Российский научный центр "Прикладная химия" |
| (98) Адрес для переписки | 197198, Санкт-Петербург, пр.Добролюбова 14, Российский научный центр "Прикладная химия", Базанову А.Г. |
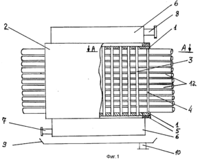
Изобретение относится к разделению жидких и газовых смесей, в частности к системам мембранного разделения. Технический результат - повышение надежности и упрощение эксплуатации. Мембранные элементы выполнены в виде мотков, надетых на опорный цилиндр, размешенный по оси корпуса, а подводящие и отводящие концы мембранных элементов через прорези и центральный канал опорного цилиндра введены в цилиндрические втулки, пропущенные через опорную плиту с образованием в них трубных решеток. При этом в одни втулки введены подводящие концы мембранных элементов, а в другие - отводящие концы этих элементов, а штуцера ввода и вывода разделяемой смеси сообщаются с соответствующими цилиндрическими втулками. Мотки мембранных элементов либо свободно уложены в корпусе на перфорированных или пористых дисках, разделяющих соседние мотки, либо размещены на бобинах, фиксируемых на опорных цилиндрах.
| Статус | прекратил действие, но может быть восстановлен |
| (11) Номер публикации | 2134609 |
| (516) Номер редакции МПК | 6 |
| (51) Основной индекс МПК | |
| Название | МЕМБРАННЫЙ АППАРАТ |
| (56) Аналоги изобретения | RU 2023490 C1, 30.11.94. RU 2046644 C1, 27.10.95. US 5116494 A, 26.05.92. EP 0403074 A2, 19.12.90. |
| (71) Имя заявителя | |
| (72) Имя изобретателя | |
| (72) Имя изобретателя | |
| (72) Имя изобретателя | |
| (72) Имя изобретателя | |
| (72) Имя изобретателя | |
| (73) Имя патентообладателя | |
| (98) Адрес для переписки | 197198, Санкт-Петербург, пр.Добролюбова 14, Российский научный центр "Прикладная химия" Базанову А.Г. |
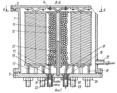
Изобретение относится к области разделения жидких и газовых смесей, в частности к системам мембранного разделения. Технический результат: повышение надежности и упрощение эксплуатации. Мембранные элементы выполнены в виде гибких полупроницаемых волокон или капилляров, намотанных на бобины, которые размещены в корпусе в шахматном порядке параллельно друг другу. Бобины с одной стороны установлены на фиксаторах, жестко соединенных с опорной плитой, а с другой взаимодействуют с центрующими элементами, размещенными на крышке. При этом через опорную плиту пропущены цилиндрические втулки, в которые вклеены с образованием трубных решеток подводящие и отводящие концы мембранных элементов.
Изобретение относится к мембранной технике и может использоваться в любой отрасли промышленности для разделения жидких смесей. Цель изобретения - интенсификация процесса мембранного разделения жидких смесей путем снижения концентрационной поляризации. Это достигается благодаря тому, что в мембранном аппарате, состоящем из последовательно состыкованных модулей с трубчатыми металлическими мембранами, между модулями установлены перфорированные пластины, которые имеют отверстия с отогнутыми кромками, образующими лепестки со скошенными краями, загнутыми в винтовую линию. Перфорированные пластины расположены между модулями в чередующем порядке с одиночными прокладками, диаметр отверстий у которых больше диаметра отверстия трубчатой мембраны, при этом в прокладках имеются каналы для перетока жидкости из одной трубки в другую. Крышки аппарата снабжены перегородками, делящими внутренний объем крышки на части, концы перегородок входят в пазы, находящиеся в трубных досках. Подвергаемая разделению жидкость под избыточным давлением поступает в аппарат. При входе в металлическую пористую трубку часть жидкостного потока, примыкающая к внутренней поверхности трубки, испытывает воздействие лепестков со скошенными краями, загнутыми в винтовую линию, приобретает вращательное движение, интенсивно омывает внутреннюю поверхность трубки. Далее поток проходит последовательно через модули и выводится из аппарата. Часть жидкости проникает через пористые металлические мембраны и попадает во внутреннюю часть корпуса аппарата, стекает вниз и выводится через патрубок. Изобретение позволяет повысить интенсивность процесса мембранного разделения за счет постоянной очистки внутренней поверхности мембраны.
Изобретение относится к устройствам для осуществления баромембранных процессов и может быть использовано в любой отрасли промышленности и сельского хозяйства, где происходит разделение жидких сред. Цель изобретения - увеличение производительности аппарата путем периодической очистки внутренней поверхности трубчатых мембран. Аппарат состоит из трубных решеток, с закрепленными между ними трубчатыми мембранами, крышек с патрубками подвода и отвода жидкости, сборника фильтрата, боковых стенок и пакетов, расположенных между рядами трубчатых мембран и боковыми стенками. Пакеты имеют полости, разделенные между собой и размещенные горизонтальными рядами. Периодически в четные и нечетные ряды полостей нагнетают воздух, полости охватывают трубчатые мембраны, в результате происходит смыв с внутренней поверхности мембран слоя отложений.
Изобретение относится к устройствам для осуществления мембранных процессов и может быть использовано в любой отрасли промышленности и сельского хозяйства, где производится разделение жидких сред. Цель изобретения - повышение эффективной работы аппарата за счет снижения концентрационной поляризации. Это достигается благодаря тому, что в мембранном аппарате, состоящем из корпуса, фланцев с патрубками подвода и отвода жидкости и трубчатых мембран с направляющими вставками на опорах, направляющие вставки выполнены в виде выпуклых лопаток различной длины с округлыми краями и отогнутых под углом 10°- 40°, причем лопатки укреплены на пластинах, повернутых вдоль радиальной оси. Под действием направляющих вставок часть жидкости в трубчатой мембране совершает вращательно-поступательные движения, активно смывая с внутренней поверхности мембран отложения и разрушая слой с концентрационной поляризацией.















