123262 (689409), страница 6
Текст из файла (страница 6)
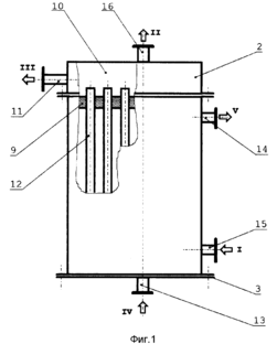
Изобретение относится к устройствам для осуществления мембранных процессов методом испарения через мембрану и может быть использовано в любой отрасли промышленности, где производится разделение жидких сред. Цель изобретения - интенсификация процесса разделения смеси путем подвода теплоты в зону массообмена. Мембранный аппарат состоит из корпуса, в котором расположены закрепленные в S-образной распорке гофрированные перегородки, свернутые в спираль и образующие две спиральные камеры для противоточного движения разделяемой смеси и горячего теплоносителя. В первой камере располагаются мембраны из полого волокна, открытые концы которых выходят в камеру для сбора пермеата. Подлежащая разделению нагретая смесь протекает по спиральной камере, дополнительно подогреваясь по всей ее длине горячим теплоносителем, и разделяется на мембране. Легкопроницающий компонент по внутреннему каналу полого волокна отводится в сборник пермеата и удаляется. Концентрат отводится из спиральной камеры через соответствующий патрубок. Конструкция аппарата позволяет одновременно выделять из смеси несколько компонентов, используя в одном модуле мембраны различных типов и несколько сборников пермеата для отдельных компонентов.
| Статус | может прекратить действие в соответствии со ст. 30 Патентного закона |
| (11) Номер публикации | 2113891 |
| (516) Номер редакции МПК | 6 |
| (51) Основной индекс МПК | B01D63/06 |
| Название | МЕМБРАННЫЙ АППАРАТ |
| (56) Аналоги изобретения | Дубяга В.П., Перепечкин Л.П., Каталевский Е.Е. Полимерные мембраны. - М.: Химия, 1981, с. 159, рис. 5.1 б. |
| (71) Имя заявителя | Московская государственная академия химического машиностроения |
| (72) Имя изобретателя | Муштаев В.И. |
| (72) Имя изобретателя | Трифонов С.А. |
| (72) Имя изобретателя | Пахомов А.А. |
| (72) Имя изобретателя | Палеев Д.Л. |
| (72) Имя изобретателя | Колпаков В.А. |
| (72) Имя изобретателя | Тырин Н.В. |
| (73) Имя патентообладателя | Московская государственная академия химического машиностроения |
Изобретение может быть использовано в пищевой, химической и химико-фармацевтической промышленности и позволяет повысить эффективность работы мембранного аппарата путем предварительной очистки жидкости. Это достигается тем, что в корпусе аппарата размещен трубчатый мембранный модуль и адсорбционный стакан с фильтрующими материалами. В корпусе имеются патрубки для подсоединения к источнику воды отбора очищенной воды. Дополнительно в трубчатые металлические мембраны могут быть установлены перфорированные трубки и пакет с адсорбентом. 1 с. и 2 з.п.ф-лы, 2 ил.
| (11) Номер публикации | 2093252 |
| (516) Номер редакции МПК | 6 |
| (51) Основной индекс МПК | |
| Название | МЕМБРАННЫЙ АППАРАТ (ВАРИАНТЫ) |
| (56) Аналоги изобретения | Авторское свидетельство СССР N 799779, кл. B 01 D 63/06, 1981. |
| (71) Имя заявителя | |
| (71) Имя заявителя | |
| (72) Имя изобретателя | |
| (72) Имя изобретателя | |
| (73) Имя патентообладателя | |
| (73) Имя патентообладателя |
Сущность изобретения: в мембранном аппарате, содержащем трубчатые мембранные элементы, торцевые крышки с подводящим и отводящим патрубками, по первому варианту трубчатые мембранные элементы собраны в установленные один на другом модули посредством прямоугольных рам, на двух противоположных сторонах которых выполнены отверстия для герметичного крепления торцов мембранных элементов и перпендикулярные им соосные отверстия для образования сборных и распределительных каналов. По второму варианту - сборные и распределительные каналы образованы путем выполнения в рамках щелевидных прорезей.
Мембранный аппарат предназначен для микро-, ультрафильтрации и концентрирования жидких сред и может использоваться в медико-биологической, химико-фармацевтической и пищевой промышленности. Содержит собранные в пакет полупроницаемые мембраны и дренажные пластины с прорезями. Эти каналы соединены со сквозными отверстиями, в которых установлены уплотняющие кольца с отверстиями на боковой поверхности для перетока жидкости. Дренажные пластины изготовлены из металла, предел текучести которого меньше предела текучести материала мембран. Кольца для перетока жидкости изготовлены из материала, предел текучести которого больше, чем предел текучести материала дренажной пластины, а торцы колец покрыты слоем материала, из которого изготовлена дренажная пластина. Такая конструкция обеспечивает герметичность уплотнения тонких пленочных мембран, например, трековых. 3 ил.















