201575 (689382), страница 6
Текст из файла (страница 6)
γ=0°; φ1=10°; г=1,5 мм.
Характеристика станка с ЧПУ АТПр 2М12С
Частота вращения шпинделя, об/мин 1-1780
Регулирование бесступенчатое
Мощность электродвигателя, кВт 7
Габариты, мм
Длина 4000
Ширина 1500
Применение автоматического оборудования способствует повышению эффективности машиностроительного производства. РТК (расчетно-технологическая карта) включает в себя числовую и геометрическую информацию, является документом для расчета управляющей программы и в общем виде содержит: операционный эскиз детали с изображением координатных осей и элементов приспособлений; графическое изображение траекторий движения инструментов; координаты исходной точки движения инструментов; информацию о номерах (кодах) инструментов или инструментальных блоков и др.
Исходными данными для разработки РТК и управляющей программы являются: операционный эскиз детали; материал; вид и размеры заготовки; объем партии деталей.
На операционном эскизе РТК выбирают начало системы отсчета и оси координат. Для станков токарной группы принята правая система координат "X - Z". Начало отсчета - точка пересечения осей координат. Ось Z - обычно ось вращения шпинделя, ось X чаще всего соединена с плоскостью планшайбы, патрона или с базовой поверхностью приспособления, входящего в комплект станка.
Система координат детали может изменяться и проходить через поверхности базирования детали на станке и через поверхности (отверстия), относительно которых заданы размеры.
Понятие "нулевая" точка суппорта - это в большинстве случаев положение суппорта, при котором происходит замена инструмента (смена инструментальных блоков, поворот резцедержателя или револьверной головки на другую позицию). Однако на практике производить отсчет перемещений от "нулевой" точки суппорта нерационально, поэтому обычно используют понятие "ноль" эталона, инструмента или резцедержателя. "Ноль" эталона - сечение точно обработанных взаимно перпендикулярных поверхностей призмы, установленной в блоке. "Ноль" инструмента – центр радиуса округления вершины резца; для сверл, зенкеров и разверток - это крайняя точка, лежащая на оси инструмента.
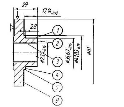
Рисунок 1.9 - Операционный эскиз на токарную операцию с ЧПУ
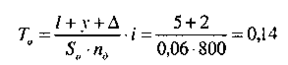
Переход 1 - Центрование отверстия 3
Глубина резания t=D/2=5/2=2,5 мм Подача
где S0T - табличная подача ([12] карта 27 стр. 270);
КИ - учитывает материал инструмента;
КФ - учитывает форму обрабатываемой поверхности;
КМ - учитывает материал детали.
Скорость резания
где VT - табличная величина скорости [12 карта 27 стр 270];
КМ - учитывает обрабатываемость материала;
КИ - учитывает свойства инструментального материала;
КФ - учитывает влияние главного угла в плане
КТ - учитывает вид обработки
КЖ - учитывает жесткость системы
КП - учитывает состояние обрабатываемой поверхности
КО - учитывает влияние СОЖ ([12] табл. 43 стр. 247)
Частота вращения шпинделя
По станку назначаем п = 800 об/мин
Мощность резания, кВт
где NТАБЛ - табличное значение мощности резания [12 карта 42 стр. 286]
NР=0,l
Основное время, мин
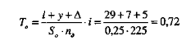
Переход 2 - Сверление отверстия 3
Подача
S0=S0T•КИ•КФ•КМ=0,4•1•0,7•0,9=0,25 мм/мин
Скорость резания
V=31•0,72•1•0,87•1•0,9•1•1=17 м/мин
Частота вращения шпинделя
Принимаем частоту вращения по паспорту станка
n=225 об/мин
VД=3,14•23,5•225/1000=16,6 м/мин
Сила резания, Н
РХ=1130•1,63•1•1•0,9•0,87=1442
Основное машинное время
Переход 3 - Точение поверхностей 2, 4, 5, 8 по контуру
Глубина резания
t = 1 мм
Подача
Скорость резания
Частота вращения шпинделя
По станку назначаем n=175 об/мин
Сила резания
где СР - постоянный коэффициент
х=1, у=0,75, n=-0,15 - показатели степени
где КМ - учитывает обрабатываемый материал;
Кφ - учитывает влияние главного угла в плане;
Kγ - учитывает влияние переднего угла;
Кλ - учитывает влияние угла наклона режущей кромки;
Кr - учитывает радиус резца.
Основное машинное время
Суммарное время на операцию ТО=0,14+0,72+1,02=1,88 мин
В серийном производстве нормой времени на операцию является штучно-калькуляционное время.
1.5.4 Техническое нормирование операций.
К.р. №2 Расчет штучно-калькуляционного времени на операцию.
Штучно-калькуляционное время на операцию определяется по формуле, мин:
где Тшт - штучное время, мин
Тпз - подготовительно-заключительное время, мин
n - количество деталей в партии, n=100 шт.
Подготовительно-заключительное время в серийном производстве берется для партии запуска. Подготовительно-заключительное время включает в себя:
-время на перенастройку и переналадку оборудования для обработки партии деталей нового наименования
-время на наладку инструмента
-время на получение сменного задания
-время на получение инструментов, приспособлений
-время на установку приспособления, копира
-время на пробную обработку детали
-время на установку и перемотку перфоленты
где tо - суммарное время на операцию, мин;
tвсп - вспомогательное время, мин;
to6c -время на обслуживание рабочего места, мин
tвсп=tуст+tсн+tпереуст+tконтр+tсм_инст+tв_подв
где tуст - время на установку заготовки, мин;
tсн - время на снятие заготовки, мин;
tпереуст - время на переустановку детали или инструмента, мин;
tконтр - время на контрольные измерения, мин;
tсм_инст - время на смену инструмента, мин;
tв_подв - время на быстрые подводы инструмента в зону резания и быстрые отводы из этой зоны, мин.
Существует также понятие оперативное время. Оперативное время рассчитывается по формуле:
где аобс - процент от оперативного времени, затрачиваемый на организационное обслуживание рабочего места
аотд - процент от оперативного времени, затрачиваемый на отдых и естественные надобности
1.5.5 Операция зубофрезерная (035)
Основное суммарное время на операцию to = 2,2 мин Штучное время
где То - основное время;
ТВ – вспомогательное;
где ТУ - время на установку и закрепление детали ([2] табл. 5.5 стр. 199);
ТУ' - время на установку и закрепление следующей детали;
ТУПР - время на управление станком ([2] табл. 5.9 стр. 205);
ТКОНТР - время на контрольные измерения (ТКОНТР=0,05 мин; оно меньше То, значит его можно не учитывать)
Подготовительно-заключительное время ТП-З включает [8, стр.422, карта 56]
- время на наладку станка 16 мин;
- время на установку фрезы 7 мин;
- время на получение инструмента и приспособления 10 мин.
1.5.6 Техническое нормирование на круглошлифовальную операцию (030)
Основное суммарное время на операцию tО =0,32 мин
Подготовительно-заключительное время:
Получение исполнителем наряда, работы, инструмента, и приспособлений 7,0 мин
Время на крепление заготовки в центрах [8, стр.646, карта 20]
8,0 мин
Правка шлифовального круга - диаметр [8, стр.646, карта 20]
1,5 мин
Вспомогательное время:
Время на установку, снятие детали [8, стр.639, карта 15] tУСТ=tCH=0,26 мин Поставить и снять хомутик [8, стр.639, карта 14] составляет 0,18 мин.
Время, связанное с переходом при шлифовании наружных цилиндрических поверхностей [8, стр.641, карта 17] - 0,24 мин
Время на измерения (шаблон) [8] - 1,1 мин
Время на обслуживание рабочего места, отдых и естественные
надобности
Пользуясь источником [8, стр.423, карта 57] время на обслуживание рабочего аобс=2% от оперативного времени.
Время на отдых и естественные надобности при выполнении работ с механической подачей составит аотд=4 % от оперативного времени. Тогда время на обслуживание рабочего места, отдых и естественные надобности будет равно согласно формуле (9.5)
Штучное время на операцию, мин:
Штучно-калькуляционное время на операцию, мин:
1.5.7 Техническое нормирование на операцию № 015
Основное время tО=1,88 мм
Подготовительно- заключительное время:
где Тп-з1 – затраты времени на:
- получение технологической документации 8 мин;
- инструктаж мастера 4 мин;
- установку рабочих органов станка 5 мин;
- установку перфоленты 3 мин;
Тогда Тп-з1=8+4+5+3=20 мин ([5] табл. 13 стр. 609)
Тп-з2 - затраты, учитывающие дополнительные работы 6 мин ([5] табл. 13 стр. 609)
Тп-з3=5 мин
Тп-з3=20+6+5=31 мин
Вспомогательное время:
Тв=Тву+Тмв мин (1.5.22)
Тву - время на установку и снятие заготовки
Тву=0,18·2=0,36 мин ([2] табл. 5.1 стр. 197)
Тмв - машинно-вспомогательное время
Тмв=Твкл+Тпов р г+Тподв/отв=0,01+2-0,04+6-0,025=0,24 мин (1.5.23)
Твкл - на включение станка;
Тпов р г - на поворот револьверной головки;
Тподв/отв - на быстрый подвод/отвод резца;
Тобс - время на обслуживание рабочего места;
Тп - время на личные потребности;
Тв=0,36+0,24=0,6 мин















