25007 (686694), страница 5
Текст из файла (страница 5)
1. Погрешность измерения азимута дана для зенитных углов, превышающих 3°.
2. Инклинометры ИН1-721 и «Зенит-40У» обеспечивают непрерывную регистрацию углов.
Ферромагнитный ИММ-32-125/70 и гироскопический инклинометры ИГИ-42-120/70
В ГП «Момент» (С.-Петербург) разработана более современная и совершенная конструкция кабельного ферромагнитного инклинометра диаметром 32 мм с поверхностным прибором типа ПЭВМ, а также совместно с ВИТРом принципиально новая конструкция малогабаритного гироскопического инклинометра диаметром 42 мм для ферромагнитных сред со сферическим гироскопом-акселерометром с электромагнитным подвесом ротора [5].
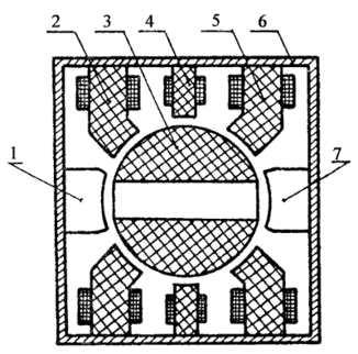
Конструктивно чувствительный элемент ЧЭ представляет собой ротор, размещенный в сферической полости, создаваемой торцами окружающих ротор полюсов восьми электромагнитов (рис. 11) [5].
Р
ис. 11. Конструкция чувствительного элемента в форме шарового гироскопа-акселерометра с электромагнитным подвесом ротора гироинклинометра ИГИ-42-120/70.
1 – датчик момента; 2, 5 – статор подвеса; 3 – ротор; 4 – статор двигателя; 6 – корпус; 7 – датчик угла
Магнитопроводы электромагнитов объединены в два кольцевых ферритовых статора 2, 5. Аксиально отверстию ротора с обеих сторон размещены два идентичных четырехзубцовых электромагнитных статора 1, 7, выполняющих функции датчика момента, прилагаемого к ротору, и датчика угла.
В экваториальной плоскости ротора расположен статор двигателя 4, обеспечивающий вращение ротора на принципе асинхронной электромашины. Эти узлы расположены в цилиндрической вакуумплотной камере 6, необходимое разрежение в которой обеспечивается магниторазрядным газопоглотителем. Подводка питания и связь гироскопа с наземным прибором – ПЭВМ осуществляется через гермовводы, расположенные в торцевых крышках чувствительного элемента. Технические характеристики указанных ферромагнитного ИММ-32-125/70 и гироскопического инклинометров ИГИ-42-120/70 даны в табл. 8.
Зарубежные автономные инклинометры
В зарубежной практике автономные инклинометры применяются наиболее широко и представлены разнообразными вариантами конструкций. В зависимости от применяемых чувствительных элементов ЧЭ – датчиков измерения углов они разделяются на три группы: индикаторы зенитных углов, инклинометры с магнитными ЧЭ и с гироскопическими ЧЭ, а изготавливаются, как правило, с большим числом датчиков в комплекте с подразделением их на узкие поддиапазоны измерения зенитных углов ЗУ, нередко в 2 – 6° и 10 – 20°.
По методу регистрации показаний они разделяются на приборы [5]:
-
с механической регистрацией путем перфорации бумажного или фольгированного диска (одна точка ЗУ), на электрохимической бумаге,
-
фото- и кинорегистрация, иногда магнитный носитель.
Наиболее совершенные из них, например фирмы «Фридрих Лейтерт», обеспечивают измерение зенитного угла в диапазонах 0 – 10°, 0 – 20° и 17 – 130° с погрешностью его измерения соответственно ± 0,1°, ± 0,25°, ± 0,5° и азимута, равной ± 1°, иногда менее.
Технические характеристики некоторых зарубежных автономных инклинометров приведены в табл. 9 [5].
Таблица 9
Техническая характеристика некоторых зарубежных автономных инклинометров
| Фирма (страна) | Название прибора | Измеряемый параметр | Тип датчика азимута | Метод регистрации | Диапазон измерения ЗУ, градус | Наружный диаметр, мм |
| «Истмэн уипсток» (США) | «Дрифт индикатор» | ЗУ | - | П | 0,3 – 0,6 – 12, 0 – 30 | 41, 35, 32 |
| «Сингл шот», R и Е | ЗУ, А | М | Ф | 0 – 10,20; 15 – 90, 15 – 120 | 45, 35 | |
| «Магнетик малтирл шот» | ЗУ, А | М | К | 0 – 5, 0 – 10, 0 – 17,0 – 90 | 45, 35 | |
| «Гироскоп-инкмалтипл шот» | ЗУ, А | Г | К | 0 – 12, 0 – 24, 0 – 34,0 – 70 | 76, 51 | |
| «Фридрих Лейтерт» (Германия) | НСТ | ЗУ, А | м | п | 0 – 12, 9 – 21, 18 – 30 | 42 |
| НПЕ, НПР | ЗУ, А | м | Ф, К | 0 – 10, 0 – 20, 17 – 130 | 45 | |
| НГЕ, НГР | ЗУ, А | г | Ф, К | 0 – 12, 0 – 20, 0 – 34,0 – 90 | 76, 51 | |
| «Кастер» (США) | «Сингл шот» «Малтишот» | ЗУ, А ЗУ, А | М М Г | Ф К К | 0 – 3,0 – 20,0 – 80, 0 – 20,0 – 70,0 – 80, 0 -10,0 – 30 | 32 45 89, 76, 54 |
| «Магнетик сингл шот» А и В | ЗУ, А | М | Ф, К | 0 – 2,0 – 6,0 – 20, 0 – 120 | 32 – 89 | |
| «Шуруэл» | ЗУ, А | Г | К | 0 – 6,0 – 20,0 -70, 0 – 90 | 45, 76 | |
| «Сингл шот» S – S | ЗУ, А | Г | Ф | 45 | ||
| «Тотко» (США) | «Дабл рекордер» | ЗУ, А | М | П | 0 – 3,0 – 8,0 – 16, 0 – 90 | 48, 41 |
| 0 – 24,0 – 90 | 33 | |||||
| «Дирекшнл дабл...» | ЗУ, А | М | П | 0 – 12,9 – 21, 18 – 30 | 41 | |
| «Лиао Нинг дай-монд фактору...» (Китай) | XJL XDC XJD XLD-45 | ЗУ, А ЗУ, А ЗУ ЗУ, А | М М - М | в в в в | 0 – 50 0 – 6 0 – 90 0 – 90 | 33,5; 42 42 42 45 |
Примечание: ЗУ – зенитный угол; А – азимут; М – магнитный датчик; Г – гироскопический датчик; П – перфорация; В – визуальный отсчет; Ф – фоторегистрация; К – кинорегистрация. Широкий выбор датчиков обеспечивает большое удобство, более высокую точность измерений углов в узких диапазонах, значительную оперативность измерений и сохранность измерений по скважине на бумажных или фотоносителях для контроля.
4. Выбор средств и описание технологии борьбы с естественным искривлением
Жесткие компоновки
Одинарные жесткие компоновки
В практике работ для снижения интенсивности искривления зачастую используют удлиненные колонковые трубы с утолщенной стенкой.
Практически, очень часто для снижения интенсивности искривления используются трубы, снабженные различного рода центраторами.
Компоновки, (рис. 12) включают в состав наружной трубы колонкового набора алмазные расширители, что позволяет им эффективно работать в перемежающихся по твердости породах. Между нижним и средним блоками расширителей-центраторов введена профилированная, обычно, семигранная труба. Использование компоновок в породах VIII – IX категорий, частично X категории, позволяет снижать интенсивность искривления скважин в 2 – 8 раз.
Двойные жесткие компоновки
Двойные жесткие компоновки применяются в основном при бескерновом бурении, что объясняется особенностями их конструкции.
По данным Мельничука И. П. наименьшая интенсивность естественного искривления была обеспечена компоновкой следующей конструкции (рис. 13). Толстостенная труба 3, выполненная из ниппельной заготовки диаметром 57 мм с толщиной стенки 6,0 мм, с помощью ленточной резьбы соединяется с переходником 5 диаметром 73 мм, который имеет также внутреннюю резьбу для соединения с шарошечным долотом. Внутренняя труба 3 помещается в наружную трубу-кожух, выполненную из ниппельной заготовки диаметром 73 мм с толщиной стенки 6,5 мм. В этом случае радиальный зазор 4 между наружной и внутренней трубами составляет 1,5 мм. Этого достаточно для прохождения внутренней трубы в наружную даже при некоторой их эллиптичности. Зазор между трубами заполняется графитовой смазкой, смазкой КАВС или солидолом.
Переходники 1, 5 армируются твердосплавными вставками 6, выступающими над телом переходника на 0,5 – 1,0 мм, служащими для калибровки ствола скважины и предохранения переходника от износа.
Рис. 12. Жесткая компоновка Рис.13. Двойная труба-стабилизатор ПГО «Востокгазгеология»
При данной конструкции низа бурильной колонны крутящий момент и осевая нагрузка на долото передаются только через внутреннюю трубу. Наружная же труба-кожух не подвергается ни осевым нагрузкам, ни скручивающим усилиям, выполняя роль центратора низа колонны и стабилизатора направления ствола скважины, а также играя роль гасителя поперечных вибраций снаряда, что положительно сказывается на ресурсе долота.
Использование двойных труб-стабилизаторов позволяет снижать интенсивность естественного искривления в 3 – 4 раза.
Двойные напряженные компоновки
Типовая конструкция компоновки приведена на рис. 14. Перед бурением при сборке колонкового набора производится предварительное напряжение наружной трубы за счет энергии сжатой внутренней трубы. Внутренняя труба воспринимает очень большую осевую нагрузку сжатия, а так как она установлена во внешнюю трубу без зазора, не сгибается и не теряет устойчивости, то критическая нагрузка для нее будет определяться только усилием смятия материала труб. Практически, компоновки напрягаются при осевом усилии 40 – 50 кН.
















