25007 (686694), страница 7
Текст из файла (страница 7)
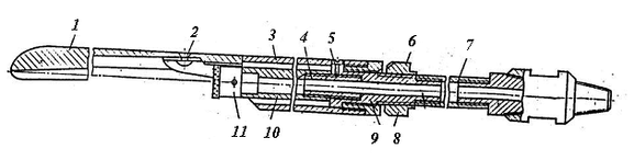
Отбурочный снаряд, отличающийся по диаметру на 2 стандартных размера от диаметра корпуса клина, состоит из стандартной алмазной или твердосплавной коронки 11 (в моём случае алмазная коронка типа ВИЗ) и короткой колонковой трубы 10. Через втулку 4, муфту 9 и гайку 8 колонковая труба соединяется с бурильной трубой 7. Муфта 9 крепиться в корпусе отклонителя срезающимися винтами 5.
Рис. 30. Отклонитель СО-73/46 (конструкции ВИТР)
Отклонитель перед постановкой на забой предварительно ориентируют. После этого под действием осевого усилия, создаваемого гидравлической системой подачи бурового станка, срезаются заклёпки 2. Корпус 3 смещается вниз и расклинивается между жёлобом клина и стенкой скважины. Увеличивая осевую нагрузку, срезают винт 5. При этом освобождается муфта 9. Ударом конусной гайки 8 по втулке 6 достигают полного расклинивания снаряда в скважине. В дальнейшем при вращении колонны бурильных труб чайка 8 отвинчивается от муфты 9.
После этого приступают к бурению пилот скважины малого диаметра освобождённым отборочным снарядом. После бурения пилот скважины (0,8 – 1,2 м) отбурочный снаряд вместе с корпусом отклонителя извлекают из скважины на бурильных трубах.
Техническая характеристика СО-73/46.
-
диаметр, мм:
корпуса снаряда 73;
алмазной коронки 46;
-
угол наклона корпуса клина, град 3;
-
длина желоба клина, мм 765;
-
радиус желоба клина, мм 28,5;
-
диаметр снаряда в сборе 6170;
-
масса, кг 50;
-
присоединительная резьба к колонне бурильных труб – внутренняя замковая диаметром 42 мм.
-
Величина искривления скважины за цикл составляет 1,0 – 1,5 град.
Ориетатор “Курс”
Принцип действуя скважинного датчика основан на преобразовании углового перемещения щетки, неподвижно установленной в корпусе ориетатора, в омическом сопротивлении реостата, фиксировано устанавливающегося при помощи груза относительно апсидальной плоскости скважины. Реостат, имеющий эксцентрично расположенный груз, закреплён на оси вращающейся вагатовых подшипников.
Под действием груза в наклонной скважине реостат устанавливается так, что начало его обмотки, совмещается с апсидальной плоскостью. Реостат входит в эксцентрическую схему прибора и является одним из четырех плечей моста Веетона. Три других плеча моста находиться в наземном пульте управления. На рис. 31 приведена кинематическая схема скважинного прибора. Он состоит из несущей оси 12, на которой жестко закреплён большой груз 13, на неё же надет корпус реостата 9 с малым грузом 8. Корпус реостата на несущей оси поддерживается пружиной. Внутри отверстие, под несущей осью в корпусе реостата находится шпонка, а вдоль оси шпоночный разрез, поэтому корпус реостата может перемещаться вдоль оси без вращения. Под реостатом неподвижно относительно гильзы прибора в щеткодержатель 11 установлена подпружиненная щетка 10.
В качестве ориентира используется электромагнит 2, сердечник 3 которого при помощи возвратной пружины 4 и шпонок 5 фиксирует положение реостата.
Техническая характеристика “Курс”
-
предел допустимочти погркшнсти углов при зенитных углах, градус:
< 3 – 5 10
> 5 (7-5)
-
диапазон зенитных углов, при которых прибор может работать,градус
3 – 60
-
размер скважининного датчика, мм
наружный диаметр 18
длина 1500.
Ступенчатый расширитель типа РС-59/76
Расширитель ступенчатый (РС) конструкции ВИРТ (рис. 32) представляет собой компоновку, состоящую из направляющей трубы 1, двух подкоронников 2,3, соединительной муфты 4 и переходника 5. Подкоронники служат для присоединения к муфте коронок диаметром 59 и 76 мм. Направляющая для того, чтобы расширитель располагался соосно с пилот скважиной и не уходил в сторону.
Фрезер-разбурник
Фрезер-разбурник предназначен для проработки искривлённых участков скважины после их отклонения с целью создания нормальных условий работы бурового снаряда и колонны бурильных труб.
Фрезер-разбурник с центрирующей муфтой (рис.33) состоит из ПРИ 1, переходника 2, бурильных труб 3, алмазного фрезера 4, подкоронника 5 и муфты центратора 6.
Шарнирная компоновка
Шарнирная компоновка ШК-57 (рис. 34) необходима для предотвращения срезания изгиба ствола, полученного с помощью съемного отклонителя и увеличения набора кривизны. Диаметр колонковой трубы 75 мм, а её длина 1200 мм.
Последовательность операций цикла искусственного искривления:
-
инклинометрия призабойной зоны;
-
чистка скважины долотом от выступов керна;
-
ориентация отклонителя на поверхности;
-
спуск отклонителя в скважину и вывешивание его над забоем;
-
интенсивная промывка забоя скважины;
-
ориентация отклонителя;
-
постановка отклонителя на забой;
-
раскрепление отклонителя;
-
выкручивание отбурочного снаряда из страховочной гайки;
-
бурение пилот скважины
-
постановка на забой отбурочного снаряда;
-
срыв керна;
-
извлечение отклонителя из скважины;
-
проверка правильности бурения пилот скважины;
-
удлинение и расширение пилот скважины до номинального диаметра;
-
фрезерование уступа;
-
бурение скважины шарнирной компоновкой укороченным рейсом до тех пор, пока не войдет стандартная колонковая труба;
-
инклинометрия искривления ствола скважины.
7. Расчёт угла установки отклонителя
Для расчёта установки отклонителя строится векторная диаграмма, показанная на рис. 35.
От произвольно выбранного направления на север откладывается по часовой стрелке азимут скважины в точке начала искривления
. По этому направлению в масштабе откладывается величина зенитного угла скважины в точке начала искривления
.
Аналогичным образом откладываются величины азимутального (αк) и зенитного (θк) углов, которые скважина должна иметь по окончанию искусственного искривления. Окончание векторов θн и θк соединяются прямой АВ.
Рис. 35. Векторная диаграмма определения угла установки отклонителя
Углом установки отклонителя ψ является угол между продолжением вектора θн и прямой АВ. Длинна прямой АВ в том же линейном масштабе, что и θн, θк даёт угол полного пространственного искривления скважины φ, необходимого для получения по окончанию искривления зенитного угла и азимута , равных соответственно θк и αк.
Для определения θк и αк воспользуемся формулами (6) и (12):
Глубина l равна глубине, на которой необходима корректировка трассы. Следовательно:
θк – θн = Δθ, (20)
αк – αн = Δα, (21)
где Δθ и Δα необходимые величины отклонения и направления корректировки зенитного угла и азимута соответственно.
Δθ = +6°; Δα = +25°.
θн = θк – Δθ = 21,43 – 6 = 15,43°;
αн = αк – Δα = 31,12 – 25 = 6,12°;
Количество циклов искусственного искривления (m) отклонителем дискретного действия или длины рейса (lр) отклонителем непрерывного действия рассчитывается по формуле (22):
где δ – величина искривления скважины за один цикл для отклонителя дискретного действия, δ = 1,5.
7. Спецвопрос
Аварии и осложнения при направленном бурении скважин
Аварией называется непредвиденное прекращение углубления скважины, вызванное нарушением состояния буровой скважины или находящегося в ней бурового инструмента. При этом отличительным признаком аварии обычно является наличие оставленных в скважине деталей бурового снаряда или инструмента, для извлечения которых необходимы специальные работы.
Осложнением называется затруднение углубления скважины, вызванное нарушением состояния буровой скважины.
При направленном бурении скважин, отличающихся от обычных наличием интервалов с различной интенсивностью искривления, расположенных на разных участках трассы, возникают аварии и осложнения, которые связаны с процессом искусственного искривления и его последствиями, что требует специальных методов по их устранению.
Аварии и осложнения при направленном бурении можно разделить на два вида:
а) аварии и осложнения при искусственном искривлении;
б) аварии и осложнения после искривления.
Учитывая явно выраженную связь аварийности бурильных труб с характеристикой кривизны скважин, полученной в результате применения отклоняющей техники, представляется целесообразным совместно рассмотреть эти вопросы.
Аварии
Аварии, возникающие при бурении, можно разделить на четыре группы:
-
аварии с долотами (отвинчивание долота при спуске инструмента вследствие недостаточного его закрепления, слом долота в результате перегрузки и т.д.);
-
аварии с бурильными трубами и замками (слом трубы по телу; срыв резьбы труб, замков и переводников и т.д.);
-
аварии с забойными двигателями (отвинчивание; слом вала или корпуса и т.д.);
-
аварии с обсадными колоннами (их смятие; разрушение резьбовых соединений; падение отдельных секций труб в скважину и т.д.).
Для ликвидации аварий применяют специальные ловильные инструменты (рис. 36): шлипс, колокол, метчик, магнитный фрезер, паук и другие. Однако лучше всего предотвращать аварии, строго соблюдая правила эксплуатации оборудования, своевременно осуществляя его дефектоскопию, профилактику и замену.
















