25007 (686694), страница 4
Текст из файла (страница 4)
Измерительный узел (0 – 5) смонтирован в трубчатом корпусе, в котором в верхней части размещена буссоль, составляющая одну систему с маятником-отвесом, внизу – фиксирующее устройство и резьба для соединения с часовым фиксирующим механизмом.
При спуске прибора в скважину на бурильных трубах для избежания их магнитного влияния на стрелку буссоли необходимо между гильзой инклинометра и бурильными трубами ввести разделительную немагнитную штангу длиной не менее 6 м, изготовленную из нержавеющих (сталь Х18Н10Т), латунных или дюралюминиевых труб.
Инклинометр многоточечный оперативного контроля МТ-1-40
Данный инклинометр предназначен для многократных измерений в одной или многих точках скважины, что значительно повышает оперативность контроля и достоверность о ее пространственном положении и снижает затраты на инклинометрические измерения, особенно при искусственном искривлении, требующем нескольких измерений интервала.
Для измерения азимутов и зенитных углов скважины инклинометр снабжен чувствительными элементами (магнитной стрелкой и отвесом, установленными на эксцентричной апсидальной рамке). Магнитная стрелка и отвес инклинометра снабжены шкалами для отсчета азимута и зенитного угла скважины.
Принцип действия инклинометра МТ основан на фотоизометрическом способе регистрации азимутов и зенитных углов скважины. Это позволяет наиболее простым способом осуществить бесконтактную регистрацию показаний магнитной стрелки компаса и отвеса инклинометра, заключенных в герметично закрытый корпус и взвешенных в жидкости, что повышает точность и объективность измерений и надежность прибора [5].
Техническая характеристика данного инклинометра представлена в табл. 7.
Таблица 7
Техническая характеристика инклинометра МТ-1-40
| Диапазон измерений углов, градус: зенитных азимутов | 2 – 60 0 – 360 |
| Основная погрешность (при зенитных углах более 4°), не более, градус: зенитных углов азимутов | 0,5 2,5 |
| Габаритные размеры, мм: диаметр длина | 40 (42) 2000 |
Структурная схема инклинометра
Инклинометр МТ представляет собой автономное устройство, работающее либо в автоматическом режиме, либо в режиме управления без электрической связи с поверхностью. Структурная схема инклинометра показана на рис. 8 [5].
Рис. 8. Структурная схема инклинометра МТ-1-40
Выбор режима работы осуществляется соответствующей установкой переключателя режима работы АВТ-УПР. В автоматическом режиме инклинометр работает по временной программе, задаваемой датчиком временных интервалов. В этом режиме инклинометр перемещают по скважине, контролируя по секундомеру время прохождения циклов программы. Через промежутки времени, предусмотренные в цикле для успокоения ЧЭ и регистрации их показаний, его останавливают в точке измерения, и каждый кадр фотопленки соответствует одному измерению.
В автоматическом режиме фотографирование шкал ЧЭ производится циклично через 2,5 мин, в режиме управления – по команде оператора с поверхности.
В режиме управления фоторегистратор инклинометра срабатывает только в тех точках скважины, где необходимо произвести измерение. В этом режиме датчик ускорений обеспечивает логическую схему телеуправления, в которой фактор «перемещение» является запрещающим, а фактор «остановка» – разрешающим сигналом, т.е. при перемещении инклинометра по скважине автоматический фоторегистратор всегда находится в выключенном состоянии и для его запуска необходимо остановить инклинометр. Для измерения в этом режиме оператор опускает инклинометр в точку измерения и выдерживает его без движения не менее 1 мин.
За это время происходит успокоение ЧЭ, фотографирование его шкал азимута и зенитного углов и выключение фотоинклинометра. Для последующего измерения необходимо переместить (встряхнуть) инклинометр, а затем его остановить
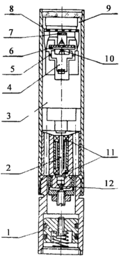
Инклинометрический блок скважинного прибора (рис. 9) состоит из чувствительного элемента 1, зенитных углов и азимутов; фоторегистрирующего устройства – автоматического фотоаппарата, состоящего из фотокамеры 2, механизма транспортирования фотопленки 3 с электромагнитом 5, кассет с пленкой и программного блока 4; пусковых устройств (датчика временных интервалов 7 и датчика ускорений 6); блока питания 8, размещенных в защитной гильзе [5].
Рис. 9. Автономный многоточечный фотоинклинометр МТ-1-40 конструкции ВИТР.1 – чувствительный элемент; 2 – фотокамера; 3 – механизм перемотки фотопленки; 4 – программный блок; 5 – электромагнит; 6 – датчик ускорений; 7 – датчик временных интервалов; 8 – блок питания
Все измерительные узлы ЧЭ – магнитная стрелка и шкала зенитных углов размещены в цилиндрическом герметичном корпусе (в его верхней части установлено прозрачное стекло), заполненном кремне-органической жидкостью ПМС-5, которая служит демпфером и световодом (рис. 10). Благодаря демпфированию ЧЭ в жидкости и шаровой опоре 12 измерения можно производить в скважинах с зенитным углом 1 – 2° и более.
Рис. 10. Чувствительный элемент фотоинклинометра МТ-1-40.
1 – компенсатор давления; 2 – вал вращения с подшипниками 11; 3 – апсидальная рамка эксцентричная; 4 – маятник; 9, 10 – керны; б – картушка азимутальная; 7 – кольцо из органического стекла с делениями зенитных углов; 8 – стекло с неподвижными индексами отсчета зенитных углов; 9 – защитное стекло с воздухозаборником; 12 – шаровая опора чувствительного элемента
Электрическое питание инклинометрического блока осуществляется от аккумуляторного или гальванического источников (элементы 343 или «Салют»).
Вспомогательные принадлежности инклинометра МТ-1 предназначены для обеспечения его работоспособности, обработки и расшифровки фотоснимков и состоят из устройства для подзарядки аккумуляторов; светонепроницаемого мешка, предназначенного для перезарядки кассет фотоаппарата; проявочного бачка и просмотровой лупы.
Инклинометр гироскопический автономный ИГА-1 производства ЗОА «Гирооптика»
Область применения: оперативный контроль пространственного положения скважин при строительстве горных выработок. Назначение: определение трехмерных координат х, у, z осевых точек группы вертикальных скважин [6].
Состав комплекта: скважинный прибор, наземное оборудование и программно-математическое обеспечение.
Скважинный прибор выполнен в виде прочного герметизированного корпуса цилиндрической формы, в котором установлены блок чувствительных элементов (БИЧЭ), электронный блок, вторичный источник питания и аккумуляторная батарея. В верхней и нижней частях корпуса скважинного прибора установлены два центратора, обеспечивающие установку его продольной оси по оси скважины [6].
Наземное оборудование включает ручную лебедку, устройства ее установки на обсадной трубе скважины, пульт управления и визирное устройство
Программно-математическое обеспечение включает пакет программ для камеральной обработки измерительной информации с использованием алгоритмов бесплатформенной инерциальной системы с помощью программно-аппаратных средств, отвечающих требованиям:
-
ПК P-4, 1,2 ГГц;
-
256 Мбайт – ОЗУ;
-
HDD – 20 Гбайт;
-
ПО Windows 2000/XP.
В результате камеральной обработки определяются координаты х, у, z осевых точек группы скважин. Конечный результат обработки представляется в виде чертежей сечений группы скважин по заданным горизонтам [6].
Состав и назначение блоков
БИЧЭ включает двухканальный микромеханический преобразователь ускорений линейных (ПУС) и микромеханический преобразователь скорости угловой ПСК(У). Ось чувствительности ПСК(У) расположена по продольной оси скважинного прибора, а оси чувствительности ПУС – взаимноортогональны и перпендикулярны продольной оси.
Электронный блок, включающий аналого-цифровые преобразователи, контроллер внутреннюю память, обеспечивает преобразование аналоговых сигналов БИЧЭ в цифровой код и регистрацию измерительной информации во внутренней памяти.
Вторичный источник питания преобразует постоянное напряжение аккумуляторной батареи 9 – 12 В в стабилизированные напряжения, необходимые для функционирования БИЧЭ и электронного блока.
Аккумуляторная батарея скважинного прибора выполнена в виде герметичного сменного блока, позволяющего осуществить его замену в полевых условиях.
Ручная лебедка, устанавливаемая на обсадной требе скважины с помощью устройств крепления, обеспечивает спуск и подъем скважинного прибора в скважине. В состав лебедки входит барабан с тросом, датчик глубины спуска, стопорное устройство. Датчик глубины спуска состоит из мерного колеса, охватываемого тросом и валкодера, включающего оптоэлектронные датчики угла поворота колеса. При спуске угол поворота мерного колеса пропорционален перемещению скважинного прибора.
Пульт управления обеспечивает управление режимами функционирования инклинометра и включает клавиатуру, дисплей, съемный модуль Flash-памяти, контроллер и автономный источник питания. Пульт управления подключается к скважинному прибору и датчику глубины спуска. При спуске скважинный прибор отсоединяется от пульта управления и переводится в автономный режим работы [6].
Визирное устройство предназначено для установки базовой линии скважинного прибора по направлению на реперный пункт с известными координатами. При визировании на реперный пункт визирное устройство устанавливается в верхней части корпуса скважинного прибора на базовой поверхности.
Технология съемки группы скважин включает последовательное выполнение процедур [6]:
-
установку скважинного прибора инклинометра и наземного оборудования в исходном положении в устье одной из скважин;
-
привязка с помощью визирного устройства базовой линии скважинного прибора к реперному пункту;
-
включение с помощью клавиатуры пульта управления скважинного прибора, проверка его функционирования, ввод исходных данных (координат устья скважины и реперного пункта, параметров скважины);
-
перевод скважинного прибора в автономный режим записи измерительной информации и отсоединение пульта управления от скважинного прибора;
-
спуск скважинного прибора в положение забоя скважины и последующий подъем в исходное положение с помощью ручной лебедки;
-
подключение скважинного прибора к пульту управления, выключение автономного режима записи, перезапись измерительной информации во Flash-память пульта управления, выключение инклинометра;
-
выполнение перечисленных процедур на каждой скважине всей группы скважин;
-
выполнение камеральной обработки с использованием программно-математического обеспечения инклинометра и построение конечного продукта съемки – чертежей сечений группы скважин по заданным глубинам.
Основные технические данные:
-
инклинометр работоспособен:
-
в диапазоне температур окружающей среды от – 20 до +40 °С;
-
при вибрации в диапазоне частот от 10 до 55 Гц с амплитудой – 2 10 м/с2;
-
при многократных ударах с ускорением 20 м/с и длительностью ударного импульса 2 мс;
-
в обводненных скважинах с глубиной водяного столба до 50 м
-
инклинометр обеспечивает съемку вертикальных скважин, обсаженных стальными трубами со следующими параметрами:
-
внутренний диаметр труб – 76 – 102 мм;
-
глубина скважины – 100 м;
-
диапазон зенитных углов скважины – ± 8°.
-
погрешность определения глубины – ± 0,3 м;
-
диапазон измерения плановых координат X, Y – ± 2 м;
-
случайная составляющая погрешности определения плановых координат X, Y, – 50/100 мм/м;
-
-
-
габаритные размеры скважинного прибора:
-
диаметр – 68 мм;
-
длина – 1270 мм;
-
масса скважинного прибора – 10 кг.
3.3.2 Инклинометры для планового контроля
Отечественные электромеханические компасные инклинометры
Оперативный контроль искривления скважин при отсутствии специальных автономных инклинометров должен выполняться кабельными геофизическими инклинометрами.
Для измерения скважин в диамагнитных средах наиболее распространены следующие отечественные электромеханические компасные инклинометры: МИ-30, МИР-36, КИТ-60, КИТА-74 и др. Характеристики приведенных выше инклинометров приведены в табл. 8.
Таблица 8
Техническая характеристика отечественных каротажных инклинометров
| Тип инклинометра | Зенитный угол | Азимут | Диаметр скважинного прибора, мм | Температура max, °C | Давление, max, МПа | ||
| Диапазон, градус | Погрешность, мин | Диапазон, градус | Погрешность, градус | ||||
| КИТ | 0 – 50 | ± 30 | 0 – 360 | ± 4 | 60 | 120 | 60 |
| КИТА | 0 – 50 | ± 30 | 0 – 360 | ± 4 | 74 | 120 | 120 |
| ИМ-1 | 0 – 75 | ± 20 | 0 – 360 | ± 2 | 73 | 180 | 150 |
| ИН1-721 | 3 – 100 | 24 | 0 – 360 | ± 2 | 73 | 120 | 60 |
| МИ-30 | 0 – 50 | ± 30 | 0 – 360 | ± 5 | 30 | 130 | 80 |
| МИР-36 | 0 – 45 | ± 30 | 0 – 360 | ± 4 | 36 | 80 | 20 |
| «Зенит-40У» | 2 – 70 | ± 30 | 0 – 360 | – | 40 | ||
| ИММ-32-125/70 | 0 – 90 | ± 12 | 0 – 360 | ± 0,5 | 32 | 125 | 70 |
| ИГИ-42-120/70 | 0 – 90 | ± 15 | 0 – 360 | ± 1 | 42 | 120 | 70 |
Примечания.
















