105277 (682998), страница 6
Текст из файла (страница 6)
а) обычного ……………………………………………………………………………………………………….…… 150 м
б) экранированного ………………………………………………………………………………………………..….. 500 м
Изоляция:
а) между цепями 5 В и 24 В, постоянное …………………………………………………..…………. 500 В, постоянное
б) между цепями 24 В, постоянное и 230 В, переменное ………………………………………….. 1500 В, переменное
Габариты в мм …………………………………………………………………………………..……………… 90 x 80 x 62
Масса ……………………………………………………………………………………………..………… 270 г или 310 г
Выбор блоков ручного управления.
На предприятии могут возникнуть какие-либо неполадки, из-за которых часть оборудования автоматики может выйти из строя, например программируемый контроллер. На этот случай предусмотрены блоки ручного управления технологическим процессом, с помощью которых оператор может следить за процессом и управлять им вместо автоматического регулятора, пока тот не будет отремонтирован. В нашей САР таким блоком является БРУ – 32.
Блок ручного управления типа БРУ – 32 агрегатного комплекса электрических средств регулирования АКЭСР рассчитаны на применение в автоматизированных системах управления технологическими процессами в энергетике, металлургии, химии и других отраслях промышленности. Предназначены для переключения цепей управления исполнительными устройствами, индикации положений цепей управления, кнопочного управления интегрирующими исполнительными устройствами.
Блок БРУ – 32 содержит переключатель на два положения «Автоматический» и «Ручной», кнопки «Больше» и «Меньше», светодиоды, встроенные в кнопки, стрелочный указатель положения исполнительного устройства.
Блок БРУ содержит реле с магнитной блокировкой, которое выполняет функции переключателя цепей на два положения. Переключение реле происходит при прохождении импульсов постоянного тока через соответствующую обмотку. Повторение импульса в той же обмотке, а также включение питания состояния контактов реле не изменяют. Для перемены состояния контактов необходимо выключить питание одной обмотки и пропустить импульс тока по другой обмотке. Управление состоянием реле осуществляется переключателем режимов в положения «Автоматический» и «Ручной». Кнопки «Больше» и «Меньше» служат для управления исполнительными устройствами. Для индикации режимов управления и направления работы регулирующего устройства служат светодиоды. Блок содержит стрелочный указатель, осуществляющий индикацию аналоговых сигналов 0 . . 1, 0 . . 5 мА, 0 . . 10 В. Дистанционное переключение реле осуществляется замыканием внешних сухих контактов.
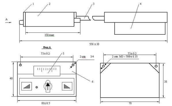
Блок состоит из литого корпуса 1, защищённого кожухом 2. На передней панели 6 расположены кнопки управления, стрелочный указатель положения регулирующего органа 5. светодиоды расположены внутри соответствующих кнопок. Под рамки закладываются бумажные таблички для нанесения эксплуатационных надписей. Элементы схемы блоков расположены на печатной плате, которая крепится к корпусу с помощью винтов. В задней части блоков расположена колодка 4 для внешних соединений, которая с внутренними элементами блоков соединяется с помощью гибкого жгута 3.
Рис. 10. Изображение блока ручного управления БРУ – 32 с основными установочными размерами.
Технические данные
Входные сигналы стрелочного индикатора блоков БРУ – 32 0 . . 5 мА при Rвх не более 500 Ом; 0 . . 10 В при Rвх не менее 10 кОм; 0 . . 1 мА при Rвх не более 2.5 кОм.
Выходные сигналы – логическое состояние групп переключающих контактов реле или логическое состояние групп переключающих контактов кнопок управления.
Коммутационная способность контактов реле и кнопок управления при активной нагрузке: постоянный ток 0.08 . . 0.25 А при напряжении 6 . . 34 В; переменный ток 0.1 . . 0.25 А при напряжении 12 . . 220 В.
Параметры питания светового индикатора: напряжение 24 В, потребляемый ток 10 мА.
Параметры указателя положения: пределы измерения 0 . . 1, 0 . . 5 мА, 0 . . 10 В; цена деления 5%; погрешность измерения
2.5%.
Мощность, потребляемая блоком, не более 2.5 В*А.
Масса 0.7 кг.
Вероятность безотказной работы в течение 2000 ч не менее 0.99.
Средний срок службы не менее 10 лет.
Блок рассчитан на установку на пульте или щите. Крепление к щиту (пульту) осуществляется винтами за панель корпуса.
Условия эксплуатации: температура окружающего воздуха 5 . . 50о С; относительная влажность воздуха до 80% при 35о С; магнитные поля постоянные или переменные частотой 50 Гц напряжённостью до 400 А/м; допустимые внешние вибрационные воздействия частотой до 25 Гц и амплитудой до 0.1 мм.
Изготовитель: ОАО “Чебоксарский завод электроники и механики”.
Выбор пускателя.
Устройства серии УПР1 служат для управления безударным пуском, торможением и реверсом асинхронных двигателей с короткозамкнутым ротором, для кратковременного регулирования их скорости и регулирования напряжения на активно-индуктивных нагрузках, питание от трёхфазной сети 380 В. Применение пускорегулирующих устройств позволяет значительно увеличить ресурс электротехнического и механического оборудования (в т. ч. электродвигателей) и снизить эксплутационные затраты в системах управления насосами, вентиляторами, воздуходувками и центрифугами.
Режим работы - продолжительный, повторнократковременный с ПВ 15, 25, 40 и 60%.
Конструктивное исполнение - моноблок со степенью защиты IP 00.
Предусмотрены варианты устройств, питаемых с выходом НПЧ, с нестандартными напряжениями и частотой.
Выберем в качестве пускателя УПР1-4000.
Технические характеристики УПР1-4000:
Номинальный ток, А 160
Диапазон регулирования выходного напряжения силовой цепи 0,1-0,95
Время изменения нагрузки от 0,1 до 0,95 Uвых, с 0,5-20
Диапазон регулирования времени динамического торможения, с 0,5-5
Габарит, мм (ширинавысотаглубина) 242500340
Выбор исполнительного механизма
Выбор исполнительного механизма определяется:
-
типом регулятора (электрический, пневматический, гидравлический);
-
величиной усилия, необходимого для перемещения регулирующего органа;
-
требуемым быстродействием;
-
условиями эксплуатации (температурой, влажностью, запылённостью, агрессивностью окружающей среды, взрывоопасностью);
-
условиями размещения и сочленения с регулируемым органом, условиями монтажа;
-
номенклатурой выпускаемых механизмов.
Выберем в качестве элемента 2д запорный однооборотный электропривод.
Привод имеет общепромышленное и взрывозащитные исполнения (Iexd11BT5). Приводы обеспечивают управление однооборотной запорной аппаратурой в магистралях природного газа, мазута, химических компонентов и других сред в соответствии с командами устройств автоматического или дистанционного управления. Пусковой момент выше номинального на30-50%.
Технические характеристики МЗОВ-500/25-0,25:
Номинальный крутящий момент нагрузки, Н•м 500
Рабочий угол поворота 90 ˚
Время поворота выходного органа, с 22,5…27,5
Потребляемая мощность, Вт 125
Габаритные размеры, мм 435206270
Масса, кг 50
Регулирующим органом в САР нагрева купола воздухонагревателя является центробежный вентилятор, исполнительным механизмом для него служит электродвигатель. Вентилятор Ц4 – 70 №12 рассчитан на скорость вращения 960 об/мин, потребляемая мощность составляет 40 кВт. Исходя из этих требований и выбираем асинхронный электродвигатель с короткозамкнутым ротором модели А2 – 91 – 6. Двигатели типа А2 общего применения используются для приводов длительного режима, не требующих больших пусковых моментов, например для вентиляторов, насосов, компрессоров, станков и т. п. Электродвигатель А2 – 91 – 6 выполнен в защитном исполнении, предохраняющем от случайного прикосновения к вращающимся и токоведущим частям, а также от попадания внутрь машины посторонних предметов и капель воды, падающих под углом 45о. Он может работать только с горизонтальным расположением вала и опорной плоскости лап.
В качестве исполнительного механизма 1д выберем электродвигатель А2-91-6.
Технические характеристики:
Номинальная мощность, кВт 55
Скорость вращения, об/мин 980
Ток статора: 176 А при 220 В
102 А при 380 В
77,5 А при 500 В
Коэффициент полезного действия 92 %
Маховый момент ротора 6,2 кГм2
Cosφ=0.89
Схема и установочные размеры электродвигателя А2-91-6.
Выбор регулирующего органа
Тип регулирующего органа определяется: а) видом регулируемого энерго- или материалоносителя; б) параметрами регулируемой среды; в) величиной регулируемого расхода; г) условиями размещения, монтажа и эксплуатации; д) номенклатурой выпускаемых устройств.
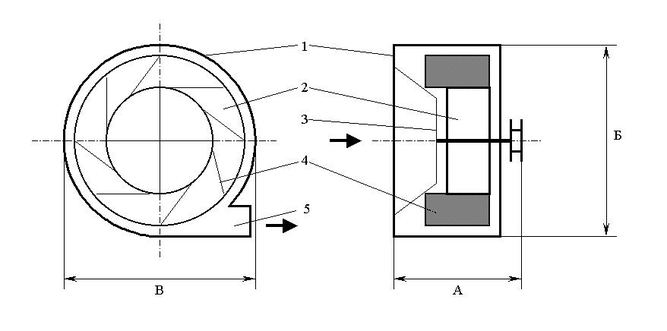
Исходя из этих рекомендаций в качестве регулирующего органа выбираем центробежный вентилятор среднего давления Ц4 – 70 №12. Вентиляторы этого типа предназначены для перемещения неагрессивных газов с температурой меньше 180о С, содержащих пыль и другие твёрдые примеси. Вентиляционное поле (расход газа, его давление), покрываемое им может регулироваться осевыми направляющими аппаратами. Вентилятор имеет плоские лопатки, но благодаря особой конструкции может работать при более высоких окружных скоростях, чем вентиляторы низкого давления той же схемы.
Центробежный вентилятор среднего давления Ц4 – 70 №12 приведён на рис. 13. Он состоит из цилиндрического корпуса 1, внутри которого находится вращающееся рабочее колесо 2. На рабочем колесе закреплены лопатки 3, угол поворота которых может изменяться, в результате чего меняется производительность вентилятора. Засасываемый воздух проходит через коллектор 4, и далее через лопатки рабочего колеса направляется в короб воздуховода 5, из которого поступает в воздухонагреватель.
Техническая характеристика
центробежного вентилятора среднего давления Ц4 – 70 №12.
Диаметр рабочего колеса - 1200 мм
Скорость вращения колеса - 960 об/мин
Производительность - 23 – 80 тыс. м3/час
Давление - 240 – 115 кгс/м2
Потребляемая мощность - 40 кВт
Наибольший КПД - 0.8
Габаритные размеры:
длина А - 1610 мм
ширина Б -2160 мм
высота В -2080 мм
Масса - 732 кг
Центробежный вентилятор среднего давления Ц4 – 70 №12.
В качестве регулирующего органа расхода газа выберем поворотную заслонку. Её по заданным размерам и техническим условиям выточит ремонтно-механический цех.
Заключение
В результате выполнения курсового проекта мы разработали САУ нагревом воздухонагревателя доменной печи и выбрали её элементы. САУ должна обеспечить эффективную работу воздухонагревателя и защиту купола, верха насадок и нижних строений воздухонагревателей от перегрева и последующего разрушения путём увеличения расхода воздуха. Температура воздухонагревателя стабилизируется системой, которая состоит из следующих элементов:
1а). Датчик температуры (термоэлектрический датчик ТТ 242).
1б). Видеотерминальное устройство (текстовый дисплей TD 200).
1в). Регулятор (программируемый контроллер SIEMENS S7-200, CPU 222).
1г). Ручной задатчик (блока ручного управления БРУ-32).
1д). Пускатель (пускорегулирующее устройство УПР1–4000).
1е). Исполнительный механизм (электродвигатель А2-91-6).
















