105277 (682998), страница 3
Текст из файла (страница 3)
Диапазон измерения, ˚С 0…+600
Показатель термической инерции, с 20
Масса, кг 1,22
Номинальная статическая характеристика XK(L)
Давление рабочей среды, МПа 16
Защищённость от воздействия окружающей среды со стороны выводов IP55
Виброустойчивость - исполнение N4 по ГОСТ 12997-84
Вид взрывозащиты - взрывонепроницаемая оболочка по ГОСТ 22782.6-81
Маркировка по взрывозащите 2ExdIICT6.
Материал защитной арматуры - сталь 12X18H10T
Изготовитель: Луцкий приборостроительный завод ПО Электротермия, г. Луцк, Украина.
В качестве элемента 3а выберем фотосигнализатор пламени.
Входной сигнал - низкочастотная пульсация света с длиной волны от1 до 3 мкм в диапазоне 6-12 Гц. Выходной сигнал - замыкание контактов реле контроля пламени.
ТУ 311.00225549.084-92.
ФСП 1.1 42.1878.
Изготовитель: Московский завод тепловой автоматики.
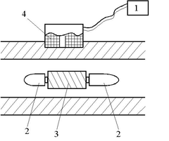
Турбинный расходомер состоит из 3-х основных элементов: турбинный первичный преобразователь расхода 3, вторичный преобразователь частоты вращения 4, регистрирующей измерительной системы 1, 2 - подшипник.
Турбинные приборы в качестве первичного преобразователя имеют как правило аксиальные трубки, оси которых совпадают с осью трубопровода, на имеют механической связи с каким-либо измерительным или счётным устройством, за счёт этого снижается погрешность измерения.
В качестве элемента 2а выберем расходомер фирмы Singer, модель 12 GT; эта модель имеет рабочее давление 10 МПа, расход 4250-415000 м3/ч, погрешность ±1.
Выбор регулятора
Исходными данными к расчёту регулятора являются статические и динамические параметры объекта, то есть коэффициент объекта Коб, чистое запаздывание
и постоянная времени
. Тип регулятора выбирают исходя из следующих рекомендаций:
-
релейный
-
непрерывный
- непрерывный
В нашем случае: τоб=10мин, Tоб= 1 час. Исходя из приведённых выше рекомендаций выбираем релейный регулятор.
U
1
0 t, оС
1400о С 1500о С
Рис. 4. Релейная характеристика регулятора 1в.
Вид релейной характеристики (рис. 4) обусловлен принципом работы САР нагрева купола в режиме нагрева воздухонагревателя. При сгорании газо-воздушной смеси происходит нагрев купола (нижняя ветвь характеристики); когда его температура достигает значения 1500 оС (максимальная температура нагрева купола воздухонагревателя составляет 1550 оС) регулятор подаёт сигнал на включение вентилятора, который увеличивает подачу воздуха (в результате снижается температура продуктов сгорания, а теплопередача от газов к насадке воздухонагревателя увеличивается, так как возрастает их количество и скорость движения по каналам насадки) и температура купола начинает снижаться. Когда снижение температуры достигает значения в 1400о С, регулятор посылает сигнал на выключение вентилятора. В результате этого температура купола снова начинает увеличиваться, так как избытка воздуха уже нет (увеличивается температура продуктов сгорания, а теплопередача от газов к насадке воздухонагревателя уменьшается).
Аналогично поступаем и с регулятором 2г. Его характеристика имеет такой же вид, как у 3-х позиционного реле.
Регулятор выдаёт сигнал однооборотному запорному механизму на закрытие заслонки газопровода при увеличении температуры отработанного газа свыше 400 оС, т. е. когда насадка воздухонагревателя нагрелась. При температуре газа ниже 200 оС регулятор выдаёт сигнал на открытие заслонки - происходит процесс нагрева насадки. Регулятор при регулировании расхода газа должен работать согласно с системой переключения режимов работы воздухонагревателя.
В качестве регулятора выберем программируемый контроллер SIMATIC S7-200, CPU 222 Программируемые контроллеры SIMATIC S7-200 предназначены для построения систем автоматического управления и регулирования, как отдельных машин, так и отдельных частей производственного процесса.
Контроллеры находят применение для управления:
-
прессами;
-
смесителями пластификатора и цемента;
-
насосными и вентиляторами;
-
деревообрабатывающим оборудованием;
-
воротами и дверями;
-
гидравлическими подъемниками;
-
конвейерами;
-
оборудованием пищевой промышленности;
-
лабораторным оборудованием;
-
обменом данными через модем;
-
электротехническим оборудованием и аппаратурой;
На их основе могут создаваться эффективные управляющие устройства, отличающиеся относительно невысокой стоимостью SIMATIC S7-200 позволяют решать широкий спектр задач управления. От замены простых релейно-контактных схем до построения автономных систем управления или создания интеллектуальных устройств систем распределенного ввода-вывода. Программируемые контроллеры S7-200 находят применение там, где основным требованием к системе управления является ее низкая стоимость. Их основные достоинства:
-
Программируемые контроллеры, отличающиеся максимумом эффективности при минимуме затрат.
-
Простота монтажа, программирования и обслуживания.
-
Решение как простых, так и комплексных задач автоматизации.
-
Возможность применения в виде автономных систем или в качестве интеллектуальных ведомых устройств систем распределенного ввода-вывода.
-
Возможность использования в сферах, где применение контроллеров раньше считалось экономически нецелесообразным.
-
Работа в реальном масштабе времени и мощные коммуникационные возможности (PPI, PROFIBUS-DP, AS интерфейс).
-
Компактные размеры, возможность установки в ограниченных объемах
Основные характеристики S7-200:
1). Простота освоения, подкрепляемая наличием специальных стартовых пакетов и технической документации.
2). Простота использования: интуитивно понятный мощный набор инструкций, дружественное программное обеспечение.
3). Работа в реальном масштабе времени.
4). Мощные коммуникационные возможности: работа в сетях PROFIBUS-DP и AS интерфейсе, связь по PPI и MPI, использование свободно программируемых протоколов.
Семейство SIMATIC S7-200 включает в свой состав:
-
4 типа центральных процессоров различной производительности;
-
15 типов модулей ввода-вывода дискретных и аналоговых сигналов;
-
2 коммуникационных процессора для подключения к сетям PROFIBUS и AS-Interface.
Механические характеристики
-
Компактный пластиковый корпус.
-
Простой вариант подключения внешних соединений. Защита всех токоведущих частей пластиковыми крышками.
В качестве центрального процессора контроллера выберем CPU 222 - компактный программируемый процессор с 14 встроенными дискретными входами - выходами и возможностью подключения до 2 модулей расширения.
Технические данные программируемого контроллера SIMATIC S7-200, CPU 222 приведены в приложении I. Модификации процессора CPU 222 приведены в таблице 1.
Таблица 1
| Модификации | ||||
| Модификация | Напряжение питания | Входное напряжение | Выходное напряжение | Выходной ток |
| выходы постоянного тока | 24В, постоянное | 24В, постоянное | 24В, постоянное | 0.75 A, транзистор |
| релейные выходы | 85 … 264В, переменное | 24В, постоянное | 24В, постоянное 24…230В, переменное | 2 A, реле |
Для построения систем человеко-машинного интерфейса программируемых контроллеров S7-200 воспользуемся текстовым дисплеем TD 200.
Текстовый дисплей TD 200 является наиболее удобным средством для создания интерфейса оператора с программируемым контроллером SIMATIC S7-200. Дисплей соединяется с контроллером соединительным кабелем, входящим в его комплект поставки, по PPI интерфейсу и не требует использования дополнительного источника питания. TD 200 может быть использован для решения следующих задач: а) отображение сообщений; б) изменение параметров настройки программы; в) ручной запуск и остановка машин и механизмов. Он обладает следующими достоинствами:
1). Удобство пользования.
2). Оперативное управление и мониторинг: отображение текстовых сообщений, изменение параметров настройки системы, установка входов и выходов.
3). Непосредственное подключение к интерфейсу центрального процессора с помощью входящего в комплект поставки кабеля или включение в PPI сеть.
4). Отсутствие необходимости в использовании отдельного блока питания.
5). Настройка параметров из STEP 7 Micro/WIN без использования дополнительного программного обеспечения.
6). Возможность изготовления фронтальной панели с учетом пожеланий заказчика.
7). Выполнение операций адресации и настройки с помощью системы меню.
Параметры настройки текстового дисплея TD 200 сохраняются в памяти центрального процессора программируемого контроллера S7-200. Необходимые части текстовых сообщений и параметры настройки текстового дисплея формируются инструментальными средствами пакета STEP 7-Micro/WIN. Дополнительного программного обеспечения для этих целей не требуется.
В памяти центрального процессора программируемого контроллера S7-200 резервируется специальная область для хранения данных, используемых для организации связи с текстовым дисплеем TD 200. При выполнении функций человеко-машинного интерфейса TD 200 осуществляет непосредственное обращение к этой области памяти центрального процессора.
Для определения параметров настройки текстового дисплея TD 200 используется специальный мастер, встроенный в среду STEP 7-Micro/WIN.
TD 200 выполняет следующие функции:
-
Вывод текстовых сообщений: до 80 текстовых сообщений, содержащих до 4 переменных, поддержка кириллицы. Вывод сообщений с подтверждением их получения или сообщений, защищенных паролем. Сохранение текстов сообщений на различных языках в памяти дисплея.
-
Отображение и модификация текущих параметров: текущие значения технологических параметров могут отображаться на дисплее и модифицироваться с помощью его клавиш. Например, модификации могут подвергаться заданные значения регулируемой температуры, скорости и т.д.
-
Установка состояний входов и выходов с помощью 8 программируемых клавиш: может использоваться для выполнения пуско-наладочных работ, а также реализации операций ручного управления.
Дополнительные функции и характеристики: выполнение операций с плавающей запятой, отображение специальных символов и гистограмм, использование различных блоков данных для подключения к одному центральному процессору нескольких текстовых дисплеев TD 200, использование парольной защиты для доступа к меню, использование различных типов переменных.
TD 200 имеет следующие конструктивные особенности:
-
Пластиковый корпус со степенью защиты лицевой панели IP 65.
-
Толщина корпуса 27мм: возможность установки в шкафы и пульты управления, а также использования в качестве ручной панели.
-
LCD дисплей с внутренней светодиодной подсветкой.
-
Эргономический дизайн клавиш, возможность программного определения их назначения.
-
Встроенный интерфейс для подключения соединительного кабеля.
Технические данные текстового дисплея TD 200 приведены в таблице 2.
















