11 (682880), страница 13
Текст из файла (страница 13)
Дифференциальный метод обработки аналитического сигнала - метод производной - основан на измерении первой или второй производной от меняющегося по гармоническому закону сигнала приемника. Такая методика обработки аналитического сигнала позволяет выделять слабые линии поглощения на сильном фоне и тем самым улучшать аналитические характеристики метода за счет увеличения отношения полезного сигнала к шуму. Так, в работе [7] показаны сравнительные возможности различных методик обработки регистрируемого сигнала: большие концентрации определяли методом прямого детектирования, средние по первой, а малые до 10-7-10-8% (мол.) по второй производным.
Интегральный метод обработки аналитического сигнала метод учета мешающих наложений основан на исследовании характера и интенсивности спектров поглощения анализируемых газов в некоторой области длин волн и учете их взаимных наложений. Такая методика обработки сигналов весьма трудоемка и практически невозможна без применения ЭВМ. Наиболее простой способ при анализе сложных технологических газов, где наложения учитывали путем решения системы уравнений, характеризующих вклад в поглощение на трех регистрируемых длинах волн от основных компонентов газовой смеси.
Рассмотренные нами методы обработки регистрируемого сигнала, наряду с прямым детектированием изменения интенсивности зондирующего излучения, прошедшего поглощающую газовую среду, широко используют в различных схемах абсорбционных газоанализаторов.
Аппаратура
Важнейшие элементы абсорбционных газоанализаторов это источники и приемники зондирующего излучения; их мы и рассмотрим наиболее подробно. Оптические схемы газоанализаторов довольно просты и мы остановимся лишь на общем описании некоторых из них.
Источники зондирующего излучения
Для решения разнообразных задач в абсорбционных газоанализаторах используют различные источники зондирующего излучения: газоразрядные, тепловые, когерентные. По характеру излучения их можно разделить на источники сплошного, линейчатого и монохроматического излучения в УФ-, видимом и ИК- спектральном диапазонах.
Тепловые источники характеризуются сплошным спектром излучения в ИК диапазоне, высокой стабильностью излучаемой мощности, малым потреблением энергии и большими сроками эксплуатации. Используют несколько разновидностей таких источников:
глобар, представляющий собой стержень из карбида кремния; рабочая температура ≈1300 К;
штифт Нернста, представляющий собой стержень, содержа-* щий смесь оксидов циркония, тория, иттрия; обычная рабочая температура ≈1700 К;
лампы накаливания с вольфрамовой или нихромовой спиралью, нагретой до 1000-1100 К, излучающие в видимой и ближней ИК-областях спектра .
Газоразрядные источники характеризуются линейчатым спектром излучения в УФ-, видимом и ближнем ИК-диапазоне длин волн, а также сплошным спектром в УФ-области спектра. К источникам этого типа относятся:
водородные или дейтериевые лампы, представляющие собой стеклянные колбы с кварцевыми окошками, заполненные газом при давлении в несколько сотен Па; лампы являются источниками сплошного спектра в видимой и УФ (до200 нм)-областях спектра;
высокочастотные безэлектродные лампы, заполненные инертным газом при давлениях в несколько сотых долей Па и веществом-источником атомных паров; лампы являются источниками линейчатого спектра излучения в видимой и УФ-области;
ртутные газоразрядные лампы низкого, высокого или сверхвысокого давления, представляющие собой кварцевые трубки с впаянными электродами и заполненные аргоном и ртутью;
лампы являются источниками линейчатого спектра излучения наиболее интенсивные линии которого имеют длины волн: 253,7; 313; 314; 365,5; 404,7; 435,8; 546,1; 577 и 579,1 нм ;
лампы с полным катодом , являющиеся источниками линейчатого спектра излучения, характер которого определяется элементами, входящими в состав катода или напыленного на его поверхность материала; атомы, образовавшиеся при испарении материала нагретого катода или вследствие распыления его поверхностных слоев под воздействием ионной бомбардировки, возбуждаются в тлеющем разряде постоянного тока в буферном газе; эти лампы используют при анализе воздуха на содержание металлических примесей в виде металлоорганических соединений, аэрозолей и паров (например ртути).
Монохроматические источники - оптические квантовые генераторы, излучающие отдельные линии в видимой и ИК- областях спектра в режиме импульсной или непрерывной генерации. Источники такого типа позволяют перестраивать частоту излучения либо непрерывно в некотором диапазоне длин волн, либо дискретно на нескольких фиксированных частотах:
газоразрядный СО-лазер с генерацией излучения в области 5-6 мкм мощностью несколько мВт ;
газоразрядный He-Ne-лазер с генерацией излучения, перестраиваемого дискретно на длинах волн 3,39; 4,22; 5,4 мкм, мощностью 0,5-5 мВт ;
лазеры на красителе (ЛК), излучающие на длинах волн от 0,4 до 0,6 мкм ;
светодиоды на основе твердых растворов полупроводниковых соединений типа InGaAs и InAsSbP, излучающие в диапазоне 2,6-4,7 мкм;, мощность непрерывного излучения порядка сотен мкВт, а импульсного-нескольких мВт ;
полупроводниковые диодные лазеры типа PbS1-xSex и Pb1-xSnxSe, генерирующие в диапазоне 3-30 мкм; лазеры обеспечивают непрерывную перестройку узкой линии генерации (
) 3a счет изменения тока питания и температуры полупроводникового элемента в диапазоне до 1000см-1 .
В заключение упомянем о специфическом источнике излучения - СВЧ- генераторе (клистроне) с частотой 10-25 ГГц, используемом в некоторых газоаналитических задачах .
Таким образом, применяемые в абсорбционных газоанализаторах источники зондирующего излучения охватывают широкую область спектра. Наиболее перспективно с нашей точки зрения применение диодных полупроводниковых лазеров, позволяющих сканировать узкую линию излучения в сравнительно большом диапазоне длин волн и генерирующих в области спектра, перекрывающей колебательно-вращательные полосы поглощения большинства газообразных молекул. Эти характеристики источника зондирующего излучения обеспечивают хорошую основу для достижения высокой селективности и универсальности газоаналитических методик.
Приемники излучения
Используемые в абсорбционных газоанализаторах приемники лучистой энергии можно разделить на две группы: тепловые и фотоэлектрические.
Тепловые приемники служат для детектирования излучения в ИК-области спектра (< 30 мкм). К этой группе приемников относятся термоэлементы, представляющие собой биметаллические устройства, при нагревании которых возникает э. д. с., пропорциональная температуре нагрева, а также болометры, представляющие собой сопротивления с большим температурным коэффициентом сопротивления. Тепловые приемники малоэффективны при измерении малых изменений мощности зондирующего излучения и обладают относительно большой инерционностью. В качестве положительных свойств можно указать на слабую зависимость чувствительности от длины волны регистрируемого излучения в рабочем диапазоне и удобство в эксплуатации.
Фотоэлектрические приемники используют для детектирования излучения в УФ-, видимой и ИК- (до 14 мкм) областях спектра. Эту группу приемников можно разделить на фотоэлементы с внешним и внутренним фотоэффектом.
Первые обычно служат приемниками излучения в УФ- и видимой областях спектра. Принцип действия таких детекторов, называемых фотоэлектронными умножителями (ФЭУ), основан на эмиссии с фотокатода электронов, приобретающих от фотонов энергию, превышающую работу выхода c поверхности фотокатода. Образовавшиеся электроны ускоряются в электрическом поле и множатся на системе электродов - ускоряющих динодах. Сигнал ФЭУ, таким образом, пропорционален интенсивности излучения попадающего на фотокатод приемника. Наиболее широкое распространение получили ФЭУ с Sb-Cs-фотокатодом с максимальной чувствительностью в области от 160 до 650 нм; с мультищелочным фотокатодом - от 400 до 870 нм; с Ag - Cs- фотокатодом - от 400 до 1300 нм. Постоянная времени ФЭУ составляет ≈10-8-10-10 с, чувствительность ≈10-14Вт.
Фотоэлектрические приемники с внутренним фотоэффектом обычно используют для регистрации излучения в ИК-области спектра. Принцип действия рассматриваемых детекторов основан на способности полупроводниковых элементов изменять свою проводимость при поглощении фотонов. В качестве таких приемников используют, например, PbS- фотосопротивления с чувствительностью в области <4 мкм или InSb с чувствительностью в области <7,5 мкм, работающие как при комнатной (293 К), так и при пониженных (273 К) температурах. В более широком спектральном диапазоне (<14мкм) могут работать детекторы типа PbSnTe или HgCdTe, но только при криогенных ( ≈77 К) температурах.
Таким образом, применяемые в абсорбционных газоанализаторах приемники зондирующего излучения охватывают широкую область спектра-от 0,2 до 30 мкм. Следует отметить, что все рассмотренные приемники являются неселективными и за исключением тепловых обладают заметной зависимостью чувствительности от длины волны регистрируемого излучения.
Схемы абсорбционных газоанализаторов
Простейшая схема абсорбционного газоанализатора включает:
источник зондирующего излучения;
оптическую систему формирования пучка излучения;
кювету с анализируемой газовой смесью;
систему фильтров или монохроматор для выделения нужной области спектра излучения;
приемник излучения;
блок формирования и обработки сигнала.
Мы рассмотрели различные способы формирования аналитического сигнала с использованием различных коррелирующих элементов, помещаемых за абсорбционной кюветой перед приемником излучения. Кюветы с анализируемой газовой смесью имеют размеры от 1 до 500 см и часто конструируются таким образом, что обеспечивают многократное прохождение зондирующего излучения через анализируемый газ. За счет этого удается значительно увеличить толщину поглощающего слоя (например, до 720 м ).
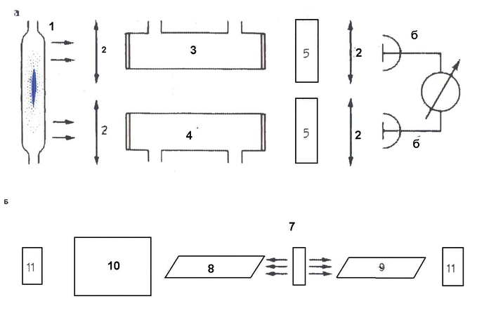
Чаще всего для решения различных газоаналитических задач используют дифференциальную схему, оптическая часть которой содержит два канала с рабочей и опорной (сравнительной) кюветами. Принципиальная схема газоанализатора представлена на рис. 18, а. Принципиальный вариант газоанализатора с лазерными источниками излучения приведен на рис. 18.б. Излучение с про- тивоположных граней кристалла полупроводникового лазера 7 проходит через рабочую кювету с анализируемым газом 8, опорную кювету 9 с газом известного состава и регистрируется фотоприемниками П. Диспергирующий элемент 10, в качестве которого используется монохроматор, служит для селекции мод лазера и выделения определенных участков спектра излучения. Нами кратко рассмотрены лишь основные принципиальные схемы абсорбционных газоанализаторов. В разд. VI.3 при описании различных газоаналитических методик уделяется внимание и некоторым особенностям аппаратурных схем анализаторов.
Рис. 18 Схема дифференциального абсорбционного газоанализатора с газоразрядным (тепловым) (а) и лазерным (б) источникам! зондирующего излучения:
1-газоразрядный или тепловой источник зондирующего излучения; 2-оптическая система формирования пучков излучения; 3, 5-рабочие кюветы; 4, 9-опорные кюветы; 5~фильтры; (5-приемники излучения; 7-полупроводниковый лазер; 10~диспергирующий элемент; 77-фото-приемники
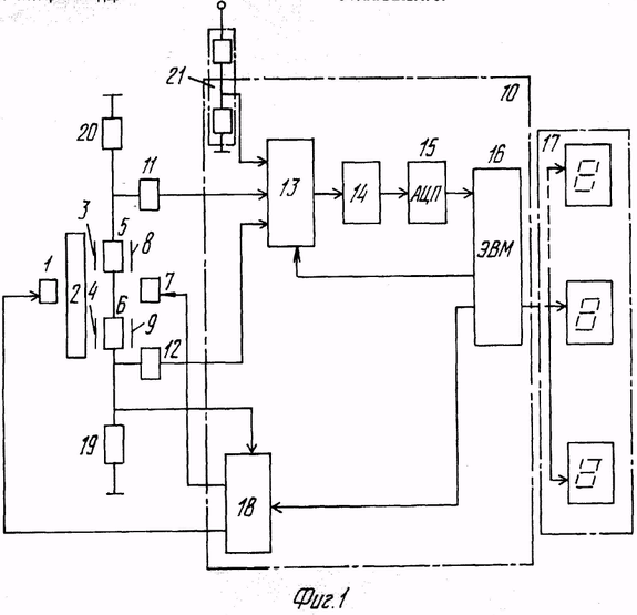
На фиг. 1 представлена функциональная схема предлагаемого оптического абсорбционного газоанализатора; на фиг. 2 - блок-схема реализованного оптического преобразователя газоанализатора.
Газоанализатор, согласно фиг. 1, содержит первый измерительный источник 1 электромагнитного излучения, расположенные по ходу излучения кювету 2, первый и третий оптические фильтры 3 и 4, расположенные соответственно перед измерительным и опорным фотоприемниками 5 и б, второй - эталонный источник 7 электромагнитного излучения установлен вне газовой кюветы 2 с противоположной стороны фотоприемников 5 и 6 со вторым и четвертым оптическими фильтрами 8 и 9 соответственно и оптически с ними сопряжен, блок 10 обработки сигналов, первый вход которого соединен через первый разделительный усилитель 11с выходом измерительного фотоприемника 5, а второй вход соединен через разделительный усилитель 12 с выходом опорного фотоприемника б, содержит последовательно соединенные коммутатор 13 входных импульсов, усилитель 14, аналого-цифровой преобразователь 15 и микроЭВМ 16, выход которой соединен с блоком 17 регистрации, первый управляющий выход микроЭВМ 16 соединен с управляющим входом коммутатора 13, первый и второй входы которого являются первым и вторым входами блока 10 обработки сигналов соответственно, второй управляющий выход микроЭВМ 16 соединен с управляющим входом схемы 18 управления токами источников электромагнитного излучения, второй вход которой соединен с выходом опорного фотоприемника 6, и одновременно с опорным резистором 19, второй вывод которого соединен с общим проводом прибора, первый и
второй выходы схемы 18 управления подключены к источникам 1 и 7 электромагнитного излучения соответственно. Кроме того, последовательно с измерительным фотоприемником 5 соединено сопротивлением 20 нагрузки, второй вывод которого соединен с общим проводом, к коммутатору 13 подключен датчик 21 контроля температуры.[8]
Кроме того, в газоанализаторе, согласно фиг. 2, газовая кювета 2 выполнена в виде полости, например в форме цилиндра, фокусирующим элементом которой является ее внутренняя поверхность со светоотражающим покрытием, на входном и выходном торцах кюветы 2 установлены оптические окна 22 и 23 соответственно, на наружной поверхности полости кюветы 2 установлены штуцер 24 для ввода газовой смеси и штуцер 25 для вывода газовой смеси.
Измерительный источник 1 электромагнитного излучения установлен непосредственно перед оптическим окном 21 кюветы 2, за оптическим окном 22 которой установлены оптически с ней сопряженные фотоприемники 5 и б с соответствующими им оптическими фильтрами 3,8 и 4,9, которые, в свою очередь оптически сопряжены с эталонным источником 7 электромагнитного излучения, установленным вне газовой кюветы 2 с противоположной стороны от фотоприемников 5 и б с фильтрами 8,9.
4>















