150775 (621409), страница 2
Текст из файла (страница 2)
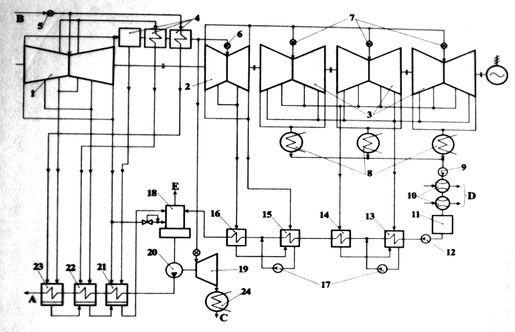
Проточная часть ЦНД и в значительной степени вся его конструкция унифицированы с ЦНД турбины К-500-60/1500. Каждый из потоков имеет пять ступеней. Последняя ступень имеет средний диаметр 4150 мм, длину рабочей лопатки 1450 мм. Корпус ЦНД выполнен одностенным ввиду сравнительно небольшого давления на входе (примерно 0,35 МПа).Принципиальная тепловая схема установки показана на рис.1.
Рис. 1. Принципиальная тепловая схема турбоустановки с турбиной К-1000-60/1500-1 ПО " Турбоатом "
А - питательная вода к ПГ; В - острый пар из ПГ; С - слив конденсата из конденсатора ТППН в основной конденсатор; D - конденсат от эжекторов в основной конденсатор; Е - выпар деаэратора; 1 -ЦВД 2 - ЦСД; 3 - ЦНД; 4 -СПП; 5 - СРК; 6,7 - ОЗ; 8 - основной конденсатор; 9 - КН1; 10 - эжекторы; 11-БОУ; 12-КН2; 13-16 - ПНД; 17-ДНІ,2; 18 - деаэратор; 19-ТППН; 20 - ПН; 21-23 - ПВД; 24- конденсатор приводной турбины.
СОСТАВЛЕНИЕ РАСЧЕТНОЙ ТЕПЛОВОЙ СХЕМЫ
Тепловая схема турбоустановки это технологическая схема, в состав которой входит все технологическое оборудование и элементы турбоустановки, включая паропроводы, трубопроводы конденсатно-питательного тракта и трубопроводы обвязки с соответствующей арматурой. Изображение элементов тепловой схемы и их связи выполняют в соответствии с нормативными требованиями, обязательными к использованию в нормативно-технической, конструкторской, технологической и другой технической документации, а также в учебных процессах всех учебных заведений, в учебниках и учебных пособиях. Условные графические изображения реакторов, оборудования первого контура, турбин и турбинного оборудования в соответствии с ГОСТ 21.403-80.
Различают три способа изображения тепловой схемы турбоустановок, в том числе и турбоустановок АЭС, которые при этом называют полной (развернутой), принципиальной и расчетной соответственно.
Принципиальная тепловая схема ТУ АЭС характеризует сущность и совершенство основного технологического процесса АЭС – процесса преобразования теплоты рабочего тела, полученной от теплоносителя, в электроэнергию и теплоту, отпускаемую потребителям.
Принципиальная тепловая схема включает основное и вспомогательное тепломеханическое оборудование технологического цикла: парогенераторы, паровые турбины, регенеративные подогреватели питательной воды, подогреватели сетевой воды, насосы различного назначения (питательные, конденсатные, дренажные, сетевые и др.), испарительную установку, деаэраторы и т.п.
При составлении принципиальной тепловой схемы учитываются возможные режимы работы. Расчет принципиальной тепловой схемы производят с целью определения параметров и величины потоков рабочего тела (пара, основного конденсата и питательной воды) в различных участках технологического цикла, а также мощности и показателей тепловой экономичности.
На принципиальной схеме указывается все основное оборудование, логически связанное технологическим циклом электростанции, конечной продукцией которого является электроэнергия (электроэнергия и теплота). Обычно на этой схеме указывают лишь основное оборудование (и связи между ним), без которого осуществление технологического цикла ТУ невозможно; при этом на схеме могут отсутствовать оборудование и потоки, обеспечивающие длительную, безаварийную эксплуатацию, в том числе в переходных режимах (резервное оборудование, трубопроводы и т.п.). Однотипное оборудование и агрегаты также изображаются один раз.
Расчетная тепловая схема составляется на основе принципиальной. На расчетной схеме изображаются то оборудование и те потоки, где теплоноситель или рабочее тело изменяют свое термодинамическое состояние, что должно быть учтено при расчете основных технико-экономических показателей ТУ АЭС. На этой схеме могут отсутствовать оборудование и многочисленные потоки, имеющие принципиальное значение для работы турбоустановки, но не влияющие на расчет технико-экономических показателей (например, конденсатоочистка, баки сбора дренажей, расширители продувок и т.п.). Независимо от числа основных и вспомогательных однотипных агрегатов на расчетной схеме они изображаются один раз, но со всеми последовательно включенными элементами.
Полная (развернутая) схема ТУ АЭС составляется для блока в целом и включает в себя полный состав оборудования, включая резервное, и все существующие на электростанции связи между ним, включая байпасные, сбросные, перепускные и другие линии. Показывают все корпуса турбин, причем изображают оба потока для обычно применяемых двухпоточных цилиндров. На трубопроводах и агрегатах указывают всю арматуру.
В курсовом и дипломном проектах студенты при расчете показателей тепловой экономичности ТУ АЭС используют расчетную схему и изображают ее в расчетно-пояснительной записке.
В графической части курсового и дипломного проектов необходимо разработать такую схему проектируемой ТУ АЭС, которая представляла бы достаточно полный набор оборудования, его связей, потоков теплоносителя и рабочего тела для обеспечения длительной безаварийной эксплуатации, в том числе в переходных режимах. Этим требованиям удовлетворяет полная (развернутая) схема ТУ АЭС, но на разработку такой схемы требуется много времени, что не укладывается в рамки курсового и дипломного проектирования.
Удовлетворить предъявляемым требованиям может рабочая схема ТУ АЭС (используется только для учебных целей), на которой изображается все основное оборудование и все связи между ним по номенклатуре в объеме полной (развернутой) схемы, но без резервного (дублирующего) оборудования, пусковых, байпасных и резервных линий и т.п.
Расчетная тепловая схема составляется на основании стандартной (заводской) схемы турбоустановки и должна содержать все рассчитываемые элементы: подогреватели, охладители, сепараторы, смесители, расширители, испарители, насосы, турбопривод, внешние потребители теплоты, и соединяющие их коммуникации.
Нумерацию регенеративных подогревателей обычно выполняют арабскими цифрами по ходу основного конденсата и питательной воды. Отборы пара из отсеков турбины обозначаются обычно римскими цифрами по ходу потока пара в турбине.
ОПРЕЛЕЛЕНИЕ ПАРАМЕТРОВ РАБОЧЕГО ТЕЛА В УЗЛОВЫХ ТОЧКАХ ТЕПЛОВОЙ СХЕМЫ
Для расчета тепловой схемы ТУ необходимо знать параметры (давление, температуру и энтальпию) греющего пара отборов непосредственно на входе в регенеративные подогреватели, дренажей конденсата греющего пара, нагреваемой среды (основного конденсата, питательной воды и перегреваемого пара в СПП).
Определение параметров греющего пара.
Значения давлений пара в камерах отборов Т, работающей на номинальной нагрузке в проектном расчете, определяются по соответствующим температурам ОК и ПВ на выходе из ПНД и ПВД.
Относительная величина потерь давления на тракте отборного пара от главной турбины до соответствующего регенеративного подогревателя может быть оценена по формуле
Рi (11 – i)/100, (1)
где i – номер регенеративного подогревателя по ходу основного конденсата и питательной воды, исключая деаэратор, в котором давление обычно бывает задано.
Р1 =0.1
Р2 =0.09
Р3 =0.08
Р4 =0.07
Р5 =0.06
Р6 =0.05
Р7 =0.04
Тогда давление пара в соответствующих отборах, если известна температура (давление) греющего пара в подогревателях, можно определить по формуле
Pi отб = Рi(1 – Рi)–1 (2)
В проектных расчетах распределение подогрева ОК и ПВ между регенеративными подогревателями принимается равномерным.
Когда известны температура конденсата на выходе из конденсатора и температура питательной воды, то при Z регенеративных подогревателях, подогрев в каждом из них принимается одинаковым. Тогда
hв = (hпв – h’k)/(Z+1) (3)
Такое распределение близко к оптимальному, но позволяет использовать для всех подогревателей одно и то же оборудование.
При равномерном регенеративном подогреве в каждом из них температура воды повышается на 15 – 30 С.
Для рассмотренного примера ТУ К-1000-60/1500-2 известно, что tпв = 225 С и pПВ=6.27 МПа, чему соответствует hПВ= f(pПВ, tПВ)=967,74 кДж/кг .
При Рк = 0,045 МПа – h'К=f(pк,x=0)= 129,98 кДж/кг и tК=ts=f(pк)= 31,01 °С.
Температура основного конденcата на входе ПНД 1 принимается на 2...3°С выще температуры в канденcаторе:
tоквхПНД=tк+3=34 °С
При 7 регенеративных подогревателях по (3)
hв = 104,72 кДж/кг., что соответствует примерно δt=Δhв/cpв=104,72/4,19=24,99 °С нагрева в каждом регенеративном подогревателе принимаем
ΔtПНД=30 °С
ΔtПВД=17 °С
Давление в деаэраторе по [4]: pД= 0,689 МПа
tsД= ts=f(pД)= 164 °С
Температура основного конденцата на входе деаэратора принимается на 10...15°С ниже температуры в деаэраторе:
tоквхД=tsД-10=164-10= 154 °С
Если известен подогрев воды в каждом подогревателе и минимальный температурный напор на выходе из него, то легко определяется температура греющего пара в каждом регенеративном подогревателе, и, соответственно, давление греющего пара в нем.
Зная давление греющего пара в регенеративных подогревателях, с помощью соотношения (2) можно определить давления пара в камерах отбора турбоагрегата
Таблица 1.
Таблица расчета давлений пара в камерах отбора турбины
| Параметр | ПВД | Д | ПНД | ||||||||
| П7 | П6 | П5 | П4 | П3 | П2 | П1 | |||||
| tввх, С | 198 | 181 | 164 | 154 | 124 | 94 | 64 | 34 | |||
| tввых,С | 215 | 198 | 181 | 164.31 | 154 | 124 | 94 | 64 | |||
| | 7 | 7 | 7 | 4 | 4 | 4 | 4 | ||||
| | 222 | 205 | 188 | 158 | 128 | 98 | 68 | ||||
| pгр.пар, МПа | 2.409 | 1.724 | 1.201 | 0.587 | 0.254 | 0.094 | 0.029 | ||||
| pотб, МПа | 2.506 | 1.810 | 1.273 | 0.628 | 0.275 | 0.103 | 0.031 | ||||
Давление в деаэраторе постоянное и поддерживается оно специальным регулятором давления. Поэтому давление в отборе для питания греющим паром деаэратор должно быть выше, чем давление в деаэраторе. Причем, это превышение должно компенсировать не только гидравлическое сопротивление тракта от турбины до деаэратора, но и возможные колебания давления в камере отбора турбины, связанные с изменениями нагрузки. Обычно деаэратор использует греющий пар следующего за ним подогревателя высокого давления.
Температура конденсата греющего пара в подогревателях, где не предусмотрено охлаждение конденсата, равна температуре насыщения при давлении в подогревателе. Температура конденсата греющего пара в подогревателях с охлаждением дренажа принимается примерно такой же, как температура насыщения в предыдущем по ходу воды подогревателе.
ПОСТРОЕНИЕ ПРОЦЕССА РАСШИРЕНИЯ ПАРА В ГЛАВНОЙ ТУРБИНЕ И В ПРИВОДНОЙ ТУРБИНЕ ПИТАТЕЛЬНОГО НАСОСА В H,S – ДИАГРАММЕ
Расчет тепловых схем ТУ АЭС основан на уравнениях тепловых балансов, материальных балансов рабочего тела, а также на уравнениях для определения давлений потоков в узловых точках схемы.
При проектном расчете тепловой схемы на номинальной нагрузке потери давлений в ее элементах, а также в трубопроводах обвязки принимаются по приближенным значениям или по данным эксплуатации аналогичных ТУ.
Условный процесс расширения пара в турбине строится с использованием значений внутренних относительных КПД цилиндров турбины по состоянию перед их соплами. Основные характеристики турбин АЭС, в т.ч. и внутренние относительные КПД цилиндров по данным заводов–изготовителей приведены в [2].
Методика построения процесса расширения пара в турбине на номинальной нагрузке приведена в [1, 2, 4]. Для выбранной ТУ из [2, 3, 4] определяются значения внутренних относительных КПД для всех цилиндров основной турбины и турбопривода питательного насоса (ТПН) (оi).
Построение процесса расширения пара в ЦВД.
















