148429 (594498), страница 7
Текст из файла (страница 7)
С – кількість робітників, які одночасно працюють на даному виді обладнання;
зоб – коефіцієнт використання обладнання за часом (для верстатів зоб = 0,75…0,8 для зварювального і ковальського обладнання зоб = 0,85…0,9, для нагрівальних печей зоб = 0,60…0,75).
Інше основне обладнання вибирають за каталогами [1, 11] і складають відомість (табл. 1.13), до складу якої входить все технологічне і допоміжне обладнання.
Таблиця 1.13. Відомість обладнання поста діагностики та ТО
| № | Назва, обладнання, шифр, марка | Кількість | Габаритні розміри, мм | Площа, яку займає обладнання, м2 | Потужність електродвигунів, кВт | |
| одиниця | всього | |||||
| 1 | 2 | 3 | 4 | 5 | 6 | 7 |
| 1 | Пульт управління стендом | 1 | 500х500 | 0,25 | 0,25 | 0,5 |
| 2 | Стенд для комплексної перевірки автомобіля К-622 | 1 | 1500х2500 | 3,75 | 3,75 | |
| 3 | Пересувний стенд для перевірки електрообладнання автомобілів | 1 | 500х500 | 0,25 | 0,25 | |
| 4 | Бак для палива | 1 | 200х400 | 0,08 | 0,08 | |
| 5 | Пристрій для заміру витрат палива | 1 | 200х400 | 0,08 | 0,08 | |
| 6 | Реостат управління стендом | 1 | 1100х400 | 1,44 | 1,44 | |
| 7 | Стіл діагноста | 1 | 2000х1000 | 2,0 | 2,0 | |
| 8 | Світлове табло | 1 | - | - | - | |
| 9 | Стелаж для інструмента | 1 | 1500х400 | 0,6 | 0,6 | |
| 10 | Шафа для приладів | 1 | 1400х600 | 0,84 | 0,84 | |
| 11 | Інструментальна тумбочка | 1 | 400х500 | 0,2 | 0,2 | |
| 12 | Верстак слюсарний | 1 | 1800х1200 | 1,96 | 1,96 | |
| 13 | Канавний підйомник | 1 | - | - | - | |
| 14 | Верстат свердлильний настільний | 1 | 800х600 | 0,48 | 0,48 | 0,8 |
| 15 | Рейковий ручний прес | 1 | 800х600 | 0,48 | 0,48 | |
| 16 | Комплект інструменту слюсаря ремонтника | 1 | 600х600 | 0,36 | 0,36 | |
| 17 | Установка для промивання двигуна | 1 | 600х600 | 0,36 | 0,36 | |
| 18 | Шафа для ручного механізованого інструменту | 1 | 1000х400 | 0,4 | 0,4 | |
В результаті розрахунків ми одержали значення трудомісткості робіт по централізованому ТО маршрутних транспортних засобів 10627,05 люд.-год, для чого необхідно організувати на базі філії «Темп-Авто» один пост ТО суміщений з проведенням діагностичних робіт.
2. Конструкторська частина
2.1 Класифікація різьбозгвинчуючого обладнання
До нашого часу ще не склалась кінцева термінологія в назвах обладнання для розбирання і збирання різьбових з’єднань (РЗ). Деякі вчені називають його різьбовідгвинчуючим (різьборозгвинчуючим) і різьбозагвинчуючим, інші – різьбовідверчуючим або різьбозатягуючим (різьбозаверчуючим). На наш погляд, найбільш оптимальна назва запропонована проф. Д.Н. Решетовим – різьбозгвинчуюче обладнання, так як цей термін поєднує як обладнання для розбирання, так і обладнання для збирання РЗ.
Процес розбирання РЗ в багатьох випадках являється важковиконуваним або взагалі неможливим в зв’язку з корозійним впливом навколишнього середовища на машини, що експлуатуються. Це ускладнює використання спеціалізованих технологічних засобів і виникає необхідність застосування газового або електричного різання з послідуючою заміною пошкоджених деталей.
В наш час в нових автомобілях в більшості застосовуються РЗ з антикорозійними покриттями (гальванічними, полімерними і іншими). Це дає можливість в більших масштабах використовувати при ремонтних розбирально-збиральних роботах різьбозгвинчуюче обладнання з базуванням або кантуванням об’єктів ремонту.
Розглядуване обладнання класифікується на стаціонарне (з блоковими силовими головками) і переносне (механізований інструмент) з електричним, пневматичним і гідравлічним приводом. Основним елементом робочих органів обладнання являється шпиндель – вал, який передає обертання від двигуна до гайкового ключа або головки (патрона) для утримання шпильок і гвинтів.
В зв’язку з цим по числу робочих органів і призначенню обладнання поділяється на одно- і багатошпиндельні гайковерти, шпильковерти і гвинтоверти [1]. На рис. 1.1. показана класифікація існуючого на даний час різьбозгвинчуючого обладнання.
Рис. 2.1. Класифікація різьбозгвинчуючого обладнання
2.2 Багатошпиндельне різьбозгвинчуюче обладнання
Застосування багатошпиндельного різьбозгвинчуючого обладнання обумовлюється перш за все вимогами підвищення продуктивності праці, точності затягування і рівномірністю розподілу навантаження на різьбові з’єднання. На складальних операціях приміняють як підвісні багатошпиндельні установки, так і стаціонарні багатошпиндельні різьбозгвинчуючі станки. З допомогою підвісних установок здійснюється тільки загвинчування наживленого кріплення, а на станках проводиться автоматична подача, наживлення і затягування кріплення. Станки можуть вбудовуватися в автоматичні лінії або використовуватися як окреме складальне обладнання.
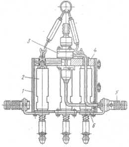
Рис. 2.2. Типова підвісна пневматична різьбозагвичуюча машина
Багатошпиндельні підвісні різьбозагвинчуючі установки поділяють по типу приводу на пневматичні, електричні і гідравлічні. Підвісна чотирьохшпиндельна установка для затягування гайок складається з силових пневматичних головок 2, закріплених на передній плиті 6. В задній плиті 4 виконані отвори для подачі стисненого повітря до кожної головки від пускового клапана 3. Клапан керується пусковою рукояткою 5. Ззовні головки закриті кожухом 1, який з внутрішньої сторони покритий гумою. Відпрацьоване повітря виходить через отвір в передній плиті, закритий пористим матеріалом.
Регулювання крутного моменту силових головок здійснюється за рахунок зміни тиску стисненого повітря. Крім того, в задній частині силових головок наявні дроселі, з допомогою яких можна досягти однакової кутової швидкості шпинделів.
Розглянемо конструкцію одношвидкісного силового пневматичного шпинделя (головки). В корпусі з фланцем змонтовані два планетарні редуктори і ротаційний пневмодвигун. Ключові насадки чи патрони для загвинчування шпильок кріпляться на квадратному хвостовику, який виступає із підпружиненої шліцевої втулки. Для регулювання моменту затягування передбачений дросель. Для підготовки стисненого повітря до роботи пневматичні багатошпиндельні установки обладнуються спеціальними панелями, розміщеними стаціонарно неподалік від установок, на яких встановлені регулятор тиску, вологовідділювач і маслорозпилювач.
Електричні підвісні багатошпиндельні установки компонуються на базі електричних силових головок. Конструктивно вони виконуються так само, як і пневматичні установки. Двигуни живляться від мережі з частотою струму 200 Гц і напругою 36 В. В ланцюгу живлення кожного двигуна встановлене реле максимальної сили струму, що відключає двигун при зростанні сили струму в обмотці статора в процесі затягування. Сила струму, при якій проходить вимикання двигуна, можна регулювати і тим самим регулювати момент затягування різьбових з’єднань. Більш високу стабільність затягування з застосуванням струмових реле можна отримати на податливих різьбових з’єднаннях, коли зростання моменту проходить з меншою швидкістю.
В машинобудуванні широке застосування знаходять двохшвидкісні електричні головки. В роз’ємний корпус вмонтовані високочастотний асинхронний трьохфазний електродвигун з короткозамкнутим ротором і два планетарних редуктори. На кінці водила редуктора знаходиться кулачкова півмуфта, профіль кулачка якої виконаний у вигляді рівнобедреної перерізаної трапеції. З півмуфтою під дією пружини зчеплена інша півмуфта, з’єднана з шпинделем шліцами, передає шпинделю швидкі оберти від водила. Ведена півмуфта має можливість переміщуватися в осьовому напрямку і проковзувати по кулачках ведучої півмуфти, коли шпиндель навантажується до крутного моменту, на який відрегульована пружина. Одночасно водило третього редуктора має торцьові пилкоподібні зубці і є ведучою півмуфтою обгінної муфти, обертається на малих обертах і зчіплюючись під дією пружини з веденою півмуфтою надітою на зовнішні шліци шпинделя, передає йому малі оберти. Півмуфта переміщується в осьовому напрямку.
Таким чином, при відсутності навантаження на шпинделі обертання з водила другого редуктора через кулачкову муфту передається на шпиндель, і він, обертаючись на великих обертах, загвинчує різьбове з’єднання. В момент затягування різьбового з'єднання крутний момент на шпинделі збільшується, при цьому кулачкова півмуфта проковзує по зубцях ведучої півмуфти, входить в зачеплення півмуфта з півмуфтою водила і проходить подальше затягування різьбового з’єднання на малих обертах з підвищеним крутним моментом. Коли крутний момент досягає заданого моменту затягування реле максимального струму вимикає електродвигун.
В деяких складальних виробництвах отримують розповсюдження гідрогвинтові гайковерти (показаний на листі). Двигун такого гайковерта виконаний в вигляді трьох стальних гвинтів, які приводить в рух мастило під тиском 60–70 кгс/см2. Через редуктор обертання передається на шпиндель.
До переваг гідрогвинтових гайковертів слід віднести високий крутний момент на одиницю маси; високий (біля 60%) ККД; менші, чим у пневматичних інструментів, габаритні розміри; велика зносостійкість деталей в зв’язку з їх мащенням; можливість точного регулювання крутного моменту; безшумність в роботі; менші експлуатаційні затрати.
Гідрогвинтові гайковерти будуть в ряді випадків більш зручнішими для вмонтовування в гайко- і гвинтозагвинчуючі агрегати автоматичних складальних машин і ліній.
В конструкціях багатошпиндельних різьбозагвинчуючих станків, як і в підвісних багатошпиндельних установках, багатошпиндельний блок може компонуватися на базі таких самих пневматичних, електричних і гідравлічних силових головок, які приміняються в підвісних установках.
















