148429 (594498), страница 11
Текст из файла (страница 11)
У залежності від технології проведення діагностику поділяють на стендову і ходову, застосовують головним чином стендову. Для ходової діагностики на автомобіль установлюють прилади на час випробувань, наприклад, мірний бачок при перевірці витрати палива автомобілем. Більш прогресивної є ходова діагностика за допомогою вбудованих приладів, що дозволяють у будь-який момент перевірити стан агрегату (за прикладом покажчика температури води, тиску масла і кількості палива в баці).
Застосування засобів діагностики знижує витрати на технічне обслуговування і поточний ремонт на 5%, витрата запасних деталей і матеріалів – на 10%, палива і шин – на 20%. Строк окупності засобів діагностики у великому (500–600 автомобілів) автотранспортному підприємстві біля року.
Для створення приладів, за допомогою яких можна визначити технічний стан агрегату без розбирання, необхідно, насамперед, установити діагностуючий симптом, що характеризував би технічний стан об'єкта, зміну в структурі об'єкта.
Технічний стан автомобіля характеризують структурні параметри (зазори, міжцентрові відстані, прогини, зсуви, лінійні розміри, стан поверхонь деталей, що сполучаються, і т.д.). Взаємодія автомобіля з зовнішнім середовищем (дорожні, кліматичні й ін. умови) змінюють його технічний стан. Зміна структурних параметрів агрегатів автомобіля має визначені закономірності, не вивчені в повному обсязі.
При роботі складних динамічних систем відбуваються різного роду фізичні, механічні, хімічні й інші процеси. Параметри цих процесів називають вихідними, вони змінюються зі зміною структурних параметрів. Вихідні процеси залежать від зовнішніх умов, технічного стану об'єкта (внутрішніх умов). При діагностуванні приймають зовнішні умови строго фіксованими, і тоді зміна вихідних процесів визначається тільки зміною структурних параметрів об'єкта.
Про зміну технічного стану вузла можна судити по безпосередній ознаці (наприклад, розбраковування деталей за результатами їхніх вимірів); по сукупності непрямих ознак (наприклад, оцінка стану газорозподільного механізму по стуках і вібраціях). При відомому чіткому взаємозв'язку структурних і вихідних параметрів об'єкта у визначених умовах останні можна приймати за непрямі ознаки або симптоми несправного технічного стану вузла (агрегату) без його розбирання, тому що вихідні процеси і відповідні їм вихідні параметри можна спостерігати і вимірювати ззовні. Щоб параметр вихідного процесу міг стати діагностичним симптомом, він повинний бути однозначним, зі строгою залежністю структурного параметра і параметра вихідного процесу; із широким полем зміни, коли відносна зміна параметра вихідного процесу набагато більше зміни структурного параметра; зручним для виміру.
Діагностичні симптоми по ступені їхньої взаємозалежності поділяють на незалежні і залежні. Незалежні вказують на конкретну несправність (виміром величини прогину труби карданного вала безпосередньо визначають несправність). Ці симптоми ще називають частковими, вони вказують на цілком конкретну несправність вузла або механізму. Наприклад, знос гальмових накладок колеса визначають по гальмовому шляху колеса або гальмовому зусиллю на цьому колесі і по величині вільного ходу педалі. Визначити знос накладок тільки по величині гальмового шляху неможливо. До складу симптомів комплексних входять часто загальні, що характеризують технічний стан об'єкта в цілому, наприклад, величина потужності двигуна, витрата палива, сумарний окружний люфт деталей трансмісії, загальний рівень шуму агрегату, величина гальмового шляху, тиску масла в магістралі й ін.
Необхідні глибокі дослідження несправних станів вузлів і агрегатів автомобіля і супутніх їм вихідних процесів і їхніх параметрів, що могли б служити симптомами несправностей. Для цього варто вивчити характерні процеси, що супроводжують роботу спряження, що знаходиться в справному або несправному станах (шум, вібрація, стукіт, коливання тиску й ін.), виконати аналіз параметрів цих процесів з погляду відповідності вимогам до діагностичних симптомів, досліджувати закономірності зміни параметрів, що супроводжують вихідні процеси від пробігу вузла або агрегату, установити припустимі і граничні значення цих параметрів для різних умов експлуатації, розробити ефективні методи і швидкодіючу апаратуру для фіксації діагностичних симптомів. При оптимальному діагностуванні будь-яку несправність об'єкта діагностики можна знайти по найменшому числу симптомів, отже, застосовувати мала кількість приладів і датчиків і звести до мінімуму трудомісткість діагностування, досліджувати і розробити точні методи прогнозування з метою встановлення ресурсу безвідмовної роботи вузла, агрегату, автомобіля в цілому.
Як діагностуючі симптоми застосовують різні параметри, у тому числі:
-
величину відносного зсуву сполучених деталей (окружні люфти в агрегатах трансмісії, зазори між торцями коромисла або штовхальника і клапана, між шворнем і втулкою, у підшипниках коліс, пробуксовка зчеплення);
-
швидкість і температуру нагрівання сполучень (якість регулювання підшипників вала, гальм і ін.);
-
герметичність робочих об’ємів (тиск у шинах, витік повітря з камери згоряння двигуна, течі, підтікання й ін.);
-
вміст домішок в маслі, склад і концентрацію компонентів у відпрацьованих газах двигуна;
-
потужнісні, економічні показники і т.д.
Перед виміром перерахованих параметрів оцінку технічного стану вузла, агрегату роблять візуальним контролем. Упровадження технічної діагностики, інструментальної перевірки не заміняє операції технічного контролю, суб'єктивної оцінки стану механізму при перевірці виконання обсягу і якості технічного обслуговування і поточного ремонту.
При діагностиці складних механізмів необхідно спочатку виміряти параметри, що характеризують агрегат у цілому, а потім переходити до діагностики елементів механізму. Зміна технічного стану вузла, агрегату автомобіля попередньо можна оцінити в кількісній формі на основі системного підходу до автомобіля, по зносі, наприклад, протектора шин, зубчастих передач, шлицевих з'єднань, хрестовин і т.д.
При діагностиці двигуна оцінюють його працездатність по мощностним і економічних показниках. З цією метою вимірюють силу тяги або потужність, витрата палива при заданому навантаженні і швидкості руху. Потужність можна виміряти по інтенсивності розгону автомобіля при повному відкритті дроселя.
Про технічний стан автомобіля судять і по величині механічних втрат в агрегатах трансмісії, за результатами зовнішнього огляду. Чим більше механічні втрати, тим менше накат. Накат автомобіля визначають по шляху, пройденому автомобілем з поставленим у нейтральне положення на швидкості 30 км/год важелем коробки передач. На стенді за допомогою електродвигуна можна вимірити і коефіцієнт корисної дії трансмісії автомобіля. При нейтральному положенні важеля коробки передач включають електродвигуни навантажувального пристрою стенда і вимірюють величину моменту, що крутить, необхідного для привода трансмісії.
3.2 Прогнозування пробігу автомобіля до технічного обслуговування і ПР його агрегатів
Прогнозування потреби якого-небудь агрегату в ремонті дозволяє ще до настання відмови виконати регулювальні роботи, підготувати деталі для поточного ремонту і виконати поточний ремонт при оптимальному пробігу. Прогнозувати потреба агрегату в поточному ремонті можна по економічному або технічному критеріях, а також по зміні технічного стану даного агрегату.
Прогнозуванням технічного стану спряження називають науково обґрунтоване визначення з відомою імовірністю пробігу, після закінчення якого діагностичний параметр або експлуатаційний показник досягне заданого значення. Для прогнозування зміни технічного стану вузла або агрегату необхідно знати закономірність зміни критерію стану в залежності від пробігу автомобіля і результати діагностування при різних пробігах конкретного вузла або агрегату.
Оскільки причиною зміни технічного стану вузлів автомобіля є знос сполучень, те і прогнозувати варто був б знос сполучень. Практично таке прогнозування можливе для шин і тих вузлів, у яких вимір зазору в сполученнях можна виконати порівняно просто і з високою точністю. Зазор, люфт у сполученнях досить просто можна вимірити в системі керування, наприклад, кермового колеса, у редукторі заднього моста, між зубами шестірень коробки передач, у карданних шарнірах, у шліцевих з'єднаннях і т.д.
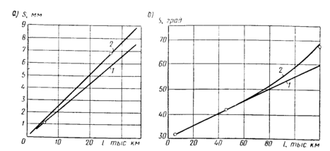
Прогнозування зносу спряжень і деталей у процесі експлуатації автомобіля можна робити по зносі шин, (рис. 3.1), де приведені дані по зносі протектора шини автомобіля в залежності від пробігу. Глибина канавки нового протектора 10 мм; після пробігу 5,5 тис км. вона стала 8,8 мм, знос склав 1,2 мм. При такій інтенсивності зношування протектора пробіг автомобіля до повного його зносу складе значно більше 40 тис. км – крива 1. За результатами другого виміру можна скорегувати пробіг автомобіля до зняття покришки в ремонт для накладення нового протектора (крива 2), він трохи менше 40 тис. км. Помилка прогнозування величини пробігу шини до граничного стану може бути через те, що прийнято лінійну залежність замість експонентної.
Рис. 3.1. Зміна технічного стану вузлів у процесі експлуатації автомобіля: а – знос S протектора шипи автомобіля у залежності від пробігу l за результатами двох вимірів: 1 – першого; 2 – другого; б – зміна зазору (люфту) S у редукторі автомобіля у залежності від пробігу l: 1 – лінійна залежність; 2 – експонентна залежність
Приведений графічний спосіб прогнозування є найпростішим, його цілком можна застосовувати при лінійній закономірності зносу або зміни іншого критерію технічного стану вузла в залежності від пробігу автомобіля. Аналогічно можна прогнозувати знос гальмових накладок.
Знос інших спряжень деталей, зміна більшості експлуатаційних показників має більш складну закономірність.
Прогнозувати технічний стан деяких агрегатів, вузлів і спряжень можна тільки за експлуатаційними показниками, тому що виміряти зазори, люфти без розбирання вузла неможливо. Так, технічний стан сполучення кільце – канавка поршня двигуна внутрішнього згоряння можна оцінити по витраті масла на угар, сполучення кільце – гільза – по витоку газу в картер, підшипників колінчатого вала і всієї сукупності сполучень двигуна внутрішнього згоряння, змащення яких проводиться під тиском, по зміні тиску в системі мащення.
Прогнозування потреби агрегату в поточному ремонті варто робити головним чином за економічним критерієм. Заміну агрегату, вузла, деталі роблять при мінімальних сумарних питомих витратах Са на придбання і на підтримку Спр працездатності:
Питомі витрати на придбання Са залежать від вартості агрегату Са і його пробігу l після установки:
Питомі витрати на підтримку працездатності Спр залежать від вартості
СД замінних детальний, вузлів, величини заробітної плати Сз робітником за установку, збитку Сп від простою автомобіля і пробігу l з початку експлуатації:
При розрахунку питомих витрат на підтримку працездатності при пробігу l автомобіля з початку експлуатації підсумовують вартість усіх замінених за цей час деталей, зарплату робітників за установку всіх цих деталей і збитки від простою автомобіля при заміні деталей, що відмовили, або вузлів. По питомих витратах визначають економічно обґрунтований пробіг автомобіля до заміни дорогої деталі, вузла, агрегату і постановки автомобіля в капітальний ремонт.
3.3 Планово-попереджувальна система технічного обслуговування і ремонту рухомого складу
Для підтримки рухомого складу автомобільного транспорту в технічно справному стані, необхідному для нормальної експлуатації, прийнята планово-попереджувальна система технічного обслуговування і ремонту.
Технічно справний стан рухомого складу досягається шляхом технічного обслуговування і ремонту.
Технічне обслуговування проводиться примусово в плановому порядку через визначені пробіги або час простою рухомого складу.
Ремонт призначений для відновлення і підтримки працездатності рухомого складу, усунення відмов і несправностей, що виникли при роботі або виявлених у процесі технічного обслуговування. Ремонтні роботи виконуються як по потребі (після появи відповідної відмови або несправності), так і за планом через визначений пробіг або час роботи рухомого складу – попереджувальний ремонт.
Технічне обслуговування і ремонт рухомого складу роблять з попереднім контролем або без нього. Основним методом проведення контрольних робіт є діагностика, що служить для визначення технічного стану автомобіля й агрегатів без розбирання.
Ціль діагностики при технічному обслуговуванні полягає у визначенні дійсної потреби в проведенні робіт, виконуваних при кожному обслуговуванні, і прогнозуванні моменту виникнення відмови або несправності.
Види технічного обслуговування і ремонту
Технічне обслуговування рухомого складу по періодичності, перелікові і трудомісткості виконуваних робіт поділяється на:
-
щоденне технічне обслуговування (ЩО);
-
перше технічне обслуговування (ТО-1);
-
друге технічне обслуговування (ТО-2);
-
сезонне технічне обслуговування (СО).
Щоденне обслуговування (ЩО) містить у собі: перевірку прибуваючих з лінії і рухомого складу, що випускається на лінію, зовнішній догляд за ним і заправні операції. Для перевірки рухомого складу в автотранспортному підприємстві створюється контрольно-технічний пункт (КТП) з оглядовою канавою і комплектом необхідних інструментів, пристосувань і устаткування.
При перевірці рухомого складу, що прибуває з лінії, установлюються: час прибуття, покази спідометра і залишок палива в баці автомобіля; комплектність рухомого складу; наявність несправностей, поломок, ушкоджень; потреба в поточному ремонті.
При випуску на лінію рухомого складу перевіряється його зовнішній вигляд, комплектність і технічний стан, а також виконання призначеного для нього напередодні обслуговування або ремонту (за даними зовнішнього огляду й облікової документації).
Перевірка проводиться по визначеному переліку операцій, що складається в автотранспортному підприємстві з урахуванням конструкції використовуваного рухомого складу й умов його експлуатації. Перелік повинний передбачати обов'язкову перевірку справності систем, агрегатів, вузлів і деталей рухомого складу, що впливають на безпеку руху, у тому числі рульового керування, гальм, підвіски, коліс і шин, кабіни, приладів зовнішнього освітлення, світлової і звукової сигналізації, склоочисників.
















