148180 (594469), страница 8
Текст из файла (страница 8)
Рис. 25. Некоторые уникальные идеи по применению датчиков MTS Temposonics: а— идеи по применению датчиков положения MTS в коробке передач; б— датчик серии C с гибким валом для криволинейных измерений; в— датчик серии C с поплавком для детектирования уровней жидкости
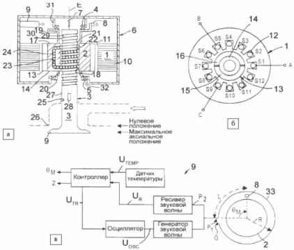
Рис. 26. Магнитостриктивный датчик положения клапана и/или ротора клапана двигателя внутреннего сгорания Ford Global Technologies: 1 — статор клапанной сборки; 2 — ротор; 3 — клапан; 4, 5 — подшипники; 6 — защитное ограждение; 7 — центрирующая пружина; 8 — вращающийся постоянный магнит для индикации углового положения ротора; 9 — магнитостриктивный датчик аксиального положения клапана 2 и/или углового положения ротора 1 электромеханической клапанной сборки; 10 — стек многослойного листового металла статора; 11 — центральное отверстие статора; 12 — обмотки статора; 13 — кольцевой магнит ротора; 14 — шаровая гайка; 15, 16 — сегменты магнита; 17 — цилиндрическая часть тела шаровой гайки; 18 — центральное отверстие шаровой гайки; 19, 20 — плечи для опоры; 21 — спиральная канавка цилиндрического тела; 22 — плоские участки — разделители спиральной канавки; 23 — возвратный канал для кольцевой прокатки примыкающих шаровых подшипников 24; 25 — апертура в головной части двигателя для установки клапанного штока; 26 — седло клапана; 27 — клапанный шток; 28 — антискручивающий волновод; 29 — спиральная канавка клапанного штока; 30 — плоские участки — разделители спиральной канавки клапанного штока; 31 — верхнее опорное плечо; 32 — отверстие для клапанного штока; E — ось вращения ротора (по часовой стрелке или против часовой стрелки); 33 — звуковой канал радиусом R; G — зазор в звуковом канале; θM — детектируемое угловое положение; L — соответствующая длина пути; UOSC, UTEMP, UTR, UR — сигналы напряжения; P1, P2 — точки схемы (с нулевой длиной проводника); Z — детектируемое аксиальное положение
Магнитоупругие датчики крутящего момента
Точное измерение крутящего момента — одна из важнейших задач в автомобильной электронике. Сферы применения включают контроль крутящего момента выходного вала двигателя, входного и выходного валов автоматической коробки передач, типичные задачи рулевого управления (рис. 91).
Рис. 27. Примеры применения магнитостриктивных датчиков крутящего момента в автоэлектронике: а–ж— магнитоупругие датчики крутящего момента Magnetoelastic Devices: а— классический вариант датчика: 1— датчик крутящего момента; 2— магнитоупругий преобразователь; 3— датчик магнитного поля (датчик Холла); 4— вал, соединяемый с детектируемым объектом; A— ось вращения; M— крутящий момент; Hост — круговое тангенциальное направление остаточного намагничивания; 5— проводные выводы датчика; б— выходная характеристика датчика Холла; в— спиральное намагничивание магнитоупругого кольца; г— версия с поляризованным магнитоупругим кольцом с двумя противоположно намагничиваемыми областями: 1— конструкция датчика; 2, 3— два противоположно поляризованных кольца; 4, 5— один или два датчика магнитного поля; 6— вал; 7— непрерывная поверхность материала колец; Mr1(+), Mr2(–) — остаточная намагниченность колец; д— версия с зубчатым кольцом, модулирующим магнитное поле для измерения скорости вращения: 6— модулирующее кольцо; е— типичный внешний вид сенсорного модуля датчика, установленного на валу; ж— применение датчика MDI для детектирования крутящего момента вала коробки передач; з— магнитостриктивный датчик крутящего момента в системе рулевого управления Suzuki: 1— цилиндрическое прямозубое колесо; 2— шестерня; 3— выходной рулевой вал, управляемый двигателем; 4, 5— подшипники; 6— рулевая колонка; 7— датчик крутящего момента; 8— вал датчика; 9— рулевой вал; 10 — соединительная часть рулевого вала с валом датчика; 11 — двигатель; 12 — соединительная часть вала рулевого управления; 13 — корпус датчика; 14, 15 — шпоночные соединения; 16 — кабельный соединитель датчика 7; 17 — люк рулевой колонки для вывода соединителя; 18 — пространство для установки датчика; и— магнитостриктивный датчик крутящего момента Aisin Seiki: 1— магнитостриктивное устройство; 2— группа обмоток; 3, 4— подшипники; 5— корпус; 6— печатная плата; 7— вал; 8, 9— участки с магнитной анизотропией; 10 — бобина; 11, 12 — возбуждающие обмотки; 13, 14 — детектирующие обмотки; 15, 16 — проводные выводы; 17 — терминалы печатной платы; к, л— магнитоупругий датчик крутящего момента Siemens VDO с низким гистерезисом, производимый методом термического распыления: к— конструкция датчика: 1— магнитоупругий элемент; 2— немагнитный вал; A— продольная ось вращения; л— внешний вид; м, н— магнитостриктивный датчик крутящего момента для автоматической коробки передач: 1— входной вал коробки передач; 2— магнитостриктивный датчик; 3— статор; 4— цилиндрическая часть статора для установки датчика; 5— гильза, удерживающая датчик крутящего момента в статоре; 6— канавка для проводных выводов датчика; 7— цилиндрический полый корпус датчика; 8, 9 — части корпуса для вывода и прохода проводов; 10, 11, 12 — детектирующие обмотки; 13 — сегментированный магнитостриктивный материал; 14, 15 — шарикоподшипники; 16 — проводные выводы; о— устройство электрического рулевого управления с механизмом детектирования крутящего момента Honda: 1— вращающийся вал, соединяемый с рулевым колесом; 2, 3, 4— нижняя, верхняя, средняя части вала, соответственно; 5, 6— магнитостриктивные мембраны; 7— механизм шестерен; 8— ведущая шестерня; 9— зубчатая рейка; 10 — вал рейки; 11 — первый подшипник; 12 — второй подшипник; 13, 15 — схемы возбуждения переменным напряжением магнитостриктивных мембран; 14, 16 — схемы детектирования; 17 — двигатель; 18 — ведущий вал; 19 — механизм редуктора; 20 — ведущий червяк; 21 — червячное колесо; 22 — корпус; 23, 24 — верхняя и нижняя части корпуса устройcтва, соответственно
Выделяется две категории датчиков крутящего момента:
-
деформируемые датчики (пьезорезистивные strain gauge, емкостные) — с требованием беспроводного трансмиттера сигнала и ограничениями в прочности2, повторямости и цене таких устройств;
-
недеформируемые датчики.
Помимо того датчики делятся на:
-
использующие электрические компоненты, закрепленные на валу (адгезивные, оптические, индуктивные), — более сложные и с ограничениями в прочности таких устройств,
-
датчики, которые обходятся без таких компонентов.
Еще одно классификационное деление:
-
датчики со стержнем кручения torsion bar, которые могут вычислять только дифференциальный или полудифференциальный угол закручивания одного вала относительно другого (оптические и индуктивные);
-
датчики, которые измеряют крутящий момент непосредственно (углы закручивания стальных валов очень малы — порядка 0,01°).
Магнитоупругие или магнитостриктивные преобразователи согласно всем классификациям относятся к датчикам второго типа.
Для создания магнитоупругих датчиков крутящего момента используется эффект Виллари — наведение изменений в магнитной проницаемости под действием момента, которые регистрируются бесконтактным датчиком магнитного поля, вырабатывающим пропорциональный моменту аналоговый сигнал.
Магнитостриктивный материал допускает высокую надежность и повторяемость измерения значения крутящего момента, поскольку магнитострикция — это свойство материала, которое не изменяется со временем.
Спектр разработок магнитостриктивных преобразователей проиллюстрирован рис. 28. Описания работы подобных устройств содержатся в патентной и технической литературе.
Типичный датчик крутящего момента показан на рис. 28а–в. В стандартной конфигурации используется поляризованное магнитоупругое кольцо, которое прочно прикрепляется к валу и намагничивается импульсным током через вал. Создается легкая ось намагниченности кольца в тангенциальном направлении.
В рабочих условиях под действием крутящего момента остаточная намагниченность в кольце переориентируется по спирали (рис. 28в), что создает магнитное поле, пропорциональное крутящему моменту. Величина и направление поля определяются бесконтактным магнитоуправляемым датчиком, линейный выходной сигнал которого обрабатывается в электронной схеме.
Для того чтобы избежать зависимости от магнитной проницаемости вала (зависимости от температурных эффектов, свойств материала, величины и частоты возбуждающего поля, а также поля Земли) и повысить чувствительность датчика, используется поляризованное кольцо с двумя областями с противоположными направлениями намагниченности, которые намагничиваются двумя идентичными постоянными магнитами при медленном вращении вала.
Чувствительность зависит от размера кольца и свойств материала. Насколько подходит конкретный материал для использования в датчиках крутящего момента — зависит от его насыщающей магнитострикции, определяемой как частичное изменение в длине при увеличении намагниченности до насыщающего значения. Наибольшее значение магнитострикция насыщения составляет для никеля (4×10–5).
Вперёд в будущее. Инновации сенсорных технологий в искровых
двигателях внутреннего сгорания
Автопроизводители и исследовательские институты разрабатывают новые процессы горения, которые комбинируют преимущества бензиновых и дизельных двигателей. Например, компании General Motors Corp., Robert Bosch Corp. и Стэнфордский университет сейчас занимаются разработкой технологии эффективного сгорания топлива Homogeneous Charge Compression Ignition (HCCI), которая обещает сделать бензиновые двигатели более эффективными (на 20%), с достижением близкой к нулю эмиссии NOx и снижением цены. Технология реализуется как в обычном, так и в гибридном варианте посредством однородного оптимального смешивания ТВС, сжатия и спонтанного воспламенения за счет повышения температуры (процесс, аналогичный тому, что происходит в дизеле).
Новые применения для датчиков связаны с мониторингом процесса горения непосредственно в цилиндрах (engine combustion sensors). Например, для осуществления замкнутого контроля Honeywell, SiemensVDO (рис. 4ш, щ), Dana предлагают датчики давления в цилиндрах. Датчик Incylinder Pressure Sensor Honeywell допускает различные варианты расположения — в соединителе свечи, головке цилиндров, инжекторе — и работает при высоких температурах (до 350 °C).
Износ двигателя, сбои инжекторов, сбои в зажигании, производственные допуски могут ухудшать характеристики горения и эмиссии. Контроль за работой двигателя может быть улучшен вычислениями, которые помогает сделать датчик, — оптимального крутящего момента, начала зажигания, пикового давления и других параметров.
Для того чтобы осуществлять интеллектуальное управление двигателем технология Dana предполагает интегрирование датчика давления и температуры непосредственно в прокладку.
Введение прямого мониторинга процессов сгорания в период с 2007 по 2012 год обещает исключить датчики детонации, массового расхода воздуха и распределительного вала.
Датчик распределительного вала может стать ненужным и несколько раньше. Новейшая технология Valeo для уменьшения потребления топлива и снижения эмиссии на 20% (рис. 14) использует технологию Smart Valve Actuation (SVA) вместо обычной механической активации клапанов двигателя тросом распределителя, распределительным валом и гидравликой толкателей кулачка.
В двигателе без распределителя каждый клапан активируется индивидуально по сигналам блока контроля клапанов (VCU) или ECU, гарантирующим оптимальную работу системы.
При контролировании содержания остаточных газов, минимизации потерь в насосах и деактивации цилиндров и клапанов достигается экономия топлива и уменьшение эмиссии на 20%. Массовое производство SVA запланировано в 2009 году.
Заключение
Потребность в сенсорных устройствах для новых двигателей и особенно для следующего поколения гибридов будет еще более высокой, чем для обычного автомобиля — необходима гарантия того, что все системы, включая электрический двигатель и ICE, работают согласованно в любой ситуации вождения.
Многие из альтернативных автомобилей пока существуют только как концептуальное решение, но ожидаемые новшества предваряют интенсивную разработку датчиков — например, массового расхода газового топлива, давления, эмиссии, состава природного газа (Natural-gas composition sensor) и многих других.
Таким образом, хотя сегмент автомобильных датчиков систем Powertrain и контроля эмиссии включает много устоявшихся решений, применяемых многие годы, инновации, особенно в области контроля эмиссии дизелей и датчиков для гибридов, создают большие рыночные возможности для осуществления и сбыта новых разработок на основе ИС, MEMS и мультисенсорной платформы.
В дальнейшем принципы конструирования новых датчиков более высокого уровня предполагают объединение технологий, поиск новых нестандартных решений.
Литература
-
Сысоева С. Автомобильные цифровые магнитоуправляемые датчики угловой скорости и углового положения зубчатого ротора // Электронные компоненты. 2004. № 3.
-
Бесконтактный датчик скорости автомобиля. Патент РФ № 35441 на полезную модель по заявке № 2003127267 от 08.09.2003, МПК G 01 P3/488, зарегистрировано в Госреестре полезных моделей РФ 10.01.2004/ И.С. Захаров, С.Ф. Яцун, С.С. Сысоева.
-
Бесконтактный датчик скорости автомобиля, встраиваемый в коробку передач. Патент РФ № 36894 на полезную модель по заявке №2003132947 от 11.11.2003, МПК G 01 P3/488, зарегистрировано в Госреестре ПМ РФ 27.03.2004/ И.С. Захаров, С.Ф. Яцун, С.С. Сысоева.
-
Бесконтактный датчик скорости автомобиля. Патент на изобретение № 2260188 по заявке №2004102133/28 (002114) от 26.01.2004. Зарегистрировано в Госреестре изобретений 10.09.2005. / И.С. Захаров, С.Ф. Яцун, С.С. Сысоева.
-
Бесконтактный датчик скорости автомобиля. Патент на изобретение № 2270452 по заявке на изобретение № 2004102306/28 от 26.01.2004. Зарегистрировано в Госреестре изобретений 20.02.2006. / И.С. Захаров, С.Ф. Яцун, С.С. Сысоева.
Особую благодарность за содержательные статьи автор выражает редакции журнала «Компоненты и технологии» в часности Светлане Сысоевой Сайт журнала www.kit-e.ru
Автор: Романов Сергей Иванович МГАУ гр. 11/А07
1 1 бар≈1 атм. = 105 кПа
2 1 атм.≈14,5 psi
















