147501 (594361), страница 6
Текст из файла (страница 6)
Рисунок 1.14 – Система холостого хода карбюратора ДААЗ-21081
Под воздействием разрежения в задроссельном пространстве топливо поступает по каналам 7, через топливный жиклер 4 электромагнитного клапана 3 и эмульсионный канал 2 и каналы 9 и 10 в главный воздушный канал 6. Винт 11 качества горючей смеси не подлежит регулировке в эксплуатации. Его регулируют на предприятиях-изготовителях или на специализированных станциях, а затем пломбируют. В эксплуатации в таких карбюраторах регулируют только минимальную частоту вращения коленчатого вала с помощью винта 1 упора дроссельной заслонки. Винт 1 не позволяет обогащать горючую смесь, поступающую в цилиндры двигателя. Система холостого хода карбюратора К-151 (Рисунок 1.15) содержит блок 1 с воздушным 3 и эмульсионным 2 жиклерами соответственно, эмульсионный канал 4, обводной канал 21, винты 22 и 13 качества горючей смеси, диффузор 17 обводного канала и винт 15 количества (эксплуатационной настройки).
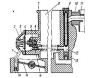
Рисунок 1.15 – Система холостого хода карбюратора К-151
СХХ тесно взаимодействует с ЭПХХ, содержащим блок 16 с винтом 15 и выходным отверстием 14, запорный элемент 12. Пневмоклапан имеет мембрану 9, нагруженную пружиной 10, и отверстие 11. ЭПК 6 через трубопровод 7 сообщен с задроссельным пространством 20 вторичной камеры и шланг 5 и трубку 8 с наддиафрагменной полостью пневмоклапана. Под действием разрежения при закрытой дроссельной заслонке 19 первичной камеры эмульсия поступает через обводной канал и его диффузор 17, отверстие 14 и выходит в задроссельное пространство первичной камеры. При открывании дроссельной заслонки 19 эмульсия из канала 4 через переходные отверстия 18 поступает в задроссельное пространство. Система холостого хода карбюратора К-156 снабжена дополнительной СХХ в дополнительной секции. Обе системы соединены с эмульсионным колодцем главной дозирующей системы. Топливные жиклеры выполнены в блоке с воздушными и представляют собой трубки с калиброванными отверстиями. Система XX имеет двойное эмульсирование, обеспечивающее улучшение смесеобразования и обеднение горючей смеси. В современных карбюраторах (К-88, К-126 и др.) система холостого хода работает не только в режиме холостого хода. Она играет важную роль в исправлении характеристики простейшего карбюратора на режимах средних нагрузок и полной мощности. Достигается это благодаря тому, что система холостого хода постепенно включается в работу главной дозирующей системы по мере открытия дроссельной заслонки. При этом расход топлива через систему уменьшается. На холостом ходу расход топлива, поступающего через систему холостого хода, составляет от 100 до 40% общего расхода топлива. С увеличением частоты вращения коленчатого вала основная масса топлива подается главным дозирующим устройством, а на долю системы холостого хода приходится не более 20%. При полностью открытой дроссельной заслонке система холостого хода подает по своим каналам воздух в главное дозирующее устройство. Благодаря такому влиянию системы холостого хода характеристика карбюратора приближается к требуемой, которая обеспечивает наиболее выгодные условия работы двигателя на всех режимах.
Обогатительные устройства карбюраторов Карбюраторы, имеющие главное дозирующее устройство с компенсацией смеси и систему холостого хода, обеспечивают экономичную и надежную работу двигателя на малых и средних нагрузках. Однако, чтобы обеспечить все режимы работы двигателя, карбюратор должен иметь обогатительные устройства. Такими устройствами в современных карбюраторах являются экономайзер, эконостат, ускорительный насос и пусковое обогатительное устройство.
1.2.5 Экономайзер мощностных режимов
Экономайзер служит для обогащения горючей смеси при полной нагрузке двигателя или при плавном разгоне. Чаще всего экономайзер работает совместно с главной дозирующей системой, увеличивая поступление топлива для смесеобразования. Дополнительное топливо подается в распылитель главного жиклера через специальный клапан с механическим или пневматическим приводом. Экономайзер с механическим приводом от дроссельной заслонки.
Рисунок 1.16 – Схема экономайзера с механическим приводом: 1— поплавковая камера; 2 — планка привода клапана экономайзера; 3— толкатель клапана экономайзера; 4— дроссельная заслонка; 5 — рычаг дроссельной заслонки; 6 — жиклер экономайзера; 7 — шток привода клапана экономайзера; 8 — клапан экономайзера.
Рисунок 1.17 – Экономайзер с механическим (а) и пневматическим (б) приводами
Экономайзер обеспечивает обогащение горючей смеси при нагрузках, близких к полной, при резком открытии дросселя. Конструктивно экономайзеры могут быть выполнены с механическим, пневматическим или инерционным приводом. Экономайзер с механическим приводом (Рисунок 1.17, а) кинематически связан с дроссельной заслонкой 1 и содержит подпружиненный шток 5 привода, клапан б с пружиной 7, топливный канал 8, топливный жиклер 4 и распылитель 3, выходящий в главный воздушный канал 2. При полном открывании дроссельной заслонки шток 5 воздействует на клапан б, и топливо под действием разрежения через канал 8, топливный жиклер 4 и распылитель 3 поступает в главный воздушный канал карбюратора.
Для упрощения конструкции привод экономайзера и ускорительного насоса объединены. По этой схеме выполнены карбюратор К-126П, -126Н, -133М и -126ГМ производства ОАО "ПеКАР". Экономайзеры с пневматическим приводом реализованы в карбюраторах производства ДААЗ (Рисунок 1.17, б). Он содержит мембрану со штоком 5, надмембранную полость 3 с пружиной 4, подмембранную полость, сообщенную через канал 8 с распылителем карбюратора и через центральный канал с поплавковой камерой 7. Надмембранная полость 3 через канал 2 в крышке 6 и корпусе I карбюратора сообщена с задроссельным пространством. По мере открытия дроссельной заслонки разрежение в задроссельном пространстве уменьшается. Мембрана под действием пружины перемещается вправо и открывает центральный канал, перекрываемый запорным элементом 10.
Топливо из поплавковой камеры 7 поступает в подмембранную полость и по каналу 8 и 9 к распылителю. Экономайзер, включенный в ГДС, содержит корпус, крышку, запорный элемент, нагруженный пружиной, соединительный канал, топливный жиклер и эмульсионный колодец, с воздушным и топливным жиклерами. При закрытой дроссельной заслонке разрежение из задроссельного пространства передается по каналу в наддиафрагменную полость, сжимает пружину и удерживает клапан в закрытом положении. При снижении разрежения под действием пружины клапан открывается. Топливо из поплавковой камеры поступает в главный воздушный канал. Применение дополнительного воздушного канала обеспечивает улучшение эмульсирования топлива в ГДС.
Рисунок 1.18 – Экономайзер мощностных режимов карбюраторов ВАЗ-2108 и –21081
Экономайзер карбюраторов ДААЗ-2108, -21081 для двигателей автомобилей ВАЗ-2108, -2109 и ЗАЗ-1102 (рис. 18) представляет собой отдельную дозирующую систему, подключенную параллельно ГТЖ первичной камеры непосредственно к поплавковой камере 8 через клапан 5 с запорным элементом (шариком) и каналом 6. Основным узлом экономайзера рабочих режимов является мембрана 4 с толкателем, взаимодействующая с шариковым клапаном. Мембрана 4 нагружена пружиной 2. Надмембранная полость 3 сообщена с задроссельным пространством при помощи канала 1, заканчивающегося демпфирующим жиклером 76, предназначенным для сглаживания пульсаций разрежения и размещенным в выемке выходящей к стенке первичной камеры у края привалочного фланца.
Подмембранная полость, выполненная в корпусе 7 карбюратора, через топливный жиклер 14 подключена к главной дозирующей системе, содержащей топливный жиклер 13, эмульсионный колодец 12 с трубкой, воздушный жиклер 9 и распылитель 11 в малом диффузоре 10. При больших открытиях дроссельной заслонки 15 под действием пружины мембрана 4 с толкателем воздействует на шарик и открывает доступ топлива через канал 6 в подмембранную полость, а затем и в эмульсионный колодец 12. Запорный элемент (шарик) при работающем двигателе с закрытой дроссельной заслонкой удерживается в закрытом положении под действием пружины. В этом случае разрежение из задроссельного пространства не передается по каналу в надмембранную полость.
На режимах XX и малых нагрузок разрежение над мембраной 11 достаточно велико, что обеспечивает преодоление усилия надмембранной пружины и удаление толкателя от запорного шарикового клапана. При полной нагрузке разрежение в надмембранной полости не обеспечивает удержание мембраны. Запорный элемент под действием пружины мембраны через толкатель открывает запорный клапан. Пружина перемещает мембрану 4. Топливо из поплавковой камеры поступает по каналу и через открытый канал заполняет подмембранную полость. Затем под действием разрежения топливо через жиклер экономайзера поступает в эмульсионный колодец параллельно топливному потоку, проходящему через ГТЖ, к распылителю и в главный воздушный канал, обогащая горючую смесь.
Порог срабатывания клапана выбирают таким образом, чтобы его открытие происходило при достижении более низких величин разрежений за дросселем. Топливный клапан экономайзера начинает открываться, когда дроссельная заслонка второй камеры и разрежение составляют примерно 16,0 кПа (120 мм рт. ст.). Расход топлива через экономайзер 0,6—0,8 кг/ч.
В экономайзере применяют топливный жиклер с маркировкой 40 и демпфирующий жиклер 16 с маркировкой 30. Экономайзер с пневматическим приводом реализован преимущественно в карбюраторах производства ДААЗ. Применение экономайзера сопровождается ступенчатым протеканием нагрузочной характеристики.
Применение экономайзера с механическим или пневматическим приводом сопровождается ступенчатым протеканием нагрузочной характеристики, что ведет к повышенному расходу топлива и ВВ. В некоторых конструкциях, например в карбюраторе ДААЗ-1111-1107010 автомобиля ВАЗ-1111 "Ока", применяют одновременно эконостат с пневматическим приводом и инерционный экономайзер (Рисунок 1.19).
Рисунок 1.19 – Эконостат карбюратора ВАЗ-1111
Устройство содержит трубку 3, сообщенную с поплавковой камерой ниже уровня топлива, и распылитель эконостата 2, размещенный перед малым диффузором вторичной камеры. Эконостат обогащает горючую смесь второй камеры на режимах, близких к максимальным, при полностью открытых дроссельных заслонках.
Инерционный экономайзер содержит трубку 4, размещенную в поплавковой камере над уровнем топлива, и распылитель 7 с косым срезом, размещенный в малом диффузоре. Распылитель выполнен в виде прямоугольной щели высотой 4,0 и 5,25 мм и шириной 2,4 мм соответственно в первой и второй камерах карбюратора. Площади прямоугольных щелей эквивалентны площади круга диаметром 3,5 и 4,0 мм, которые приняты в качестве маркировки распылителей 3,5 и 4,0. Данный экономайзер обеспечивает обогащение горючей смеси при движении автомобиля на подъеме, при резких ускорениях, а также для обеспечения устойчивой работы двигателя на левом вираже автомобиля.
Применение экономайзера с механическим или пневматическим приводом сопровождается ступенчатым протеканием нагрузочной характеристики, что ведет к повышенному расходу топлива и выбросу вредных веществ. В двухкамерных карбюраторах с последовательным открыванием дроссельных заслонок очень часто подобный экономайзер не применяют. В этом случае его функции выполняет вторичная камера, отрегулированная на обогащенную горючую смесь, а первичная — на обедненную. В таких карбюраторах обогащение происходит не при полном открывании дроссельной заслонки вторичной камеры, а в момент вступления ее в работу карбюратора. Подобная конструкция обеспечивает снижение расхода топлива в эксплуатации, поскольку карбюратор преимущественно работает в первичной камере.
1.2.6 Экономайзер принудительного холостого хода
Режим ПХХ представляет собой вынужденное вращение коленчатого вала двигателя при движении автомобиля по инерции с отпущенной педалью управления дросселем и выключенной передачей. ЭПХХ обеспечивает отключение подачи топлива через систему холостого хода во время движения автомобиля под уклон, во время торможения автомобиля двигателем, при переключении передач, а также при остановке двигателя.
Порог срабатывания ЭПХХ является одним из важнейших его параметров, характеризуемых величиной открытия дросселя и частотой вращения коленчатого вала, сущность установления которого заключается в следующем. Во время режима ПХХ впускной тракт очищается от ТП. В этом случае цилиндры остывают, а топливо в каналах XX отсутствует. Если нажать на педаль управления дроссельной заслонкой и открыть клапан ЭПХХ, то в каналах автономной СХХ и в ВТ новый поток эмульсии образует ТП, поступающие в цилиндры двигателя с некоторой задержкой.
На восстановление нормальной топливоподачи необходимо определенное время, поэтому подачу топлива необходимо возобновить до снижения частоты вращения коленчатого вала выше минимально устойчивой. Частоту вращения, при которой происходит включение АСХХ, называют порогом срабатывания. При разомкнутой трансмиссии его целесообразно выбирать высоким, а при замкнутой — низким. Различают два типа ЭПХХ: с электронной системой, устанавливаемой на карбюраторах "Солекс" мод. 2108, и электронно-пневматической системой, устанавливаемой практически на всех моделях карбюраторов легковых автомобилей. Этими системами оснащены карбюраторы типа "Озон" моделей ВАЗ-2105, -2107, К-151 для двигателей; ЗМЗ-402,10, -4021.10, карбюраторы ДААЗ-2140, -2141 для автомобилей "Москвич"; карбюратор К-133 для двигателя МеМЗ-245.














